LUBRICATION SYSTEM


  1. CONSTRUCTION


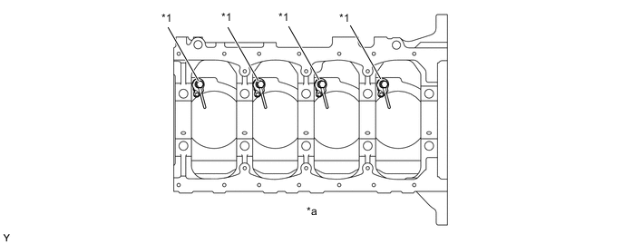
    1. Piston oil jets (No. 1 oil nozzle sub-assemblies) for cooling and lubricating the pistons have been provided in the cylinder block.

      B002ND3C01
      *1 Piston Oil Jet (No. 1 Oil Nozzle Sub-assembly) - -
      *a View from Bottom Side - -