FOUR WHEEL DRIVE CONTROL SYSTEM


  1. CONSTRUCTION


    1. The A.D.D. actuator (differential motor actuator assembly) contains an A.D.D. shift motor, limit switch and A.D.D. position switch.

    2. The limit switch has 2 contact point switches (DL1 and DL2). Different combinations of the 2 contact point switches and A.D.D. position switch (ADD) allow detection of the A.D.D. state (lock or free).

      B002MTBC01
      *1 Limit Switch *2 A.D.D. Position Switch
      *3 A.D.D. Shift Motor - -

      Figure 1. Combinations of Limit Switch and A.D.D. Position Switch

      B002NBBE01
  2. OPERATION


    1. Transfer Mode H2 to H4


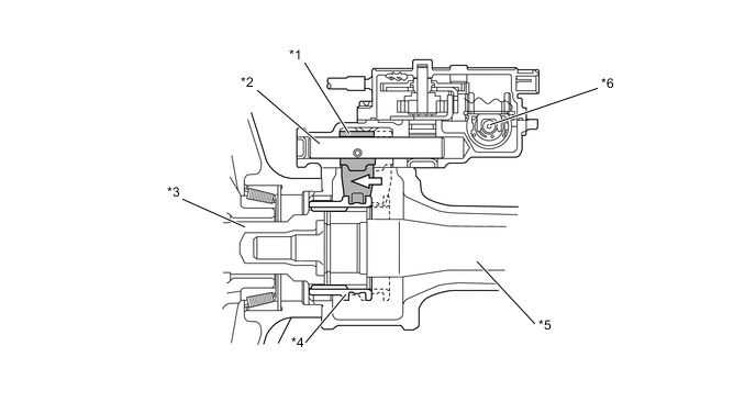
      1. When the transfer position switch is turned to the H4 position, a signal is input into the 4 wheel drive control ECU, and the 4 wheel drive control ECU actuates the A.D.D. shift motor.

      2. The operation of the A.D.D. shift motor moves the shift fork and differential clutch sleeve to the left, thus engaging the differential side gear shaft sub-assembly and the differential side gear inter shaft sub-assembly. As a result, the drive force from the transfer is transmitted to the front wheels.

        B002N29C01
        *1 Shift Fork *2 Fork Shaft
        *3 Differential Side Gear Inter Shaft Sub-assembly *4 Differential Clutch Sleeve
        *5 Differential Side Gear Shaft Sub-assembly *6 A.D.D. Shift Motor
    2. Transfer Mode H4 to H2


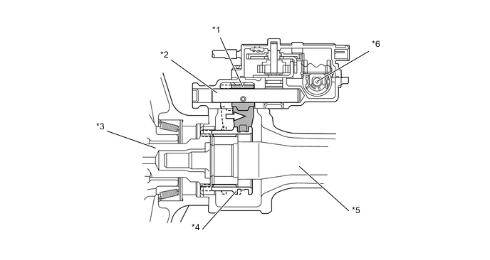
      1. When the transfer position switch is turned to the H2 position, a signal is input into the 4 wheel drive control ECU, and the 4 wheel drive control ECU actuates the A.D.D. shift motor.

      2. The operation of the A.D.D. shift motor moves the shift fork and differential clutch sleeve to the right, thus disengaging the differential side gear shaft sub-assembly and the differential side gear inter shaft sub-assembly. This prevents the front differential and the front propeller shaft from being rotated by the front wheels while the vehicle is being driven.

        B002NPKC01
        *1 Shift Fork *2 Fork Shaft
        *3 Differential Side Gear Inter Shaft Sub-assembly *4 Differential Clutch Sleeve
        *5 Differential Side Gear Shaft Sub-assembly *6 A.D.D. Shift Motor