FOUR WHEEL DRIVE CONTROL SYSTEM


  1. CONSTRUCTION


    1. A planetary gear is used on the high-low switching mechanism to switch the transfer gear ratio between high and low.

    2. The planetary gear consists of a planetary sun gear, transfer low planetary ring gear, transfer low planetary carrier sub-assembly and 4 transfer low planetary pinion gears.

    3. The planetary sun gear is integrated with the transfer input shaft.

    4. 4 transfer low planetary pinion gears are fitted to the transfer low planetary carrier sub-assembly. Each transfer low planetary pinion pin is fixed to the planetary carrier. A transfer low planetary gear spline piece is fitted to the rear of the transfer low planetary carrier sub-assembly.

    5. The transfer low planetary ring gear is fixed to the transfer case and its internal teeth mesh with the transfer low planetary pinion gears.

    6. In this planetary gear, the power transmission route is switched in accordance with the movement of the transfer high and low clutch sleeve. The input power from the transfer input shaft is transmitted to the rear transfer output shaft via the transfer high and low clutch sleeve and the transfer clutch hub.

      B002MZJC01
      *1 Transfer Low Planetary Pinion Pin *2 Transfer Input Shaft (Planetary Sun Gear)
      *3 Transfer Low Planetary Pinion Gear *4 Transfer Low Planetary Gear Spline Piece
      *5 Transfer Clutch Hub *6 Rear Transfer Output Shaft
      *7 Transfer High and Low Clutch Sleeve *8 Transfer Low Planetary Carrier Sub-assembly
      *9 Transfer Low Planetary Ring Gear - -
  2. OPERATION


    1. Transfer Gear Ratio in High Range


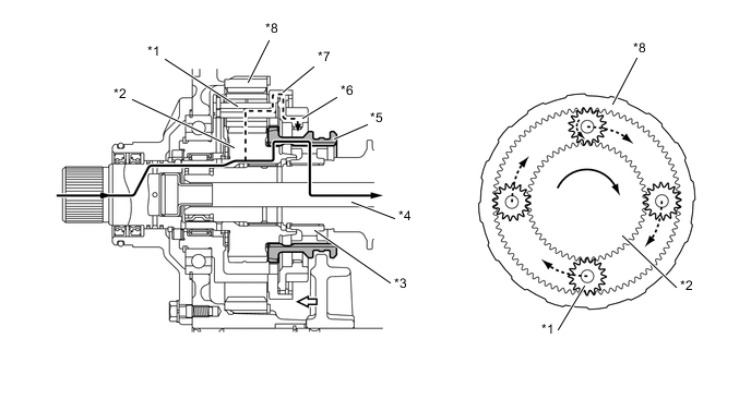
      1. In the high range, the splines at the rear of the transfer input shaft mesh with the internal gear teeth of the transfer high and low clutch sleeve.

      2. Also, the transfer high and low clutch sleeve is meshed to the rear transfer output shaft via the transfer clutch hub.

      3. The rotation of the transfer input shaft is transmitted to the transfer high and low clutch sleeve, the transfer clutch hub and the rear transfer output shaft.

        B002NAFC01
        *1 Transfer Low Planetary Pinion Gear *2 Transfer Input Shaft (Planetary Sun Gear)
        *3 Transfer Clutch Hub *4 Rear Transfer Output Shaft
        *5 Transfer High and Low Clutch Sleeve *6 Transfer Low Planetary Gear Spline Piece
        *7 Transfer Low Planetary Carrier Sub-assembly *8 Transfer Low Planetary Ring Gear
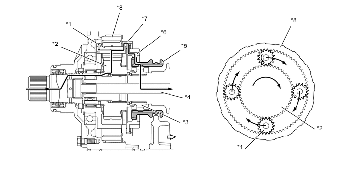
    2. Transfer Gear Ratio in Low Range


      1. In the low range, the external teeth of the transfer high and low clutch sleeve are meshed with the transfer low planetary gear spline piece.

      2. The rotation of the transfer input shaft is transmitted in a reduced form to the planetary sun gear, transfer low planetary pinion gear, transfer low planetary carrier sub-assembly, transfer low planetary gear spline piece, transfer high and low clutch sleeve, transfer clutch hub and rear transfer output shaft.

        B002NQHC01
        *1 Transfer Low Planetary Pinion Gear *2 Transfer Input Shaft (Planetary Sun Gear)
        *3 Transfer Clutch Hub *4 Rear Transfer Output Shaft
        *5 Transfer High and Low Clutch Sleeve *6 Transfer Low Planetary Gear Spline Piece
        *7 Transfer Low Planetary Carrier Sub-assembly *8 Transfer Low Planetary Ring Gear