FOUR WHEEL DRIVE CONTROL SYSTEM


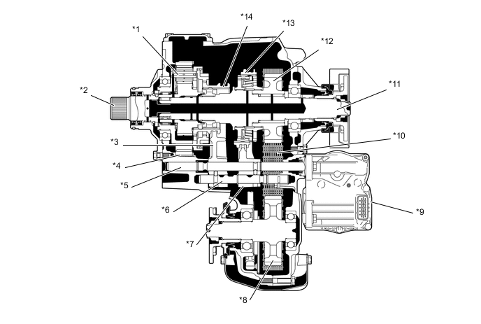
  1. CONSTRUCTION


    1. A planetary gear unit is used in the reduction mechanism and a silent chain is used for the front drive to reduce noise.

    2. A synchromesh mechanism is used for the H2-H4 switching mechanism to achieve smooth engagement.

      B002MYVC01
      *1 Transfer Low Planetary Gear Assembly *2 Transfer Input Shaft
      *3 No. 2 Transfer Gear Shift Fork *4 Transfer Low Planetary Ring Gear
      *5 Fork Shaft *6 Transfer Front Drive Shift Fork Shaft
      *7 No. 1 Transfer Gear Shift Fork *8 Transfer Driven Sprocket
      *9 Transfer Shift Actuator Assembly *10 Transfer Front Drive Chain
      *11 Rear Transfer Output Shaft *12 Transfer Drive Sprocket Sub-assembly
      *13 Front Drive Clutch Sleeve *14 Transfer High and Low Clutch Sleeve
  2. OPERATION


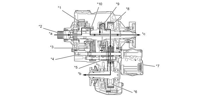
    1. Transfer Mode H2 to H4


      1. When the transfer position switch is turned from the H2 position to H4, this signal is input into the 4 wheel drive control ECU, and the 4 wheel drive control ECU activates the transfer shift actuator assembly.

      2. The transfer shift motor moves the fork shaft to the right. At this time, the No. 1 transfer gear shift fork moves to the right together with the fork shaft.

        B002NPFC01
        *1 Transfer Low Planetary Gear Assembly *2 Transfer Input Shaft
        *3 No. 2 Transfer Gear Shift Fork *4 Fork Shaft
        *5 No. 1 Transfer Gear Shift Fork *6 Transfer Driven Sprocket
        *7 Transfer Shift Actuator Assembly *8 Transfer Drive Sprocket Sub-assembly
        *9 Front Drive Clutch Sleeve *10 Transfer High and Low Clutch Sleeve
        *a From Transmission *b To Front Differential
        *c To Rear Differential - -
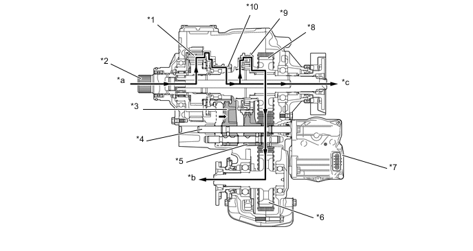
    2. Transfer Mode H4 to H2


      1. When the transfer position switch is turned from the H4 position to H2, this signal is input into the 4 wheel drive control ECU, and the 4 wheel drive control ECU actuates the transfer shift actuator assembly.

      2. The transfer shift motor moves the fork shaft to the left. At this time, the No. 1 transfer gear shift fork moves to the left together with the fork shaft.

        B002NCFC01
        *1 Transfer Low Planetary Gear Assembly *2 Transfer Input Shaft
        *3 No. 2 Transfer Gear Shift Fork *4 Fork Shaft
        *5 No. 1 Transfer Gear Shift Fork *6 Transfer Driven Sprocket
        *7 Transfer Shift Actuator Assembly *8 Transfer Drive Sprocket Sub-assembly
        *9 Front Drive Clutch Sleeve *10 Transfer High and Low Clutch Sleeve
        *a From Transmission *b To Rear Differential
    3. Transfer Mode H4 to L4


      1. When the transfer position switch is turned from the H4 position to L4, this signal is input into the 4 wheel drive control ECU, and the 4 wheel drive control ECU actuates the transfer shift actuator assembly.

      2. The transfer shift motor moves the fork shaft to the right. At this time, the No. 2 transfer gear shift fork moves to the right together with the fork shaft.

        B002N9NC01
        *1 Transfer Low Planetary Gear Assembly *2 Transfer Input Shaft
        *3 No. 2 Transfer Gear Shift Fork *4 Fork Shaft
        *5 No. 1 Transfer Gear Shift Fork *6 Transfer Driven Sprocket
        *7 Transfer Shift Actuator Assembly *8 Transfer Drive Sprocket Sub-assembly
        *9 Front Drive Clutch Sleeve *10 Transfer High and Low Clutch Sleeve
        *a From Transmission *b To Front Differential
        *c To Rear Differential - -
    4. Transfer Mode L4 to H4


      1. When the transfer position switch is turned from the L4 position to H4, this signal is input into the 4 wheel drive control ECU, and the 4 wheel drive control ECU actuates the transfer shift actuator assembly.

      2. The transfer shift motor moves the fork shaft to the left. At this time, the No. 2 transfer gear shift fork moves to the left together with the fork shaft.

        B002MRUC01
        *1 Transfer Low Planetary Gear Assembly *2 Transfer Input Shaft
        *3 No. 2 Transfer Gear Shift Fork *4 Fork Shaft
        *5 No. 1 Transfer Gear Shift Fork *6 Transfer Driven Sprocket
        *7 Transfer Shift Actuator Assembly *8 Transfer Drive Sprocket Sub-assembly
        *9 Front Drive Clutch Sleeve *10 Transfer High and Low Clutch Sleeve
        *a From Transmission *b To Front Differential
        *c To Rear Differential - -
    5. Transfer Mode L4 to H2


      1. When the transfer position switch is turned from the L4 position to H2, this signal is input into the 4 wheel drive control ECU. Then, the 4 wheel drive control ECU actuates the transfer shift actuator assembly. The switching operation changes in the following sequence: L4 to H4, then H4 to H2.