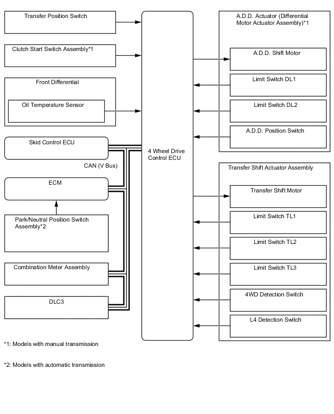
FOUR WHEEL DRIVE CONTROL SYSTEM

B002NBME02