СИСТЕМА СТЕКЛООЧИСТИТЕЛЕЙ И СТЕКЛООМЫВАТЕЛЕЙ


  1. КОНСТРУКЦИЯ


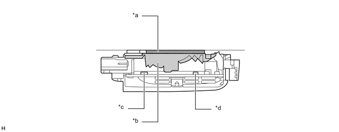
    1. Датчик дождя состоит из светодиода, излучающего инфракрасные лучи, фотодиода, способного принимать эти лучи, линзы и ленты датчика дождя.

      A01RGEIC01
      *a Лента датчика дождя *b Линза
      *c Фотодиод *d Светодиод
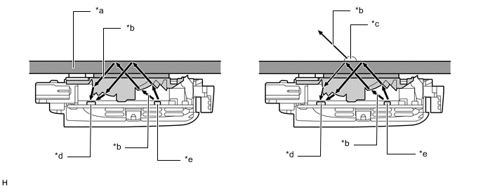
    2. Если в зоне обнаружения нет капель дождя, все инфракрасные лучи, излучаемые светодиодом, отражаются от ветрового стекла и принимаются фотодиодом.

    3. Как только в зоне обнаружения появляются капли дождя, часть инфракрасных лучей проникает через ветровое стекло вследствие изменения разности коэффициентов преломления стекла и внешней среды (из-за различия между водой и воздухом). Таким образом, присутствие капель дождя лишает ветровое стекло способности отражать все лучи. Это изменение внутреннего отражения вследствие наличия воды уменьшает количество инфракрасных лучей, принимаемых фотодиодом. Степень этого уменьшения позволяет определить интенсивность дождя. Соответственно, данная функция выбирает такой режим работы стеклоочистителя (прерывистый, с низкой скоростью или с высокой скоростью), который позволяет оптимизировать время работы стеклоочистителей.

      A01RGMDC01
      *a Ветровое стекло *b Инфракрасные лучи
      *c Капля дождя *d Фотодиод
      *e Светодиод - -