ТОРМОЗНАЯ СИСТЕМА


  1. КОНСТРУКЦИЯ


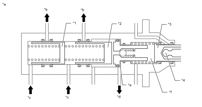
    1. Главный цилиндр включает в себя входной поршень, выходной поршень, поршень главного цилиндра, регулятор и рабочий шток, который непосредственно соединен с педалью тормоза.

    2. Рабочий шток и входной поршень непосредственно передают усилие нажатия на педаль тормоза.

    3. Давление жидкости, управляемое регулятором, передается в сервокамеру и воздействует на выходной поршень и поршень главного цилиндра. Кроме того, для входного поршня, выходного поршня и поршня главного цилиндра используется возвратная пружина, создающая возвратное усилие при отсутствии давления тормозной жидкости.

      A01RGX8C01
      *1 Усилитель тормозной системы с главным цилиндром в сборе *2 Главный цилиндр
      *3 Поршень главного цилиндра *4 Выходной поршень
      *5 Входной поршень *6 Управляющий шток
      *a Сечение главного цилиндра *b К бачку главного цилиндра тормозной системы в сборе
      *c К рабочему тормозному цилиндру *d К имитатору хода
      *e К регулятору *f Сервокамера
      *g Камера поддержания зазора (SGH) - -
  2. ПРИНЦИП РАБОТЫ


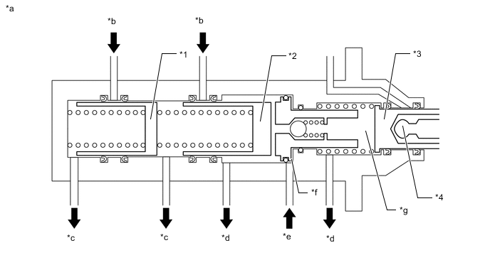
    1. При нажатии на педаль тормоза она перемещает входной поршень, непосредственно соединенный с рабочим штоком. Давление тормозной жидкости, создаваемое усилием нажатия на педаль тормоза, воздействует на имитатор хода. Электромагнитный клапан с линейной характеристикой (SLA) открывается в зависимости от давления тормозной жидкости для регулирования давления тормозной жидкости, создаваемого насосом усилителя тормозной системы и передаваемого затем в сервокамеру через регулятор. Давление тормозной жидкости, воздействующее на сервокамеру, нажимает на выходной поршень и поршень главного цилиндра, который создает давление тормозной жидкости в рабочем тормозном цилиндре.

      A01RGSRC01
      *1 Поршень главного цилиндра *2 Выходной поршень
      *3 Входной поршень *4 Управляющий шток
      *a Сечение главного цилиндра *b К бачку главного цилиндра тормозной системы в сборе
      *c К рабочему тормозному цилиндру *d К имитатору хода
      *e К регулятору *f Сервокамера
      *g Камера поддержания зазора (SGH) - -
    2. Когда водитель нажимает на педаль тормоза и удерживает ее, и усилие нажатия на педаль тормоза уравновешено с давлением тормозной жидкости в рабочих тормозных цилиндрах, электромагнитный клапан с линейной характеристикой (SLA) закрывается для поддержания давления в сервокамере.

      A01RGQWC01
      *1 Поршень главного цилиндра *2 Выходной поршень
      *3 Входной поршень *4 Управляющий шток
      *a Сечение главного цилиндра *b К имитатору хода
      *c Сервокамера *d Камера поддержания зазора (SGH)
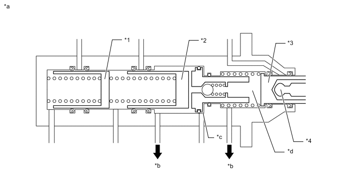
    3. При отпускании педали тормоза давление жидкости, создаваемое усилием нажатия на педаль тормоза, не воздействует на имитатор хода. Электромагнитный клапан с линейной характеристикой (SLR) открывается, и выходной поршень и поршень главного цилиндра возвращаются в свое исходное положение, а давление тормозной жидкости в рабочих тормозных цилиндрах снижается.

      A01RGMSC01
      *1 Поршень главного цилиндра *2 Выходной поршень
      *3 Входной поршень *4 Управляющий шток
      *a Сечение главного цилиндра *b К бачку главного цилиндра тормозной системы в сборе
      *c К рабочему тормозному цилиндру *d К регулятору
      *e Сервокамера *f Камера поддержания зазора (SGH)