СИСТЕМА УПРАВЛЕНИЯ ТОРМОЗАМИ


  1. ФУНКЦИИ


    1. Щиток приборов в сборе оснащен различными контрольными лампами и индикаторами, а мультиинформационный дисплей — зуммером.

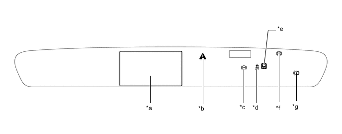
      Figure 1. для моделей с левосторонним рулевым управлением

      A01RGJZC01
      *a Мультиинформационный дисплей *b Главная контрольная лампа аварийного состояния
      *c Контрольная лампа ABS *d Контрольная лампа VSC OFF
      *e Контрольная лампа скольжения SLIP *f Контрольная лампа состояния тормозной системы / красная (неисправность)
      *g Контрольная лампа состояния тормозной системы / желтая (незначительная неисправность) - -

      Figure 2. Для моделей с правосторонним рулевым управлением

      A01RG8WC01
      *a Контрольная лампа состояния тормозной системы / желтая (незначительная неисправность) *b Контрольная лампа состояния тормозной системы / красная (неисправность)
      *c Контрольная лампа скольжения SLIP *d Контрольная лампа VSC OFF
      *e Контрольная лампа ABS *f Главная контрольная лампа аварийного состояния
      *g Мультиинформационный дисплей - -
      Работа контрольной лампы аварийного состояния, контрольной лампы и мультиинформационного дисплея
      Контрольная лампа состояния тормозной системы / красная (неисправность)
      • Включается для предупреждения водителя при обнаружении в тормозной системе неисправности, которая может ухудшить рабочие характеристики торможения.

      • Загорается для предупреждения водителя, когда ЭБУ системы противоскольжения обнаруживает неисправность системы АБС или функции EBD (контрольная лампа ABS загорается одновременно).

      • Включается, чтобы уведомить водителя о низком уровне тормозной жидкости.

      Контрольная лампа состояния тормозной системы / желтая (незначительная неисправность)
      • Загорается, чтобы предупредить водителя об обнаружении незначительной неисправности, не мешающей системе управления тормозами.

      • Когда система находится в диагностическом режиме, мигает, указывая диагностический код неисправности (DTC).

      Контрольная лампа ABS
      • Включается для предупреждения водителя, когда ЭБУ системы противоскольжения обнаруживает неисправность в системе АБС или усилителе экстренного торможения.

      • Когда система находится в диагностическом режиме, мигает, указывая диагностический код неисправности (DTC).

      Контрольная лампа скольжения SLIP
      • Мигает, оповещая водителя о том, что работает система VSC, TRC или АБС.

      • Включается для предупреждения водителя, когда ЭБУ системы противоскольжения обнаруживает неисправность в системе TRC или VSC.

      • Когда система находится в диагностическом режиме, мигает, указывая диагностический код неисправности (DTC).

      Контрольная лампа VSC OFF Включается, чтобы уведомить водителя о выборе режима VSC OFF
      Мультиинформационный дисплей
      • Отображает сообщение, когда выбран режим TRC OFF.

      • Отображает предупреждающее сообщение при обнаружении неисправности в системе управления тормозами.

      Главная контрольная лампа аварийного состояния Загорается для предупреждения водителя при обнаружении неисправности системы управления тормозами (с одновременным отображением предупреждения на мультиинформационном дисплее).

      Tech Tips

      Издает звуковой сигнал, предупреждая водителя в соответствии с предупреждающим сообщением, отображаемым на мультиинформационном дисплее.