WIPER AND WASHER SYSTEM


  1. CONSTRUCTION


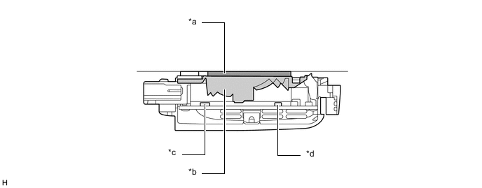
    1. The rain sensor consists of a Light Emitting Diode (LED) that emits infrared rays, a photo diode that can receive those rays, a lens and rain sensor tape.

      A01RGEIC01
      *a Rain Sensor Tape *b Lens
      *c Photo Diode *d LED
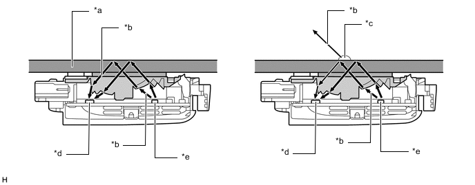
    2. If no raindrops are present in the detection area, the infrared rays emitted by the LED are all reflected from the outer surface of the windshield glass and are received by the photo diode.

    3. If rain is present in the detection area, a portion of the emitted infrared rays penetrate the windshield glass due to the change in the difference of the index of refraction between the glass and the area outside the windshield (difference between air and water). The ability of the windshield glass to reflect all light back inside changes due to the presence of rain. This change of internal reflection due to presence of water reduces the amount of infrared rays that are received by the photo diode. The amount of this reduction is then used to determine the amount of rain. Thus, this function controls the intermittent, low, and high wiper operation in order to operate the wipers at an optimal wiping timing.

      A01RGMDC01
      *a Windshield Glass *b Infrared Rays
      *c Rain Drop *d Photo Diode
      *e LED - -