BODY STRUCTURE


  1. OUTLINE


    1. Lightweight and Highly Rigid Body


      1. Using Hot-stamped sheet steel, high-strength sheet steel, ultra high-strength sheet steel, and extensive aluminum component both reduces weight and ensures rigidity together with an optimized frame joint structure and optimal positioning of reinforcement members.

    2. Safety Features


      1. The body has the structure that can distribute energy to many members to increase absorption of the collision energy and the framework of high strength that can control the deformation of the cabin and help secure sufficient survival space.

      2. The impact energy-absorbing construction have been adopted in consideration of pedestrian protection.

    3. Rust-resistant Body


      1. Rust-resistance performance is enhanced extensive use of anti-corrosion sheet steel, as well as by an anti-corrosion treatment that includes the application of anti-rust wax, sealer and anti-chipping paint to easily corroded parts such as the rocker panels.

    4. Low Vibration and Low Noise Body


      1. Effective application of vibration damping and noise suppressant materials reduces engine, wind and road noise.

    5. Aerodynamics


      1. Leveling off the surface where the front body pillar meets the windshield and smoothing the shape around the doors, front and rear bumper were effective in reducing flow separation.

      2. Various types of airflow routing parts that control airflow are provided under the floor, and an under cover is provided to make the under floor area flat in order to ensure excellent aerodynamic performance.

  2. MAIN FEATURES


    1. Aim of Exterior Design


        "ICONIC Human-tech"

      • Based on a new platform, a new approach, "Ingenuous Beauty", has been undertaken by integrating the latest technology in aerodynamics and fuel efficiency with "Playfulness."

      • Its design with beautiful emotion and unique symbolism that appeals to the heart has dramatically evolved and aims to express an advanced styling suitable for a front runner among hybrid vehicles.

    2. Packaging


        "Low-slung silhouette" achieved by the new platform

      • The engine, motor, and seating positions have been lowered to increase front and rear head clearance while at the same time achieving an aerodynamic, low stance side silhouette.

      • The cowl has been lowered to enhance forward visibility.

      • The battery and fuel tank have been placed under the rear seat to increase luggage space.

    3. Aim of Overall Exterior Design


      1. Emotional design that takes advantage of the low center of gravity to convey excellent driving performance


        1. The low axis begins at the Toyota emblem and continues along to the rear,taking advantage of the low center of gravity packaging that appeals excellent driving performance. (*a)

        2. The beltline leans forward, creating a forward moving structure in which the cabin appears to 'bite' into the body for a unified yet aggressive appearance. (*b)

        3. The car's distinctive emotional design is expressed through its triangular silhouette that begins at the hood and continues over the top of the cabin. (*c)

          A01RGDYN01
        4. The rocker panel features a distinctive light-catching upward-facing surface that begins at the lowest part of the vehicle which accentuates Prius' stable low stance. (*d)

          A01RGECN01
    4. Side Design


      1. Characteristic roof silhouette


        1. Compared to the current model, the roof peak has been set forward when seen from the side to further reduce drag and ensure ample head clearance, achieving optimal aerodynamic shape symbolic for a new generation of eco-friendly cars.

          A01RGATC02
          *a Roof Peak - -
        2. The rear edges of the roof feature a characteristic shape reminiscent of air flowing around the side windows to the rear.

          A01RGNU
    5. Front Design


      1. Expression of Priusness with intelligence and "Ingenious Beauty"


        1. Based on the Keen Look* concept, the design that accentuates the Toyota emblem has been nurtured from the previous generations.

        2. Along with the lowered engine position enabled by the new platform, the facial expression has evolved into an advanced-looking hybrid vehicle.

        3. The low-slung front face and lowered cowl achieve excellent downward visibility.

          A01RGVY

          Tech Tips

          *: A Toyota-original front expression that provides a bright, intelligent,and dynamic impression.

        4. Functional components such as the lights and air intakes have been made as small as possible and optimally placed.

        5. These components form a sharp connection with the smoothly changing character lines to express an advanced and emotional design.

          A01RGHEC01
          *1 Headlight/Clearance light *2 Turn Signal Light
          *3 Fog Light/Daytime Running Light *4 Upper Grille (Air intake for radiator)
          *5 Lower Grille (Air intake for hybrid radiator) - -
    6. Head Lights


      1. Sharp iconic "Eyes"


        1. Single projector headlights with both low and high beam functions are designed in an characteristic triangle shape, thus expressing iconic functional beauty which sharply fuses the functionality into its 3-dimensional mass.

        2. Clearance lights, utilizing triangle contour, produce lighting-pattern with unprecedentedly sharp impression.

        A01RGGSC01
        *a With clearance light on - -
    7. Rear Design


      1. Further emotional aerodynamic performance


        1. The aerodynamically efficient rear spoiler and bumper corner edges are connected with a unique line, and the distinctive 3-dimensional vertical rear combination lights follow the flow of this line. As with the front, the rear is designed to express "Ingenious Beauty".

        2. In contrast with the cabin tightening towards the rear, the widened lower body and the trapezoidal shaped rear end enhance its good stance with well planted tires.

        A01RGT2
    8. Rear Combination Lights


      1. A band of light expressing a characteristic rear silhouette


        1. The tail lamps express the distinct flowing lines of Prius from the rear spoiler to the lower bumper sides.

        2. Furthermore, every other functional light has been efficiently placed in coordination with the vertical flow.

        3. Even at night, characteristic rear silhouette is expressed by the tail lights.

        A01RGU5C01
        *a With tail light on - -
    9. Surface and Character Line Design


      1. Functionality sharply integrated into smooth surface


        1. The contrast between softly-curved glossy surfaces and solid, tense surfaces appeals for dynamic surface design changes.

        2. Through the smooth yet sharp lines accentuating the surface design changes, the functional components of the front and rear lamps and cabin are integrated into the whole vehicle form.

        3. Thus modern "Ingenious Beauty" combining functionality and emotional design is expressed.

        A01RGMG
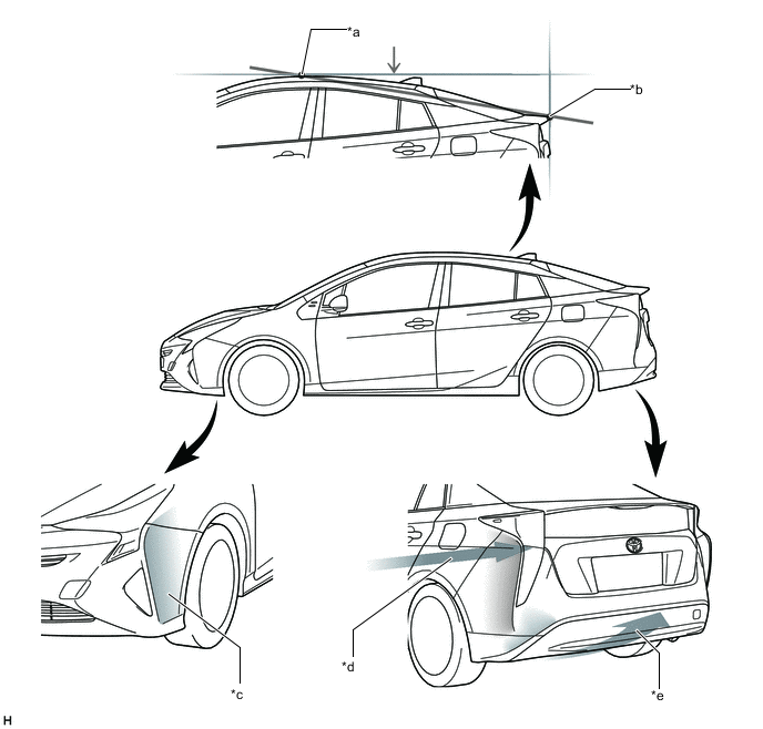
    10. Aerodynamic Measures


      1. The overall height has been shortened to reduce overall projected area.

      2. Cabin silhouette with optimized position relation between the roof peak (a) and spoiler height (b).Cabin silhouette with optimized position relation between the roof peak (a) and spoiler height (b).

      3. Bumper corner with optimal surface angle for rectifying the airflow in front of the front tires. (*c)

      4. The rear bumper corner shape for rectifying rearward airflow, and rear design for rectifying side (d) and bottom airflow (e).

        A01RGCNE01