AIRBAG SYSTEM


  1. FUNCTION OF MAIN COMPONENTS


    1. The main components of the SRS System have the following functions:

      Component Function
      Airbag ECU Assembly
      • In the event of a frontal collision, the airbag ECU assembly receives signals from either of the front airbag sensors. The airbag ECU assembly receives the signal via its judgment circuit and also receives another signal from the safing sensor built into the airbag ECU assembly. After receiving a signal from at least one of the front airbag sensors and the safing sensor, the airbag ECU assembly determines whether the driver airbag, front passenger airbag, driver knee airbag, front seat airbags, front seat cushion airbag assembly RH*1, curtain shield airbags and front and rear*4 seat belt pretensioners should be deployed. The airbag ECU assembly also diagnoses system malfunctions.

      • In the event of a side or rear side collision, the airbag ECU assembly receives signals from the side door airbag sensor, side airbag sensor assembly or rear airbag sensor. The airbag ECU assembly receives the signal via its judgment circuit and also receives another signal from the safing sensor built into the airbag ECU assembly. After receiving a signal from at least one of the side sensors and the safing sensor, the airbag ECU assembly determines whether the front seat airbag assemblies, front and rear*4 seat belt pretensioners and curtain shield airbag assemblies should be deployed. The airbag ECU assembly also diagnoses system malfunctions.

      • The airbag ECU assembly sends an airbag deployment signal to the ECM through the Controller Area Network (CAN) to operate fuel pump control.

      • The airbag ECU assembly sends the airbag deployment signal to the main body ECU (multiplex network body ECU) to operate the collision door lock release function.

      Horn Button Assembly Used as supplements to the seat belts to help reduce impact to the occupants.
      Instrument Panel Passenger Airbag without Door Assembly
      Lower No. 1 Instrument Panel Airbag Assembly
      Front Seat Airbag Assembly LH/RH
      Front Seat Cushion Airbag assembly RH*1
      Curtain Shield Airbag Assembly LH/RH
      Front Airbag Sensor LH/RH Based on the deceleration of the vehicle during a frontal collision, distortion is created in the sensor and is converted into an electrical signal.
      Door Side Airbag Sensor LH/RH Detects deformation of the front doors during a side collision using the pressure sensor and sends signals for the airbag ECU assembly to determine if deployment of SRS components is necessary.
      Side Airbag Sensor Assembly LH/RH Based on the deceleration of the vehicle during a side or rear side collision, distortion is created in the sensor and is converted into an electrical signal.
      No. 2 Side Airbag Sensor Assembly LH/RH*2
      Rear Airbag Sensor LH/RH
      Rear Seat 3 Point Type Outer Belt Assembly LH/RH*4 Used to help reduce impact to the occupants.
      Front Seat Outer Belt Assembly LH/RH
      Seat Position Airbag Sensor*2 Detects the slide position of the driver seat.
      Driver Seat Belt Buckle Switch (Front Seat Inner Belt Assembly LH)*1 Detects if the driver seat belt is fastened.
      Front Passenger Seat Belt Buckle Switch (Front Seat Inner Belt Assembly RH)*1 Detects if the front passenger seat belt is fastened.
      Occupant Detection ECU*1 Judges whether the front passenger seat is occupied based on signals from the 2 occupant detection sensors and the front passenger seat belt buckle switch.
      Occupant Classification Sensor (Front LH/Rear LH)*1 The sensors are strain gauge type sensors that send signals to the occupant detection ECU in accordance with the weight of the occupant.
      Hybrid Vehicle Control ECU
      • The hybrid vehicle control ECU receives an airbag deployment signal from the airbag sensor during a frontal, side, rear side or roll over collision.

      • In the event of a side or rear side collision the hybrid vehicle control ECU shuts down the hybrid system power supply by turning the System Main Relays (SMRs) off, in order to ensure safety.

      Airbag Cut Off Switch Cylinder Sub-assembly*3 Suspends the instrument panel passenger airbag without door assembly operation.
      Combination Meter Assembly SRS Warning Light Turns on to alert the driver when the airbag ECU assembly detects a malfunction in the airbag system.
      AIRBAG ON/OFF Indicator Light*1,*3 The AIRBAG ON/OFF indicator lights inform the driver whether the occupant detection ECU puts the instrument panel passenger airbag without door assembly, front seat cushion airbag assembly, front seat airbag assembly RH and front seat outer belt assembly RH into an active state or inactive state.

      *1: Destination package for South Korea

      *2: Models for Europe

      *3: Models with airbag cut off cylinder

      *4: Except models for G.C.C. countries

  2. SYSTEM CONTROL


    1. Airbag for Frontal Collision


      1. There are 7*1 or 8*2 airbags which deploy in the event of a frontal collision: the horn button assembly, instrument panel passenger airbag without door assembly, lower No. 1 instrument panel airbag assembly, front seat airbag assemblies, front seat cushion airbag assembly RH*2 and curtain shield airbag assemblies. These airbags deploy simultaneously. The horn button assembly and instrument panel passenger airbag without door assembly use dual-stage control. In addition, the front pretensioners contained in the front seat outer belt assemblies LH and RH and rear pretensioners*3 contained in the rear seat outer belt assemblies LH and RH are also activated.

        *1: Except destination package for South Korea

        *2: Destination package for South Korea

        *3: Except models for G.C.C. countries

      2. The airbag ECU assembly detects the information indicated below from various sources in order to activate the dual-stage control.

        Airbag Information Source
        Driver Extent of Impact
        • Front Airbag Sensor LH or RH

        • Airbag ECU Assembly

        Seat Belt Condition* Driver Seat Belt Buckle Switch (Front Seat Inner Belt Assembly LH) (Non-contact Type)
        Front Passenger Extent of Impact
        • Front Airbag Sensor LH or RH

        • Airbag ECU Assembly

        Occupant Detection*

        2 Occupant Detection Sensors

        (Connected to the airbag ECU assembly through the occupant detection ECU.)

        Seat Belt Condition*

        Front Passenger Seat Belt Buckle Switch (Front Seat Inner Belt Assembly RH) (Non-contact Type)

        (Connected to the airbag ECU assembly through the occupant detection ECU.)

        *: Destination package for South Korea

      3. For a frontal collision, if a front airbag sensor detects an impact, it informs the airbag ECU assembly. The airbag ECU assembly causes the horn button assembly, instrument panel passenger airbag without door assembly, lower No. 1 instrument panel airbag assembly, front seat airbag assemblies, front seat cushion airbag assembly RH*1 and curtain shield airbag assemblies to deploy. Additionally, the airbag ECU assembly activates the seat belt pretensioners for the driver, front passenger and rear passenger*2.

        *1: Destination package for South Korea

        *2: Except models for G.C.C.

        A01RGSHE03
      4. Deceleration sensors used for the airbag system are installed on various parts on the vehicle and calculate the deceleration (or acceleration) rate of each part during a collision.

      5. Depending on the situation, the airbag ECU assembly sends a deployment signal to each airbag based on the information from each sensor.

      6. Frontal collision signals are produced based on the information from the airbag ECU assembly and front airbag sensors. Frontal collision signals are used to activate the front seat outer belt assemblies and 3 point type rear seat outer belt assemblies and to deploy all the airbags and activate the pretensioners as indicated in the table below.

        Figure 1. Frontal Collision

        A01RGM0E02
    2. Airbag for Side/Rear Side Collision


      1. There are 2 airbags which deploy in the event of a severe side collision: the front seat airbag assembly and curtain shield airbag assembly. These airbags deploy simultaneously. Additionally, at the same time, the front and rear* seat belt pretensioners are also activated.

      2. For a side collision, if the door side airbag sensor or side airbag sensor assembly detects an impact, it informs the airbag ECU assembly, and the airbag ECU assembly causes the front seat airbag assembly and curtain shield airbag assembly to deploy simultaneously, and activate the front and rear* seat belt pretensioners.

        *: Except models for G.C.C. countries

        A01RGMQE05
      3. The front seat airbag assembly and curtain shield airbag assembly are deployed and the front pretensioner in the front seat outer belt assembly LH and RH and rear pretensioner in the rear seat 3 point type belt assembly LH and RH* are activated based on signals from the side door airbag sensors or side airbag sensor assemblies and airbag ECU assembly.

        *: Except models for G.C.C. countries

        Figure 2. Side Collision (Except Models for Europe)

        A01RG9QE02

        Figure 3. Side Collision (Models for Europe)

        A01RGW1E01
      4. For a rear side collision, if the rear airbag sensor detects an impact, it informs the airbag ECU assembly and the airbag ECU assembly causes the curtain shield airbag assembly to deploy, and activate the rear seat belt pretensioner*.

        *: Except models for G.C.C. countries

        A01RGPBE03
      5. The curtain shield airbag assembly is deployed and rear pretensioner in the rear seat 3 point type outer belt assembly LH and RH* are activated based on signals from the rear airbag sensor and the airbag ECU assembly.

        *: Except models for G.C.C. countries

        Figure 4. Rear Side Collision

        A01RGYCE04
    3. Airbag for Roll Over (Destination Package for South Korea)


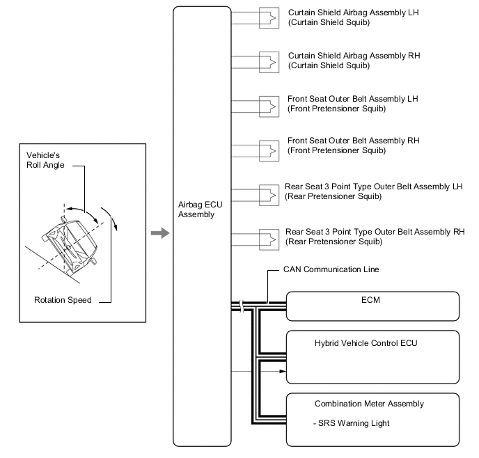
      1. If the vehicle is tilted and rolls over, the airbag ECU assembly activates the front seat belt pretensioners and rear seat belt pretensioners and deploys the curtain shield airbags based on signals that show the vehicle's roll angle and rotation speed.

        A01RGB9E01
      2. If the vehicle rolls over in a side collision, the airbag ECU assembly causes the front seat airbag assembly and curtain shield airbag assembly to deploy based on signals from the side door airbag sensor, side airbag sensor assembly and rear airbag sensor. Meanwhile, it activates the front seat belt pretensioners and deploys the curtain shield airbag on the opposite side of the collision, based on lateral deceleration and rotation speed signals.

        A01RGQ0E03
    4. Primary Check Illumination Control


      1. After the power switch is turned on (IG), the airbag ECU assembly illuminates the SRS warning light in the combination meter assembly for approximately 6 seconds and conducts the primary check. During the primary check, the ignition of airbags is prohibited and a diagnosis of the airbag ECU assembly is performed. If a malfunction is detected during the primary check, the SRS warning light will remain on even after 6 seconds have elapsed.

      2. After the power switch is turned on (IG), the airbag ECU assembly operates the passenger airbag ON/OFF indicator lights as shown below to check for an open in the indicator light circuits.

        A01RGW6E18
  3. DIAGNOSIS


    1. If the airbag ECU assembly detects a malfunction in the SRS airbag system, the airbag ECU assembly stores the malfunction data in memory in addition to illuminating the SRS warning light.

    2. The airbag ECU assembly outputs malfunction data and 5-digit Diagnostic Trouble Codes (DTCs) to the Global TechStream (GTS).

    3. The 5-digit DTCs can be read by connecting the Global TechStream (GTS) to the DLC3. For details, refer to the Repair Manual.

    4. If the SRS airbags deploy, the airbag ECU assembly will turn on the SRS warning light. However, unlike an ordinary malfunction, a DTC will not be stored. The SRS warning light cannot be manually turned off. It is necessary to replace the airbag ECU assembly with a new one.