BRAKE CONTROL SYSTEM


  1. FUNCTION


    1. The combination meter assembly is equipped with various warning lights and indicator lights and a multi-information display and buzzer.

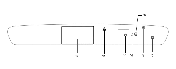
      Figure 1. LHD Models

      A01RGJZC01
      *a Multi-information Display *b Master Warning Light
      *c ABS Warning Light *d VSC OFF Indicator Light
      *e Slip Indicator Light *f Brake Warning Light/Red (Malfunction)
      *g Brake Warning Light/Yellow (Minor Malfunction) - -

      Figure 2. RHD Models

      A01RG8WC01
      *a Brake Warning Light/Yellow (Minor Malfunction) *b Brake Warning Light/Red (Malfunction)
      *c Slip Indicator Light *d VSC OFF Indicator Light
      *e ABS Warning Light *f Master Warning Light
      *g Multi-information Display - -
      Warning light, indicator light and multi-information display operation
      Brake Warning Light/Red (Malfunction)
      • Illuminates to warn the driver when a malfunction that may affect braking performance is detected in the brake system.

      • Illuminates to warn the driver when the skid control ECU detects a malfunction in the ABS system or EBD function (the ABS warning light illuminates simultaneously).

      • Illuminates to warn the driver when the brake fluid level is low.

      Brake Warning Light/Yellow (Minor Malfunction)
      • Illuminates to inform the driver when a minor malfunction that will not interfere with the brake control system is detected.

      • Blinks to indicate Diagnostic Trouble Codes (DTC) when the system is in diagnosis mode.

      ABS Warning Light
      • Illuminates to warn the driver when the skid control ECU detects a malfunction in the ABS system or brake assist function.

      • Blinks to indicate Diagnostic Trouble Codes (DTC) when the system is in diagnosis mode.

      Slip Indicator Light
      • Blinks to inform the driver when the VSC, TRC or ABS system is operating.

      • Illuminates to warn the driver when the skid control ECU detects a malfunction in the VSC or TRC system.

      • Blinks to indicate Diagnostic Trouble Codes (DTC) when the system is in diagnosis mode.

      VSC OFF Indicator Light Illuminates to inform the driver when VSC OFF mode is selected
      Multi-information Display
      • Displays a message when TRC OFF mode is selected.

      • Displays a warning message when a malfunction is detected in the brake control system.

      Master Warning Light Illuminates to warn the driver when a malfunction is detected in the brake control system (a warning message is displayed on the multi-information display simultaneously).

      Tech Tips

      Sounds to warn the driver according to the warning message displayed on the multi-information display.