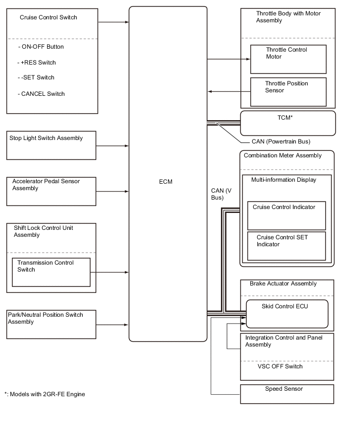
CRUISE CONTROL SYSTEM

A01IDEZE01