SFI SYSTEM


  1. FUNCTION


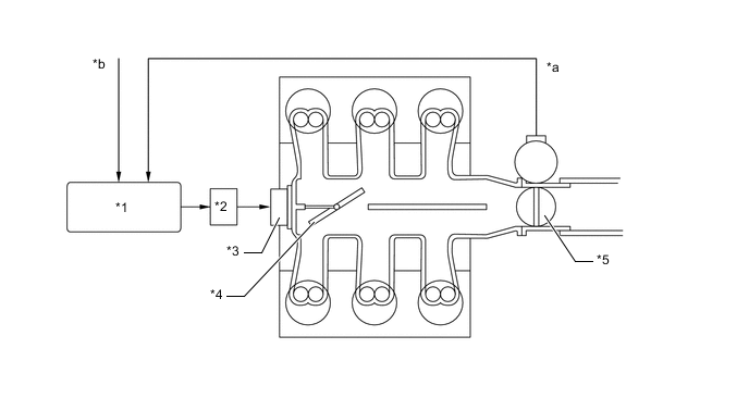
    1. The Acoustic Control Induction System (ACIS) uses a bulkhead to divide the intake manifold, creating 2 stages. The intake air control valve in the bulkhead is opened or closed to vary the effective length of the intake manifold in accordance with the engine speed and throttle valve opening angle. This increases the power output in all ranges from low to high speed.

      B006KD6C01
      *1 ECM *2 VSV
      *3 ACIS Actuator *4 Intake Air Control Valve
      *5 Throttle Valve - -
      *a Throttle Opening Angle *b Crank Position Sensor Signal