SFI SYSTEM


  1. FUNCTION


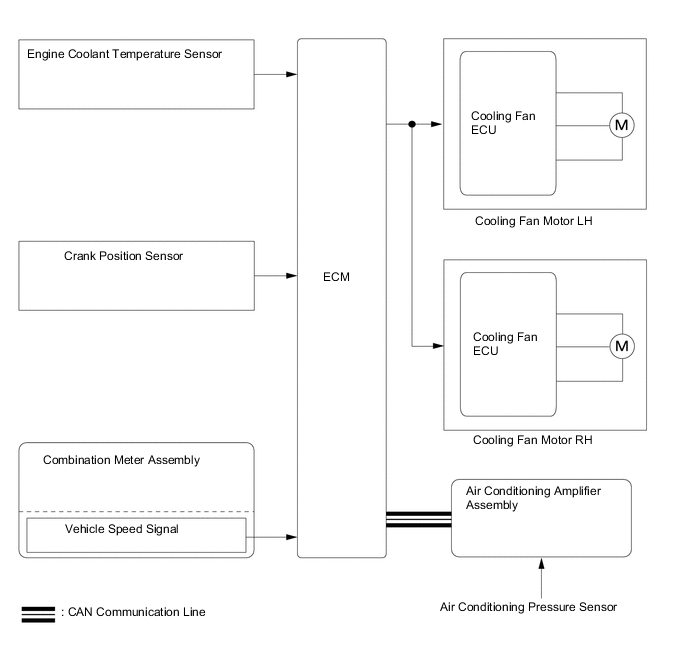
    1. The cooling fan control system achieves an optimal fan speed in accordance with the engine coolant temperature, vehicle speed, engine speed, and air conditioning operating conditions.

    2. The ECM calculates the appropriate fan speed and sends signals to the cooling fan ECUs. Upon receiving the signals from the ECM, the cooling fan ECUs actuate the fan motors.

      B006KAAE01