METER / GAUGE SYSTEM


  1. FUNCTION


    1. Multi Buzzer


      1. The table below shows the warning and reminder functions of the buzzer in the combination meter assembly.

        Priority Item
        1 Engine Start while Driving Warning
        2 Engine Switch Operation while Driving Warning
        3 Front Seat Belt Warning (Level 2)
        4 Front Seat Belt Warning (Level 1)
        5 Unexpected Vehicle Motion Warning (Continuous)
        6 Unexpected Vehicle Motion Warning (Intermittent)
        7 Brake Fluid Low Warning
        8 Engine Oil Pressure Warning
        9 EPS Warning
        10 Door Open when Shift Lever not in P Warning
        11 Stop and Start System Warning
        12 Smart Entry and Start System Warning 1 (Intermittent)
        13 Smart Entry and Start System Warning 2 (Intermittent, maximum 9 times)
        14 Smart Entry and Start System Warning (Once)
        15 Multi-information Display Warning
        16 Electric Parking Brake System Cancel Warning
        17 Brake Hold System Control Not Release Warning
        18 Immobiliser Certification Reminder
        19 Parking Brake Engaged Warning
        20 Door Open while Driving Warning
        21 Sport Shift Reject Warning
        22 Headlight Reminder
        23 EPB Shift Interlock Function Deactivated Buzzer
        24 EPB Shift Interlock Function Activated Buzzer
        25 Turn Signal/Hazard Warning Operation
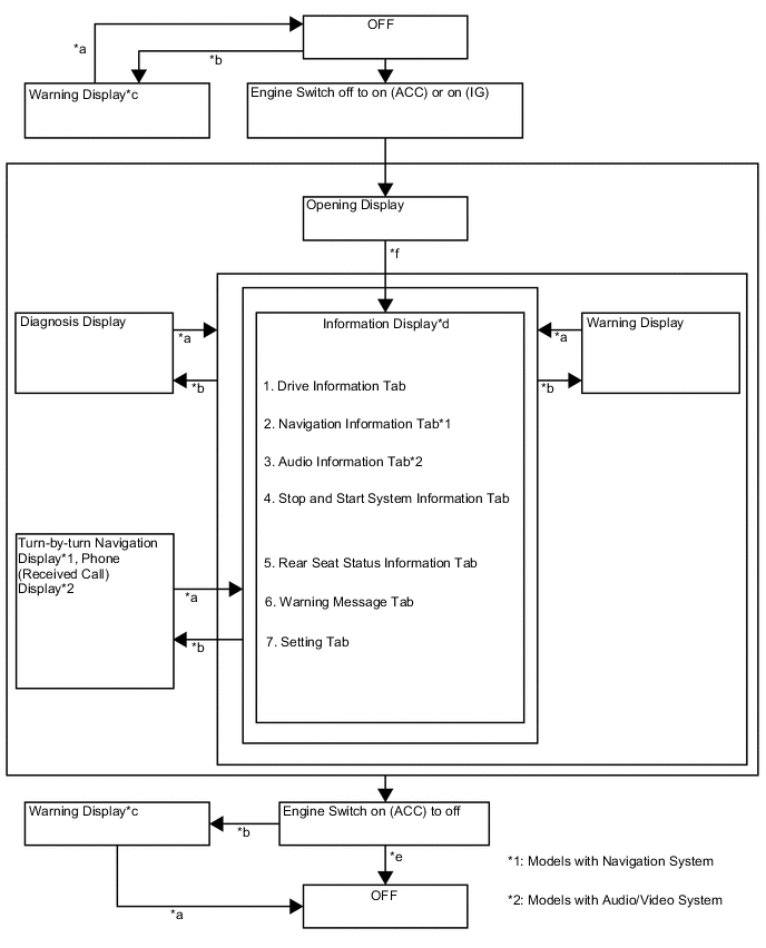
    2. Multi-information Display


      1. Display Function Flow


        • The multi-information display flow can be switched as shown in the flow chart below:

          B006JZZE01
          Item Display Change Condition
          *a Conditions are not met.
          *b Conditions are met.
          *c If there are multiple display requests, items will be displayed in sequence.
          *d Item or display is selected by operating the steering pad switch assembly.
          *e ODO display is displayed for a certain period of time after the ignition switch is turned off.
          *f After engine switch on (IG).
      2. Display Tab Operation


        • The information currently displayed can be switched using the RIGHT/LEFT switch on the steering pad switch assembly.

          B006JZ3C01
          *A Models with Navigation System *B Models with Audio/Video System
          *1 Steering Pad Switch Assembly - -
          *a LEFT Switch *b RIGHT Switch
          *c Drive Information *d Navigation Information
          *e Audio Information *f Stop and Start System Information
          *g Rear Seat Status Information *h Warning Message
          *i Settings *j The illustrations shown are examples only.
          B006K0K RIGHT switch operation B006KF4 LEFT switch operation
      3. Drive Information Mode Function


        • Drive information shows vehicle information such as drivable range and fuel consumption.

        • The drive information can be switched using the UP/DOWN switch on the steering pad switch assembly.

          B006KBZC01
          *1 Steering Pad Switch Assembly - -
          *a UP/DOWN Switch *b Drive Information 1
          *c Drive Information 2 *d Eco Indicator
          *e Vehicle Speed (Digital Display) *f Blank
          *g The illustrations shown are examples only. - -
          B006K0K DOWN switch operation B006KF4 UP switch operation
      4. Stop and Start System Information (Models with Stop and Start System)


        • The stop and start system information shows amount of engine stoppage time and amount of saving fuel.

        • The stop and start system information display can be changed using the UP/DOWN switch of the steering pad switch assembly.

          B006K20C01
          *1 Steering Pad Switch Assembly - -
          *a UP/DOWN Switch *b Amount of Engine Stoppage Time Information
          *c Amount of Saving Fuel Information *d The illustrations shown are examples only.
          B006K0K DOWN switch operation B006KF4 UP switch operation
      5. Rear Seat Status Information


        • The rear seat status information shows status of rear air conditioner and window.

        • The rear seat status information can be used to change settings of rear roof illumination.

        • The rear seat status information display can be changed using the UP/DOWN switch of the steering pad switch assembly.

          B006KBSC01
          *1 Steering Pad Switch Assembly - -
          *a UP/DOWN Switch *b Status of Rear Air Conditioner
          *c Status of Rear Window *d Setting of Rear Roof Illumination
          *e The illustrations shown are examples only. - -
          B006K0K DOWN switch operation B006KF4 UP switch operation
      6. Setting Function


        • The items displayed on the multi-information display can be customized.

        • The following items can be selected on the information setting screen.

          Item Available Setting
          Toyota Parking Assist-sensor System

          The Toyota parking assist-sensor system can be switched to ON or OFF:


          • On

          • Off

          BSM*1

          The blind spot monitor system can be switched to ON or OFF:


          • On

          • Off

          RCTA*2

          RCTA function can be switched to ON or OFF:


          • On

          • Off

          nanoeTM*3*4

          nanoeTMgenerator operation can be switched to ON or OFF:


          • On

          • Off

          Vehicle Setting Stop & Start

          The engine stop operation time when the air conditioning system is on can be selected:


          • On

          • Off

          BSM*1 Brightness

          The outer rear view mirror indicator light brightness can be switched:


          • Bright

          • Dim

          Sensitivity

          The blind spot monitor system warning timing can be selected:


          • Early (Image Display)

          • Middle (Image Display)

          • Late (Image Display)

          • Blind Spot Area Only (Image Display)

          RCTA Volume*2

          The RCTA function buzzer volume can be switched:


          • 1

          • 2

          • 3

          Power Slide Door Buzzer Tone

          The power slide door buzzer tone can be switched:


          • Buzzer A

          • Buzzer B

          • Buzzer C

          Buzzer Volume

          The power slide door buzzer volume can be switched:


          • Off

          • Low

          • High

          Meter Settings Language

          The language used on the multi-information display can be selected:


          • English

          • Russian*5

          • Chinese*6

          Units

          The units displayed on the multi-information display can be selected:


          • km/L

          • L/100km

          ECO Driving Indicator Light

          The Eco driving indicator light can be switched to ON or OFF:


          • On

          • Off

          Drive Info 1

          2 items can be selected among the following:


          • Current Fuel Economy (Bar Display)/Average Fuel Economy (Mark Display)

          • Total Average Fuel Consumption Between Reset Operations

          • Average Fuel Consumption After Engine Start-up

          • Average Fuel Consumption After Refueling

          • Total Average Vehicle Speed Between Reset Operations

          • Average Vehicle Speed After Engine Start-up

          • Cruising Range After Engine Start-up

          • Total Elapsed Time Between Reset Operations

          • Elapsed Time After Engine Start-up

          • Cruising Range

          • Blank

          Drive Info 2

          2 items can be selected among the following:


          • Current Fuel Economy (Bar Display)/Average Fuel Economy (Mark Display)

          • Total Average Fuel Consumption Between Reset Operations

          • Average Fuel Consumption After Engine Start-up

          • Average Fuel Consumption After Refueling

          • Total Average Vehicle Speed Between Reset Operations

          • Average Vehicle Speed After Engine Start-up

          • Cruising Range After Engine Start-up

          • Total Elapsed Time Between Reset Operations

          • Elapsed Time After Engine Start-up

          • Cruising Range

          • Blank

          Pop-Up Display Intersection Guidance*7

          The intersection guidance pop-up display can be switched to ON or OFF:


          • On

          • Off

          Incoming Calls*8

          The incoming calls pop-up display can be switched to ON or OFF:


          • On

          • Off

          Stop and Start System Duration

          The stop and start system duration pop-up display can be switched to ON or OFF:


          • On

          • Off

          Stop and Start System Status

          The stop and start system status pop-up display can be switched to ON or OFF:


          • On

          • Off

          Adjust Brightness

          The adjust brightness pop-up display can be switched to ON or OFF:


          • On

          • Off

          Color*6 The accent color can be selected from 4 colors.
          Switch Settings

          The item that is displayed when the TOP switch is pressed can be selected among the following:


          • Drive Information 1

          • Drive Information 2

          • Eco Driving Indicator Zone Display

          • Vehicle Speed (Digital Display)

          • Blank

          • Navigation Information*7

          • Audio Information*8

          • Stop and Start System Information

          • Amount of Saving Fuel Information

          • Status of Rear Air Conditioner

          • Status of Rear Window

          • Setting of Rear Roof Illumination

          • Warning Message

          • Settings

          Initialize Display

          The configured items can be reset:


          • Yes

          • No

          *1: Models with blind spot monitor system

          *2: Models with RCTA function

          *3: Models with No.1 ion generator sub-assembly

          *4: nanoeTMis a trademark of Panasonic Corporation.

          *5: Destination package models for Russia

          *6: Destination package models except for Russia

          *7: Models with navigation system

          *8: Models with audio/video system

      7. Warning Mode Function


        • When a warning is necessary, the warning display interrupts the current display on the multi-information display.

        • The master warning light may illuminate or blink and the buzzer in the combination meter assembly may sound depending on the item displayed on the multi-information display.

        Priority Display Master Warning Light Buzzer
        1 Headlight System Uninitialized Visit Your Dealer - -
        Push and Hold Engine Switch for Emergency Stop Blinks Sounds
        Shift to N and Press Engine Switch to Restart Blinks Sounds
        Engine Stopped Shift to P Blinks Sounds
        Engine Stopped Stop in a Safe Place Blinks Sounds
        2 Braking Power Low Stop in a Safe Place See Owner's Manual Blinks Sounds
        Shift to P Before Exiting Vehicle Blinks Sounds
        3 Door open (while driving)*1 Blinks Sounds
        Door open - -
        Parking assist sensor detection (image display) - -
        Parking Assist Malfunction Illuminates -
        Clean Parking Assist Sensor Illuminates -
        4 Power Turned Off to Save Battery - -
        5 EPB Cannot be Released Close Door and Fasten your Seatbelt Blinks Sounds
        6 Power Steering Malfunction Steering Power Low Visit Your Dealer Blinks*2/ Illuminates*3 Sounds
        Steering Power Low Visit Your Dealer Blinks*2/ Illuminates*3 Sounds
        Power Steering Malfunction Visit Your Dealer Illuminates Sounds
        Release Parking Brake Blinks Sounds
        Vehicle May Roll Shift to P Blinks Sounds
        Brake Hold Fault Depress Brake to Deactivate Visit Your Dealer Illuminates Sounds
        Brake Hold Warning Depress Brake on Slope Blinks Sounds
        EPB Activation Stopped Incompletely Blinks Sounds
        Key Not Detected Check Key Location Blinks Sounds
        Release Parking Brake while Depressing Brake Blinks Sounds
        Release Accelerator Blinks Sounds
        7 Parking Brake Overheated Parking Brake Unavailable Blinks Sounds
        8 Rear Cross Traffic Alert Malfunction Visit Your Dealer*4 Illuminates Sounds
        Rear Cross Traffic Alert Unavailable*4 Illuminates Sounds
        Check Engine Visit Your Dealer Illuminates Sounds
        Check Engine Reduced Engine Power Visit Your Dealer Illuminates Sounds
        Reduced Engine Power Visit Your Dealer Illuminates Sounds
        Antilock Brake System Malfunction Visit Your Dealer - Sounds
        Engine Coolant Temp High Stop in a Safe Place See Owner's Manual Illuminates Sounds
        Smart Entry & Start System Malfunction See Owner's Manual Blinks Sounds
        Blind Spot Monitor Unavailable*5 Illuminates Sounds
        Cruise Control Malfunction Visit Your Dealer*6 Illuminates Sounds
        Cruise Control Fault Press Brake to Deactivate Visit Your Dealer*6 Illuminates Sounds
        Blind Spot Monitor Malfunction Visit Your Dealer*5 Illuminates Sounds
        Low Oil Pressure Stop in a Safe Place See Owner's Manual Illuminates Sounds
        Parking Brake Unavailable Illuminates Sounds
        Electronic Parking Brake Malfunction Visit Your Dealer Illuminates Sounds
        Vehicle may Roll Out Park the Vehicle on Flat Road Blinks Sounds
        9 Stop & Start System Malfunction Visit Your Dealer Illuminates Sounds
        Engine Stopped Steering Power Low Illuminates Sounds
        Turn Off Vehicle Blinks Sounds
        Key Left inside Vehicle Blinks Sounds
        Moon Roof Open*7 Blinks Sounds
        Window Open Blinks Sounds
        Window or Moon Roof Open*7 Blinks Sounds
        Depress Brake and Then Touch Key to Engine Switch Blinks Sounds
        Depress Brake and Then Start Engine - Sounds
        10 Steering Wheel Lock Press Engine Switch while Turning Wheel Blinks Sounds
        Brake Hold Malfunction Visit Your Dealer Illuminates Sounds
        Brake Hold Active Depress Brake and Switch to Deactivate - Sounds
        Brake Hold Unavailable Driver Door Open - Sounds
        Brake Hold Unavailable Driver Seat Belt Unbuckled - Sounds
        Depress Brake to Maintain Brake Hold - Sounds
        Fasten Driver Seat Belt to Maintain Brake Hold - Sounds
        Parking Brake Activated Release Before Driving Blinks Sounds
        Brake Hold Unavailable - Sounds
        Brake Hold Deactivated - Sounds
        Brake Hold Deactivated Parking Brake Automatically Applied - Sounds
        Drive-Start Control Malfunction Visit Your Dealer Illuminates Sounds
        Brake Override Malfunction Visit Your Dealer Illuminates Sounds
        11 Key Battery Low Illuminates Sounds
        Engine Oil Level Low Add or Replace*8 - -
        Headlight System Malfunction Visit Your Dealer Illuminates Sounds
        Accelerator and Brake Pedals Depressed Simultaneously Blinks -
        12 Traction Control Turned Off - -
        To Activate Auto High Beam, Switch Headlights to High Beam*9 - -
        Depress Brake and Then Start Engine - -
        High Power Consumption Partial Limit On AC/Heater Operation - -
        Automatic Mode On Shift Operation Sets or Releases Parking Brake - Sounds
        Automatic Mode Off - Sounds

        *1: If the vehicle has reached a speed of 5 km/h

        *2: If the power steering system has been disabled

        *3: If the power steering system has been limited

        *4: Models with RCTA function

        *5: Models with blind spot monitor system

        *6: Models with cruise control system

        *7: Models with sliding roof system

        *8: Models with 2GR-FKS engine

        *9: Models with automatic high beam system

  2. OPERATION


    1. Eco Driving Indicator Light and Eco Driving Indicator Zone Display


      1. The following table shows the operation of Eco Driving Indicator Light and Eco driving indicator zone display in different driving conditions:

        Driving Condition Eco Driving Indicator Light Eco Driving Indicator Zone Display
        While Stopped Turns off B006K6M
        While Eco Driving Turns on B006KCN
        While Non-eco Driving Turns off B006K0F

        When any of the following conditions is met, operation is stopped.


        • Engine switch off

        • Engine stopped

        • Shift lever is not in D.

        • The vehicle is being driven at a speed of 130 km/h (81 mph) or higher.

        Turns off B006K4R