PANORAMIC VIEW MONITOR SYSTEM


  1. FUNCTION OF MAIN COMPONENTS

    Component Function
    Front Television Camera Assembly Outputs a video signal of the area in front of the vehicle to the parking assist ECU.
    Rear Television Camera Assembly Outputs a video signal of the area to the rear of the vehicle to the parking assist ECU.
    Side Television Camera Assembly LH Outputs a video signal of the area to the left side of the vehicle to the parking assist ECU.
    Side Television Camera Assembly RH Outputs a video signal of the area to the right side of the vehicle to the parking assist ECU.

    Steering Pad Switch Assembly


    • Panoramic View Monitor Main Switch

    Switches the panoramic view monitor system screen display.

    Spiral Cable with Sensor Sub-assembly


    • Steering Sensor


    • Receives operation signals from the steering pad switch assembly and transmits them to the combination meter assembly.

    • Detects the angle of the steering wheel and sends the resulting signals to the parking assist ECU.

    Park/Neutral Position Switch Assembly Transmits the shift position signal to the ECM.
    Parking Assist ECU
    • Combines video signals from the front, rear, left and right television camera assemblies to create a seamless overhead image.

    • Calculates each guide line based on information signals from each ECU and sensor, combines the lines with the panoramic view and images from each television camera assembly, and outputs a video signal to the navigation receiver assembly.

    • Turns each television camera assembly on and off according to the input shift position signal and panoramic view monitor main switch signal.

    • Combines detection information with the currently displayed panoramic view monitor system screen according to signals from the clearance warning ECU assembly and outputs a video signal to the navigation receiver assembly.

    Navigation Receiver Assembly
    • Displays the video signal from the parking assist ECU.

    • Outputs the screen status to the parking assist ECU, such as when the screen display mode switches and the automatic display mode turns on and off.

    Clearance Warning ECU Assembly Outputs obstacle detection information to the parking assist ECU.
    ECM Transmits received shift position signals to the parking assist ECU.

    Brake Actuator Assembly


    • Skid Control ECU

    Transmits received vehicle speed signals to the parking assist ECU.
    Main Body ECU (Multiplex Network Body ECU) Outputs the front door and back door opening and closing signals, etc., to the parking assist ECU.
    Network Gateway ECU Relays and transmits each CAN communication data signal.
    DLC3 System diagnosis is performed by using the diagnostic tool.
  2. SYSTEM CONTROL


    1. Each screen of the panoramic view monitor system displays guide lines, estimated course lines, etc., together according to the selected screen display mode to inform the driver of the tire positions and trajectories which cannot be directly seen from the driver seat.

    2. When the TOYOTA parking assist-sensor system detects an obstacle, obstacle detection information is displayed superimposed on the screen according to each screen display mode. For details, refer to TOYOTA parking assist-sensor system.

  3. OPERATING CONDITION


    1. Manual display mode and automatic display mode are provided for the display method of the panoramic view monitor system.


      1. Manual Display Mode


        • Manual display mode is a method of displaying the panoramic view monitor system screen according to the needs of the driver via operation of the panoramic view monitor main switch.

        • The screen displayed when the panoramic view monitor main switch is pressed differs according to the shift position.

        • When the vehicle speed exceeds 20 km/h (12 mph), the panoramic view monitor system screen ends and switches to display the navigation screen or information screen.

      2. Automatic Display Mode


        • When starting off and stopping the vehicle in automatic display mode, it is possible to display the "panoramic view and wide front view" or "side simultaneous view" automatically instead of by pressing the panoramic view monitor main switch. Refer to the following chart for the screen display conditions.

        • The automatic display mode can be set with the auto mode button displayed on the screen.

          Automatic Display Mode Screen Display Conditions
          Display Screen Display Conditions Assumed Situation
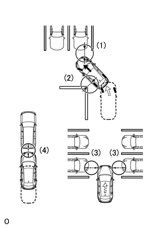
          Display when starting off Vehicle speed is 10 km/h (6 mph) or less and shift lever is not in P or R B006KCY
          (1) Check surroundings
          Display when stopping vehicle Shift lever is not in P or R and vehicle speed becomes 10 km/h (6 mph) or less B006K28

          (1) Forward blind spot

          (2) Inside blind spot

          (3) Vehicle width

          (4) Vehicle-to-vehicle distance

  4. FUNCTION


    1. Panoramic View Monitor System Display Range


      1. Panoramic View


        • The display range of the panoramic view image is as follows. However, the range differs according to the vehicle and road surface conditions.

          Note

          The panoramic view image display range is limited and objects in the blind spot close to the vehicle or objects taller than the road surface may not be displayed. Also, the clearness at the four corners may be reduced. Take care when driving.

          B006K7QC01
          *a Image Combination Processing Area *b Approximately 2.0 m (6.6 ft.)
          *c Approximately 3.0 m (9.8 ft.) *d Blind Spot
      2. Wide Front View


        • The wide front view image is an image of the following front television camera assembly imaging range. However, the range differs according to the vehicle and road surface conditions.

          Tech Tips

          Since the driver's sense of the distance in front of the vehicle differs from actual conditions, masking (mask area) is used.

          Note

          The image display range is limited. Also, since objects near either end of the bumper and objects positioned directly under and near the bumper may not be displayed, take care when driving.

          B006K9QC01
          *a Mask Area *b Approximately 5.0 m (16.4 ft.)
          *c Approximately 180° *d Approximately 0.4 m (1.3 ft.)
          *e The illustrations shown are examples only. - -
          B006JXV Front Television Camera Assembly Imaging Range - -
      3. Rear View / Wide Rear View


        • The rear view image is an image of the following rear television camera assembly imaging range. However, the range differs according to the vehicle and road surface conditions.

          Note

          The image display range is limited. Also, since objects near either end of the bumper and objects positioned directly under and near the bumper may not be displayed, take care when driving.

          B006K96C01
          *a The illustrations shown are examples only. - -
          B006JXV Rear Television Camera Assembly Imaging Range (Rear View) B006K39 Rear Television Camera Assembly Imaging Range (Wide Rear View)
      4. Side Simultaneous View


        • The side simultaneous view image is an image of the following side television camera assembly imaging range. However, the range differs according to the vehicle and road surface conditions.

          Note

          The image display range is limited, take care when driving.

          B006KGQC01
          *a The illustrations shown are examples only. - -
          B006JXV Side Television Camera Assembly Imaging Range - -
      5. Side View


        • The side view image is an image of the following side television camera assembly imaging range. However, the range differs according to the vehicle and road surface conditions.

          Note

          The image display range is limited, take care when driving.

          B006K06C01
          *a The illustrations shown are examples only. - -
          B006JXV Side Television Camera Assembly Imaging Range - -
    2. Panoramic View Monitor System Screen and Operation


      1. Each screen of the panoramic view monitor system displays guide lines, estimated course lines, etc., together according to the selected screen display mode to inform the driver of the tire positions and trajectories which cannot be directly seen from the driver seat.

      2. When the TOYOTA parking assist-sensor system detects an obstacle, obstacle detection information is displayed superimposed on the screen according to each screen display mode.

    3. Panoramic View and Wide Front View


      1. Panoramic View and Wide Front View Display Contents


        • The panoramic view created by combining images from each television camera assembly and the image from the front television camera assembly are displayed simultaneously. The images assist with confirming the safety of the surroundings and areas to the left and right of the vehicle at locations with poor visibility, such as intersections and T-junctions.

          Tech Tips

          When the outer rear view mirror assemblies are retracted, the side view and wide front view is displayed.

          Figure 1. Panoramic View and Wide Front View Display Contents

          B006KAFC01
          *a The illustration shown is an example only. The illustration may differ from the actual vehicle screen. - -
          Item Description
          (1) Wide Front View An image captured by the front television camera assembly of the area in front of the vehicle.
          (2) Panoramic View Displays an overhead image created by combining images from the front, rear, left and right side television camera assemblies.
          (3) Warning Message Warns the driver according to the message on the display.
          (4) Masking Since the driver's sense of the distance in front of the vehicle differs from actual conditions, masking is used.
          (5) Vehicle Reflection Parts of the vehicle (grille and bumper) are displayed.
          (6) Auto Mode Button*1, *2 Can be used to turn the automatic display mode on and off. When the automatic display mode is on, an indicator inside the button illuminates.
          (7) Camera Direction Display Vehicle Icon Indicates that the "wide front view" is displayed on the left side of the screen.
          (8) Display Mode Switch Button Pressing this button changes the display mode.
          (9) Zoom Function Description Button Displays a screen explaining the zoom function.
          (10) Forward Estimated Course Line*1, *3 (Yellow)
          • Displays the estimated course calculated from the steering angle.

          • Displays the estimated course ahead of the front of the vehicle on the outside of the steering direction, and the estimated course ahead of the rear of the vehicle on the inside of the steering direction.

          (11) Panoramic View Vehicle Icon*4 Displays the vehicle position in the panoramic view.
          (12) Parking Assist-sensor System Cooperative Display When the TOYOTA parking assist-sensor system detects an obstacle, the obstacle detection direction and distance are displayed superimposed on the screen.
          (13) Front Vehicle Width Extension Line (Blue) These lines are vehicle width extension lines. The lines displayed are wider than the actual vehicle width.
          (14) Front Distance Guide Line (Blue) These lines are distance guide lines showing the distance forward from the edge of the front bumper. (Approximately 1.0 m (3.3 ft.))

          Tech Tips

          *1: Not displayed when the panoramic view and wide front view is displayed with the shift lever in R.

          *2: Not displayed when the side view and wide front view is displayed while the shift lever is in P or R and the outer rear view mirror assembly is retracted.

          *3: Displayed when the guide line display is set to "Estimated Course Line Display Mode" and the steering angle is not positioned straight ahead.

          *4: The color of the panoramic view vehicle icon can be changed. Refer to the Repair Manual for the details.

      2. Estimated Course Line Display Mode


        • The forward estimated course lines assist with driving operations performed to avoid obstacles by guiding the steering angle according to the estimated course on the outside and inside of the steering direction to prevent overlapping of each guide line with obstacles, etc.

          B006KFUC01
          *a Forward Estimated Course Line *b The illustrations shown are examples only. The illustrations may differ from the actual vehicle screens.
      3. Distance Guide Line Display Mode


        • Forward perpendicular parking operations are assisted by driving forward while steering so that the front distance guide lines and front vehicle width extension lines do not overlap the curb and actual white lines, etc.

          B006JV9C01
          *a Front Distance Guide Line *b Parking Space Line
          *c Front Vehicle Width Extension Line *d The illustrations shown are examples only. The illustrations may differ from the actual vehicle screens.
    4. Side View and Wide Front View (When Outer Rear View Mirror Assemblies are Retracted)


      1. Side View and Wide Front View Display Contents


        • When the outer rear view mirror assemblies are retracted, the panoramic view does not display. Instead, an enlarged image from the side television camera RH and the wide front view are displayed to assist with confirming the safety of the surroundings and parking close to another object, etc.

          Figure 2. Side View and Wide Front View Display Contents

          B006K8CC01
          *a The illustration shown is an example only. The illustration may differ from the actual vehicle screen. - -
          Item Description
          (1) Wide Front View An image captured by the front television camera assembly of the area in front of the vehicle.
          (2) Side View (Right Side) An image of the area to the right of the vehicle captured by the side television camera assembly RH.
          (3) Parking Assist-sensor System Cooperative Icon When the TOYOTA parking assist-sensor system detects an obstacle, the obstacle detection direction and distance are displayed superimposed on the screen.
          (4) Warning Message Warns the driver according to the message on the display.
          (5) Rear Tire Contact Line (Blue) A guide line showing the rear right tire contact position.
          (6) Vehicle Width Parallel Line (Blue) A vehicle width guide line including the outer rear view mirror assembly.
          (7) Front Tire Contact Line (Blue) A guide line showing the front right tire contact position.
          (8) Front Distance Guide Line (Red) This line is distance guide line showing the distance forward from the edge of the front bumper. (Approximately 0.5 m (1.6 ft.))
    5. Panoramic View and Rear View


      1. Panoramic View and Rear View Display Contents


        • The panoramic view created by combining images from the front, rear, left and right side television camera assemblies and the image from the rear television camera assembly are displayed simultaneously. The images assist with confirming the safety of the surroundings and operating the vehicle in reverse.

          Figure 3. Panoramic View and Rear View Display Contents

          B006K84C01
          *a The illustration shown is an example only. The illustration may differ from the actual vehicle screen. - -
          Item Description
          (1) Rear View An image captured by the rear television camera assembly of the area to the rear of the vehicle.
          (2) Panoramic View Displays an overhead image created by combining images from the front, rear, left and right side television camera assemblies.
          (3) Warning Message Warns the driver according to the message on the display.
          (4) Parking Assist Guide Line*1 (Blue) Indicates the path the vehicle will follow when the driver turns the steering wheel fully.
          (5) Rear Estimated Course Line*2 (Yellow) Moves in sync with the steering wheel to indicate the estimated reverse course of the vehicle.
          (6) Rear Vehicle Width Extension Line*3 (Blue) Indicates the estimated vehicle width.
          (7) Edge of Rear Bumper The edge of the rear bumper is displayed on the screen.
          (8) Camera Angle Mode Switch Button Switches the wide rear view.
          (9) Rear Distance Guide Line (Yellow/Red)*4 These lines are distance guide lines showing the distance from the edge of the rear bumper. (Approximately 1.0 m (3.3 ft.): yellow, approximately 0.5 m (1.6 ft.): red)
          (10) Camera Direction Display Vehicle Icon Indicates that the "rear view" is displayed on the left side of the screen.
          (11) Rear Distance Guide Line (Blue*5) These lines are distance guide lines showing the distance from the edge of the rear bumper. (Approximately 0.5 m (1.6 ft.))
          (12) Display Mode Switch Button Pressing this button changes the display mode.
          (13) Zoom Function Description Button Displays a screen explaining the zoom function.
          (14) Panoramic View Vehicle Icon*6 Displays the vehicle position in the panoramic view.
          (15) Side Estimated Course Line*4 (Yellow)
          • Displays the estimated course calculated from the steering angle.

          • Displays the estimated course on the outside of the steering direction.

          (16) Parking Assist-sensor System Cooperative Display When the TOYOTA parking assist-sensor system detects an obstacle, the obstacle detection direction and distance are displayed superimposed on the screen.
          (17) Front Vehicle Width Extension Line (Blue) These lines are vehicle width extension lines. The lines displayed are wider than the actual vehicle width.
          (18) Front Distance Guide Line (Blue) These lines are distance guide lines showing the distance forward from the edge of the front bumper. (Approximately 1.0 m (3.3 ft.))

          Tech Tips

          *1: The side estimated course line or rear estimated course line and the parking assist guide line cannot be displayed simultaneously.

          *2: Displayed when the guide line display is set to "Estimated Course Line Display Mode".

          *3: Not displayed when the steering angle is approximately straight ahead.

          *4: Displayed when the guide line display is set to "Estimated Course Line Display Mode" and the steering angle is not positioned straight ahead.

          *5: Turns red in "Parking Assist Guide Line Display Mode" and "Distance Guide Line Display Mode".

          *6: The color of the panoramic view vehicle icon can be changed. Refer to the Repair Manual for the details.

      2. Estimated Course Line Display Mode (Perpendicular Parking (Entering Parking Space))


        • The estimated course lines inform the driver of the steering angle when driving in reverse. By driving the vehicle in reverse while steering to match the rear estimated course lines with the parking space boundary line, the vehicle can be guided into the parking space. Also, the side estimated course line assists with operations performed to avoid contact with obstacles, etc., on the outside of the steering direction.

        • The rear vehicle width extension lines can be used to determine whether the vehicle is parked straight in the parking space by confirming whether the parking space lines and rear vehicle width extension lines are crossed or parallel.

          B006JXWC01
          *a Side Estimated Course Line *b Rear Vehicle Width Extension Line
          *c Rear Estimated Course Line *d Parking Space Line
          *e The illustrations shown are examples only. The illustrations may differ from the actual vehicle screens. - -
      3. Estimated Course Line Display Mode (Parallel Parking)


        • The estimated course lines inform the driver of the steering angle when driving in reverse, such as when parallel parking. By driving the vehicle in reverse while steering to match the rear estimated course lines with the side of the road or parking space boundary line, etc. of the desired parking position, the vehicle can be guided into the parking space. Also, the side estimated course line assists with operations performed to avoid contact with obstacles, etc., on the outside of the steering direction.

        • The rear vehicle width extension lines can be used to determine whether the vehicle is parked straight in the desired parking position by confirming the status of the shoulder and parking space lines, etc., and rear vehicle width extension lines.

          B006KG9C01
          *a Side Estimated Course Line *b Rear Vehicle Width Extension Line
          *c Shoulder and Parking Space Lines, etc. *d Rear Estimated Course Line
          *e The illustrations shown are examples only. The illustrations may differ from the actual vehicle screens. - -
      4. Parking Assist Guide Line Display Mode (Perpendicular Parking (Entering Parking Space))


        • The parking assist guide lines inform the driver of the steering angle when the steering wheel is fully turned while driving in reverse. By driving the vehicle in reverse to match the parking assist guide lines with the parking space boundary line, the vehicle can be guided to an appropriate position to start turning the steering wheel.

          B006K5AC01
          *a Parking Assist Guide Line *b Parking Space Line
          *c The illustrations shown are examples only. The illustrations may differ from the actual vehicle screens. - -
      5. Parking Assist Guide Line Display Mode (Parallel Parking)


        • The parking assist guide lines are used as a guide to know where to stop the vehicle when driving the vehicle straight back in reverse, such as when parallel parking. By driving the vehicle in reverse until the parking assist guide lines match the side of the road or parking space boundary line, the vehicle can be guided to an appropriate position to start turning the steering wheel.

          B006JXRC01
          *a Shoulder and Parking Space Lines, etc. *b Parking Assist Guide Line
          *c The illustrations shown are examples only. The illustrations may differ from the actual vehicle screens. - -
    6. Side View and Rear View (when Outer Rear View Mirror Assemblies are Retracted)


      1. Side View and Rear View Display Contents


        • When the outer rear view mirror assemblies are retracted, the side television camera assembly RH and rear television camera assembly images simultaneously display and assist with confirming the safety of the surroundings and parking close to the curb, etc., with the vehicle width parallel lines.

          Figure 4. Side View and Rear View Display Contents

          B006JY0C01
          *a The illustration shown is an example only. The illustration may differ from the actual vehicle screen. - -
          Item Description
          (1) Rear View An image captured by the rear television camera assembly of the area to the rear of the vehicle.
          (2) Side View (Right Side) An image of the area to the right of the vehicle captured by the side television camera assembly RH.
          (3) Parking Assist-sensor System Cooperative Icon When the TOYOTA parking assist-sensor system detects an obstacle, the obstacle detection direction and distance are displayed superimposed on the screen.
          (4) Warning Message Warns the driver according to the message on the display.
          (5) Rear Tire Contact Line (Blue) A guide line showing the rear right tire contact position.
          (6) Vehicle Width Parallel Line (Blue) A vehicle width guide line including the outer rear view mirror assembly.
          (7) Front Tire Contact Line (Blue) A guide line showing the front right tire contact position.
          (8) Front Distance Guide Line (Red) This line is distance guide line showing the distance forward from the edge of the front bumper. (Approximately 0.5 m (1.6 ft.))
    7. Wide Rear View


      1. Wide Rear View Display Contents


        • An enlarged image from the rear television camera assembly is displayed to assist with confirming the safety of the left and right sides of the vehicle while driving in reverse.

          Figure 5. Wide Rear View Display Contents

          B006JYFC01
          *a The illustration shown is an example only. The illustration may differ from the actual vehicle screen. - -
          Item Description
          (1) Wide Rear View An image captured by the rear television camera assembly of the area to the rear of the vehicle.
          (2) Parking Assist Guide Line*1 (Blue) Indicates the path the vehicle will follow when the driver turns the steering wheel fully.
          (3) Warning Message Warns the driver according to the message on the display.
          (4) Rear Estimated Course Line*2 (Yellow) Moves in sync with the steering wheel to indicate the estimated reverse course of the vehicle.
          (5) Camera Angle Mode Switch Button Switches to the "panoramic view and rear view" or "side view and rear view" according to the state of the outer rear view mirror assembly (extended/retracted).
          (6) Edge of Rear Bumper The edge of the rear bumper is displayed on the screen.
          (7) Rear Distance Guide Line (Yellow/Red)*3 These lines are distance guide lines showing the distance from the edge of the rear bumper. (Approximately 1.0 m (3.3 ft.): yellow, approximately 0.5 m (1.6 ft.): red)
          (8) Camera Direction Display Vehicle Icon Indicates that the "wide rear view" is displayed.
          (9) Rear Distance Guide Line (Blue*4) These lines are distance guide lines showing the distance from the edge of the rear bumper. (Approximately 0.5 m (1.6 ft.))
          (10) Display Mode Switch Button Pressing this button changes the display mode.
          (11) Rear Vehicle Width Extension Line*5 (Blue) Indicates the estimated vehicle width.
          (12) Parking Assist-sensor System Cooperative Icon When the TOYOTA parking assist-sensor system detects an obstacle, the obstacle detection direction and distance are displayed superimposed on the screen.

          Tech Tips

          *1: The rear estimated course line and the parking assist guide line cannot be displayed simultaneously.

          *2: Displayed when the guide line display is set to "Estimated Course Line Display Mode".

          *3: Displayed when the guide line display is set to "Estimated Course Line Display Mode" and the steering angle is not positioned straight ahead.

          *4: Turns red in "Parking Assist Guide Line Display Mode" and "Distance Guide Line Display Mode".

          *5: Not displayed when the steering angle is approximately straight ahead.

      2. Estimated Course Line Display Mode (Perpendicular Parking (Entering Parking Space))


        • The estimated course lines inform the driver of the steering angle when driving in reverse. By driving the vehicle in reverse while steering to match the rear estimated course lines with the parking space boundary line, the vehicle can be guided into the parking space.

        • The rear vehicle width extension lines can be used to determine whether the vehicle is parked straight in the parking space by confirming the status of the parking space lines and rear vehicle width extension lines.

          B006KF7C01
          *a Rear Vehicle Width Extension Line *b Rear Estimated Course Line
          *c Parking Space Line *d The illustrations shown are examples only. The illustrations may differ from the actual vehicle screens.
      3. Estimated Course Line Display Mode (Parallel Parking)


        • The estimated course lines inform the driver of the steering angle when driving in reverse, such as when parallel parking. By driving the vehicle in reverse while steering to match the rear estimated course lines with the side of the road or parking space boundary line, etc. of the desired parking position, the vehicle can be guided into the parking space.

        • The rear vehicle width extension lines can be used to determine whether the vehicle is parked straight in the desired parking position by confirming the status of the shoulder and parking space lines, etc., and rear vehicle width extension lines.

          B006JV2C01
          *a Rear Vehicle Width Extension Line *b Shoulder and Parking Space Lines, etc.
          *c Rear Estimated Course Line *d The illustrations shown are examples only. The illustrations may differ from the actual vehicle screens.
      4. Parking Assist Guide Line Display Mode (Perpendicular Parking (Entering Parking Space))


        • The parking assist guide lines inform the driver of the steering angle when the steering wheel is fully turned while driving in reverse. By driving the vehicle in reverse to match the parking assist guide lines with the parking space boundary line, the vehicle can be guided to an appropriate position to start turning the steering wheel.

          B006K2MC01
          *a Parking Assist Guide Line *b Parking Space Line
          *c The illustrations shown are examples only. The illustrations may differ from the actual vehicle screens. - -
      5. Parking Assist Guide Line Display Mode (Parallel Parking)


        • The parking assist guide lines are used as a guide to know where to stop the vehicle when driving the vehicle straight back in reverse, such as when parallel parking. By driving the vehicle in reverse until the parking assist guide lines match the side of the road or parking space boundary line, the vehicle can be guided to an appropriate position to start turning the steering wheel.

          B006KCJC01
          *a Shoulder and Parking Space Lines, etc. *b Parking Assist Guide Line
          *c The illustrations shown are examples only. The illustrations may differ from the actual vehicle screens. - -
      6. Distance Guide Line Display Mode


        • Reverse perpendicular parking operations are assisted by driving in reverse while steering so that the rear distance guide lines do not overlap the curb and actual white lines, etc.

          B006JYSC01
          *a Rear Distance Guide Line *b Parking Space Line
          *c The illustrations shown are examples only. The illustrations may differ from the actual vehicle screens. - -
    8. Side Simultaneous View


      1. Side Simultaneous View Display Contents


        • This view displays images from the side television camera assembly installed on either side of the vehicle and assists with confirming the safety of the area to the side of the vehicle and avoiding contact with obstacles on narrow roads, etc.

        • The side simultaneous view displays even when the outer rear view mirror assemblies are retracted.

          Figure 6. Side Simultaneous View Display Contents

          B006K0IC01
          *a The illustration shown is an example only. The illustration may differ from the actual vehicle screen. - -
          Item Description
          (1) Side View (Front Left Side) An image captured by the side television camera assembly LH of the area to the front left side of the vehicle.
          (2) Side View (Front Right Side) An image captured by the side television camera assembly RH of the area to the front right side of the vehicle.
          (3) Front Distance Guide Line (Red) These lines are distance guide lines showing the distance forward from the edge of the front bumper. (Approximately 0.5 m (1.6 ft.))
          (4) Vehicle Width Parallel Line (Blue) A vehicle width guide line including the outer rear view mirror assembly.
          (5) Auto Mode Button Can be used to turn the automatic display mode on and off. When the automatic display mode is on, an indicator inside the button illuminates.
          (6) Front Tire Contact Line (Blue) A guide line showing the front tire contact position.
          (7) Camera Direction Display Vehicle Icon
          • Indicates that the "side simultaneous view" is displayed.

          • When the TOYOTA parking assist-sensor system detects an obstacle, the icon changes to the parking assist-sensor system cooperative icon.

          (8) Warning Message Warns the driver according to the message on the display.
      2. Vehicle Width Parallel Line (Obstacle Evasion and Driving Close to Objects on Narrow Roads)


        • The vehicle width parallel lines are used as a guide to know the approximate width of the vehicle including the outer rear view mirror assemblies. By driving forward while steering so that the vehicle width parallel lines do not overlap actual obstacles, white lines, curbs, etc., the vehicle can avoid obstacles and drive close to objects on narrow roads.

          B006K7GC01
          *a Wall, Fence, etc. *b Vehicle Width Parallel Line
          *c Narrow Road, etc. *d The illustrations shown are examples only. The illustrations may differ from the actual vehicle screens.
    9. Moving View


      1. Moving View (to Panoramic View) Display Contents


        • This view combines images from the front, rear, left and right side television camera assemblies to display an image of the vehicle from a viewpoint diagonally above the vehicle. The displayed image rotates 360 degrees around the vehicle displayed on the screen to assist with confirming the safety of the surroundings. Furthermore, after the image of the vehicle from a viewpoint diagonally above the vehicle rotates a full 360 degrees, an overhead view of the vehicle is displayed.

        • Using the rotation pause button, the rotation of the moving view can be paused and unpaused at will.

        • When the outer rear view mirror assemblies are retracted, the moving view is not displayed and the side view and wide front view is displayed.

          Figure 7. Moving View (to Panoramic View) Display Contents

          B006K9SC01
          *a The illustration shown is an example only. The illustration may differ from the actual vehicle screen. - -
          Item Description
          (1) Moving View This function displays an image of the vehicle and its surroundings as seen from a viewpoint diagonally above the vehicle while rotating the image 360 degrees around the vehicle displayed on the screen.
          (2) Panoramic View Displays an overhead view from a point above the vehicle.
          (3) See Through View Switch Button Switches to the see through view.
          (4) Rotation Pause Button Pauses and unpauses the rotation of the moving view.
          (5) Warning Message Warns the driver according to the message on the display.

          Tech Tips

          The color of the moving view vehicle icon can be changed. Refer to the Repair Manual for the details.

    10. See Through View


      1. See Through View (to Panoramic View) Display Contents


        • By combining the images from cameras on the front, rear, and both sides of the vehicle, a simulated video display of the area around the vehicle is created. By reducing the size of blind spots from inside the vehicle, it assists in confirming the safety of the area around the vehicle.

        • Using the rotation pause button, the rotation of the see through view can be paused and unpaused at will.

        • When the outer rear view mirror assemblies are retracted, the see through view is not displayed and the side view and wide front view is displayed.

          Figure 8. See Through View (to Panoramic View) Display Contents

          B006JUJC01
          *a The illustrations shown are examples only. The illustrations may differ from the actual vehicle screens. - -
          Item Description
          (1) See Through View Simulated view of the area around the vehicle as seen from inside the vehicle.
          (2) Panoramic View Displays an overhead view from a point above the vehicle.
          (3) Moving View Switch Button Switches to the moving view.
          (4) Rotation Pause Button Pauses and unpauses the rotation of the see through view.
          (5) Warning Message Warns the driver according to the message on the display.
    11. Panoramic View Monitor System Display Operation


      1. The panoramic view monitor system has 2 display modes. "Manual Display Mode" displays the screen according to the needs of the driver, and "Automatic Display Mode" automatically displays the screen when the display conditions are met.

      2. The panoramic view monitor system display can be displayed and switched by operating the panoramic view monitor main switch.

      3. The panoramic view monitor system is displayed when the panoramic view monitor main switch is pressed in manual display mode or the automatic display mode display conditions are met.

      4. When the engine switch is on (IG) and the shift lever is in R, the "panoramic view and rear view" is displayed regardless of the operation status of the panoramic view monitor main switch.

        B006K12C01
        *1 Steering Pad Switch Assembly - -
        *a Panoramic View Monitor Main Switch - -
    12. Panoramic View Monitor System Screen Transition


      1. The panoramic view monitor system assists with confirming the conditions around the vehicle, driving at low speeds and driving when parking with the following screen transitions.

        Figure 9. Screen Transition Chart (when Outer Rear View Mirror Assemblies are Extended)

        B006JZPE01
        Screen Transition Conditions
        No. Conditions
        (1) When the shift lever is moved while the "panoramic view and wide front view" or "side simultaneous view" is displayed after the panoramic view monitor main switch is pressed.
        (2) When the shift lever is moved while the "panoramic view and rear view", "wide rear view" or "panoramic view and wide front view" is displayed following condition (1)
        (3) The vehicle speed has reached approximately 20 km/h (12 mph) or more.
        (4) When the vehicle speed becomes 10 km/h (6 mph) or less (previously displayed "panoramic view and wide front view" or "side simultaneous view" is displayed)
        (5) When the previously displayed "panoramic view and wide front view" or "side simultaneous view" is displayed

        Figure 10. Screen Transition Chart (when Outer Rear View Mirror Assemblies are Retracted)

        B006KE8E01
        Screen Transition Conditions
        No. Conditions
        (1) When the shift lever is moved while the "side view and wide front view" or "side simultaneous view" is displayed after the panoramic view monitor main switch is pressed.
        (2) When the shift lever is moved while the "side view and rear view", "wide rear view" or "side view and wide front view" is displayed following condition (1).
        (3) The vehicle speed has reached approximately 20 km/h (12 mph) or more.
        (4) When the vehicle speed becomes 10 km/h (6 mph) or less (previously displayed "side view and wide front view" or "side simultaneous view" is displayed)
        (5) When the previously displayed "side view and wide front view" or "side simultaneous view" is displayed
    13. Panoramic View Zoom Function


      1. By touching the panoramic view screen, part of the panoramic view vehicle icon can be enlarged.

      2. Using the zoom function, 4 areas near the vehicle corners can be enlarged.

        B006K68C01
        *a Panoramic View Zoom Display *b Zoom Function Description Button
        *c The illustrations shown are examples only. The illustrations may differ from the actual vehicle screens. - -
      3. When panoramic view is being displayed, if the vehicle speed is 20 km/h (12 mph) or lower, selecting the zoom function description button will display a screen explaining the zoom function.

        Tech Tips

        The zoom function description button will be displayed with enhanced tone when zoom is possible, and will be displayed with reduced tone when zoom is not possible. In this way, it is possible to determine whether zoom is possible based on the color of the button.

        B006K9VC02
        *a The illustrations shown are examples only. The illustrations may differ from the actual vehicle screens. - -
  5. DIAGNOSIS


    1. The parking assist ECU is equipped with a diagnosis function which can display a diagnosis menu for the panoramic view monitor system. For details, refer to the Repair Manual.