FUEL SYSTEM


  1. CONSTRUCTION


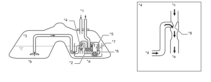
    1. A fuel tank assembly with a shape such as that shown in the illustration tends to isolate fuel in chamber B from that in chamber A when the fuel level is low. This stops the fuel in chamber B from being pumped out. To prevent this from occurring, a jet pump has been provided to transfer the fuel from chamber B to chamber A.

    2. This is accomplished by utilizing the flow of the fuel through the jet pump, so that the pressure difference, which is created by the fuel as it passes through the venturi, is used to suck the fuel out of chamber B and send it to chamber A.

      A01FJO3C01
      *1 Engine *2 Fuel Main Valve Assembly
      *3 Fuel Tank Assembly *4 Jet Pump
      *5 Fuel Pump *6 Fuel Pressure Regulator Assembly
      *7 Fuel Filter *8 Venturi
      *a Chamber A *b Chamber B
      *c from Fuel Main Valve Assembly *d from Chamber B
      *e to Chamber A - -