FUEL SYSTEM


  1. FUNCTION


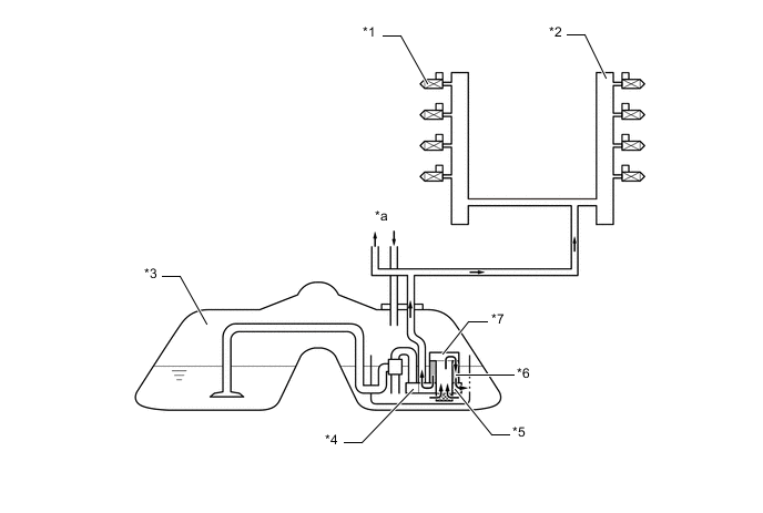
    1. A fuel returnless system is used to reduce evaporative emissions. As shown below, by integrating the fuel filter, fuel pressure regulator assembly and fuel pump assembly (for low pressure), it is possible to discontinue the return of fuel from the engine area, thus preventing temperature rise inside the fuel tank assembly. This reduces the generation of evaporative emissions in the fuel tank assembly.

      A01FJO7C01
      *1 Fuel Injector Assembly (for Port Injection) *2 Fuel Delivery Pipe Sub-assembly (for Port Injection)
      *3 Fuel Tank Assembly *4 Fuel Main Valve Assembly
      *5 Fuel Pressure Regulator Assembly *6 Fuel Filter
      *7 Fuel Pump - -
      *a to High-pressure Fuel Side - -