FUEL SYSTEM


  1. OUTLINE


    1. The 2UR-GSE engine adopts the Direct injection 4-stroke gasoline engine Superior version (D-4S) system which has both direct and port type fuel injectors. This system optimally controls the fuel injectors for direct injection and port injection according to engine load. The system achieves improved engine performance, fuel economy, and clean emissions.

    2. A fuel returnless system is used. This system controls the fuel pressure for the low-pressure part of the fuel system using a pressure regulator installed in the fuel tank assembly. However, the unused fuel from the high pressure fuel pump and the fuel from the relief valve return to the fuel tank assembly.

    3. Fuel cut control is used to stop the fuel pump assembly (for low pressure) when an SRS airbag is deployed in a frontal, side, or rear side collision. For details, Click here.

    4. In order to ensure excellent serviceability, quick connectors are used to connect the fuel pipes to the fuel hoses.

    5. High pressure slit-nozzle type fuel injectors are used for direct injection.

    6. An evaporative emission control system is used. For details, Click here.*

      *: Destination package for South Korea

  2. MAIN FEATURES


    1. D-4S System


      1. The Direct injection 4-stroke gasoline engine Superior version (D-4S) system is based on 2 types of fuel injection systems: the direct injection system and the port injection system.

      2. The direct injection system mainly consists of the fuel pumps (for high pressure), delivery pipes (for direct injection), and fuel injector assemblies (for direct injection). In this system, the ECM controls the high pressure fuel pumps and fuel injector assemblies (for direct injection) via the injector drivers (EDUs: Electronic Driver Units) based on signals from various sensors, thus optimally controlling fuel pressure, injection volume, and injection timing.

      3. The port injection system mainly consists of the fuel pump (for low pressure), delivery pipes (for port injection), and fuel injector assemblies (for port injection). In this system, the ECM controls the fuel injector assemblies (for port injection) based on signals from various sensors, thus optimally controlling injection volume and timing.

      4. Fuel sent from the fuel tank assembly is delivered to the low pressure and high pressure fuel systems. The fuel delivered to the low pressure fuel system is injected from the fuel injector assemblies (for port injection) to the intake ports.

      5. The fuel delivered to the high pressure fuel system is pressurized by the high pressure fuel pumps and injected from the fuel injector assemblies (for direct injection) to the combustion chambers.

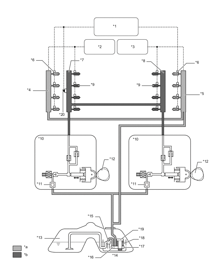
        B004H1ZC01
        *1 ECM *2 NO. 1 EDU (INJECTOR DRIVER)
        *3 NO. 2 EDU (INJECTOR DRIVER) *4 No. 2 Fuel Delivery Pipe Sub-assembly (for Port Injection)
        *5 Fuel Delivery Pipe Sub-assembly (for Port Injection) *6 Fuel Injector Assembly (for Port Injection)
        *7 Fuel Delivery Pipe LH (for Direct Injection) *8 Fuel Delivery Pipe RH (for Direct Injection)
        *9 Fuel Injector Assembly (for Direct Injection) *10 Fuel Pump Assembly (for High Pressure)
        *11 Fuel Pressure Pulsation Damper *12 Intake Camshaft (Cam to Drive Fuel Pump)
        *13 Fuel Tank Assembly *14 Fuel Pump Assembly (for Low Pressure)
        *15 Jet Pump *16 Fuel Main Valve Assembly
        *17 Fuel Pressure Regulator Assembly *18 Fuel Filter
        *19 Fuel Pump *20 Fuel Pressure Sensor
        *a Low Pressure Fuel System *b High Pressure Fuel System