ENGINE UNIT


  1. CONSTRUCTION


    1. Accessory components are driven by a serpentine belt consisting of a single V-ribbed belt (fan and generator V belt). It reduces the overall engine length, weight and number of engine parts.

    2. An automatic tensioner eliminates the need for tension adjustment.

      A01F6EBC01
      *1 No. 2 Idler Pulley Sub-assembly *2 Generator Pulley with Clutch
      *3 Water Pump Pulley *4 Idler Pulley for Automatic Tensioner (V-ribbed Belt Tensioner Assembly)
      *5 Air Conditioning Compressor Pulley *6 Crankshaft Pulley
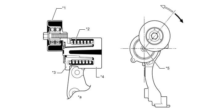
    3. The tension of the V-ribbed belt (fan and generator V belt) is properly maintained by the tension spring that is enclosed in the V-ribbed belt tensioner assembly.

      A01F69FC03
      *1 Idler Pulley *2 Spring
      *3 Arm *4 Bracket
      *5 Fulcrum - -
      *a Cross Section - -
      B007279 Belt Tension Direction B0072B5 Force from Belt