ENGINE UNIT


  1. CONSTRUCTION


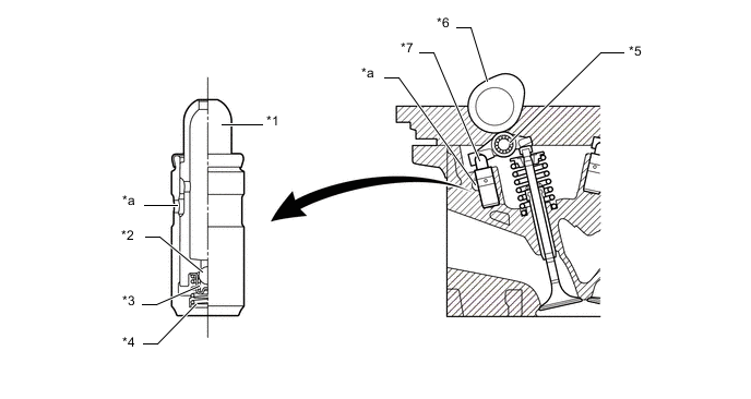
    1. The valve lash adjuster assemblies, which are located at the fulcrum (pivot point) of the No. 1 valve rocker arm sub-assemblies, each consist primarily of a plunger, plunger spring, check ball, and check ball spring.

    2. Both the engine oil that is supplied by the cylinder head and the built-in spring actuate the valve lash adjuster assembly. The oil pressure and the spring force that act on the plunger push the No. 1 valve rocker arm sub-assembly against the cam, in order to adjust the clearance between the valve stem and the No. 1 valve rocker arm sub-assembly. This prevents the generation of noise during the opening and closing of the valves. As a result, engine noise is reduced.

      A01F6GWC02
      *1 Plunger *2 Check Ball
      *3 Check Ball Spring *4 Plunger Spring
      *5 No. 1 Valve Rocker Arm Sub-assembly *6 Cam
      *7 Valve Lash Adjuster Assembly - -
      *a Oil Passage - -