OUTLINE
A P314 hybrid transaxle is used. This transaxle is a compact and lightweight electrical continuously variable transaxle. Furthermore, the transaxle has achieved a high level of environmental performance, including fuel economy, in addition to a high level of power performance.
Containing a Motor Generator No. 2 (MG2) for driving the front wheels and generating electrical power, and a Motor Generator No. 1 (MG1) for generating electrical power and starting the engine, this transaxle uses a continuously variable transmission mechanism with a compound gear unit that achieves smooth and quiet operation.
A sequential shiftmatic system is used, enabling a shift range selection operation that feels like a manual transmission vehicle using the shift paddle and shift lever. In addition, even when driving with the shift lever in D, the shift paddle operation (shift range selection operation using the shift paddle) has been made available.
SPECIFICATION
| Drive Type | 2WD | AWD | |
|---|---|---|---|
| Shift Pattern | P-R-N-D-S | ← | |
| Power Split Planetary Gear | No. of Sun Gear Teeth | 30 | ← |
| No. of Pinion Gear Teeth | 23 | ← | |
| No. of Ring Gear Teeth | 78 | ← | |
| Motor Speed Reduction Planetary Gear | No. of Sun Gear Teeth | 23 | ← |
| No. of Pinion Gear Teeth | 18 | ← | |
| No. of Ring Gear Teeth | 57 | ← | |
| Counter Gear | No. of Drive Gear Teeth | 54 | ← |
| No. of Driven Gear Teeth | 55 | ← | |
| Final Gear | No. of Drive Gear Teeth | 22 | 23 |
| No. of Driven Gear Teeth | 81 | 80 | |
| Total Speed Reduction Ratio*1 | 3.750 | 3.542 | |
| Fluid Type | Toyota Genuine ATF WS | ← | |
| Fluid Capacity | 3.8 Liters (4.0 US qts, 3.3 Imp. qts) | ← | |
| Weight (Reference)*2 | 113 kg (249.3 lb) | ← | |
Tech Tips
*1: The ratio of the combination of the counter and final gears.
*2: The figure shown is the weight with the fluid fully filled.
| Motor Generator | MG1 | MG2 |
|---|---|---|
| Type | Permanent Magnet Motor | ← |
| Function | Generates Electricity Starts Engine |
Drives Front Wheels Generates Electricity |
| Maximum Output | - | 105 kW |
| Maximum Torque | - | 270 N*m |
| Maximum System Voltage | DC 650 V | ← |
| Cooling System | Water-cooled | ← |
MAIN FEATURES
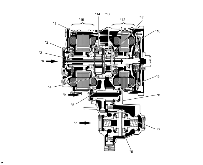
This transaxle has a 3-shaft configuration. The transaxle damper, compound gear unit, counter drive gear, MG1, MG2 and oil pump are mounted either coaxially or on the main shaft. The counter driven gear and final drive gear are part of the 2nd shaft. The final driven gear and differential gear unit constitute the 3rd shaft.
The engine, MG1 and MG2 are mechanically joined via the compound gear unit.
A coil spring type transaxle damper is used. By optimizing the spring constant, muffled sounds reduction performance has been enhanced. Also, a dual-stage torque fluctuation absorbing mechanism is used to achieve a high torque fluctuation absorption function in response to the driving conditions.
A compound gear unit integrated with the 4 gear functions of the ring gear of the power split planetary gear, ring gear of the motor speed reduction planetary gear, counter drive gear and parking lock gear is used. By integrating the gear functions, drastic weight reduction and compactness have been achieved. In addition, both superior driving performance and low fuel consumption have been achieved by optimizing the reduction ratio.
Alternating current permanent magnet motor synchronization type high performance motor generators are used to achieve compactness and high output through the high rotation and high-voltage.
A differential pre-torque mechanism is used. Straightline stability and acceleration performance during periods of low load and low differential rotation when the vehicle is being driven normally are ensured.
Lubrication for each gear is performed via the trochoid oil pump of the main shaft and final driven gear slinging up ATF. Through the use of a lubrication structure (oil sling type lubrication method) in which the gears sling up ATF, reduction of oil pump drive loss and enhanced transmission efficiency of the powertrain system have been achieved. Also, a water-cooled type oil cooler which optimizes the flow of ATF is used to achieve high cooling performance, resulting in a high efficiency and high output powertrain.
| *1 | Cooling Pipe | *2 | Rotation Sensor (for MG2) |
| *3 | Oil Pump | *4 | Counter Drive Gear (Compound Gear) |
| *5 | Counter Driven Gear | *6 | Differential |
| *7 | Differential Pre-torque Mechanism | *8 | Final Driven Gear |
| *9 | Final Drive Gear | *10 | Transaxle Damper (Transmission Input Damper Assembly) |
| *11 | Rotation Sensor (for MG1) | *12 | Motor Generator No.1 (MG1) |
| *13 | Power Split Planetary Gear Unit | *14 | Motor Speed Reduction Planetary Gear Unit |
| *15 | Motor Generator No.2 (MG2) | - | - |
| *a | Main Shaft | *b | 2nd Shaft |
| *c | 3rd Shaft | - | - |