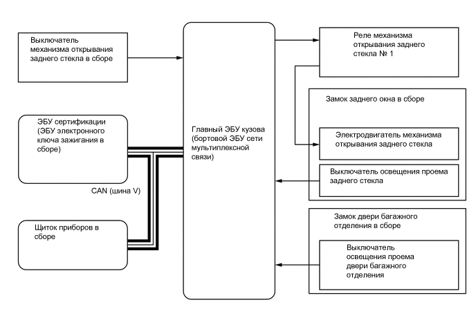
СИСТЕМА МЕХАНИЗМА ОТКРЫВАНИЯ ЗАДНЕГО СТЕКЛА

A0025LFE03