СИСТЕМА РУЛЕВОГО УПРАВЛЕНИЯ С УСИЛИТЕЛЕМ


  1. КОНСТРУКЦИЯ


    1. Рулевая колонка в сборе включает собственно колонку рулевого управления с электроусилителем, электродвигатель усилителя рулевого управления и ЭБУ рулевого управления с усилителем.

    2. Колонка рулевого управления с электроусилителем содержит датчик крутящего момента и редуктор.

      A018GF1C01
      *1 Рулевая колонка с электроусилителем рулевого управления в сборе *2 Электродвигатель усилителя рулевого управления
      *3 ЭБУ рулевого управления с усилителем *4 Датчик крутящего момента
      *5 Редуктор - -
      *a Сечение A - A *b Сечение B - B
    3. Датчик крутящего момента состоит из втулки, короткого вала и 2 катушек обнаружения.

    4. Втулка монтируется на первичном валу, а короткий вал – на выходном валу. Первичный и выходной валы связаны друг с другом торсионом. Снаружи втулки располагаются катушки обнаружения, образующие бесконтактную цепь возбуждения.

    5. При повороте рулевого колеса происходит закручивание торсиона, что приводит к смещению втулки и короткого вала друг относительно друга. Датчик крутящего момента формирует электрический сигнал, отражающий это изменение, и передает его в ЭБУ рулевого управления с усилителем.

      A018G7EC01
      *1 Датчик крутящего момента *2 Короткий вал
      *3 Втулка *4 Катушка обнаружения
      *5 Первичный вал *6 Торсион
      *7 Выходной вал - -
    6. В усилителе рулевого управления используется малоинерционный малошумящий мощный бесщеточный электродвигатель.

    7. Электродвигатель усилителя рулевого управления состоит из ротора, статора, вала и датчика угла поворота.

    8. Датчик угла поворота содержит высоконадежный и долговечный резольвер. Датчик угла поворота определяет угол поворота двигателя и передает соответствующий выходной сигнал в ЭБУ рулевого управления с усилителем. В результате обеспечивается эффективная работа EPS.

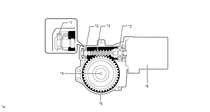
    9. Крутящий момент, создаваемый электродвигателем усилителя рулевого управления, через шарнир сообщается редуктору.

    10. Редуктор уменьшает частоту вращения вала электродвигателя усилителя рулевого управления в сборе посредством червячной передачи и передает усилие на вал рулевой колонки.

    11. Для снижения шума и уменьшения массы конструкции зубчатое колесо изготавливается из высокопрочного износостойкого пластика с низким коэффициентом трения.

    12. Червячное колесо монтируется на шариковых подшипниках. Кроме того, предусмотрена пружина, которая непрерывно обеспечивает оптимальное зацепление шестерен.

      A018GFOC01
      *1 Пружина *2 Шариковый подшипник
      *3 Червячное колесо *4 Вал рулевого управления
      *5 Зубчатое колесо *6 Электродвигатель усилителя рулевого управления
      *a Этот рисунок приведен только для иллюстрации. - -