СИСТЕМА АВТОМАТИЧЕСКОЙ ТРАНСМИССИИ


  1. КОНСТРУКЦИЯ


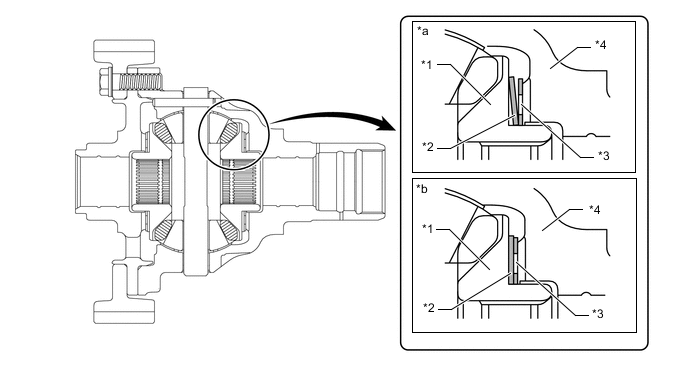
    1. Используется механизм преднатяга дифференциала, в котором между полуосевой шестерней и шайбой полуосевой шестерни установлена коническая винтовая пружина.

    2. Усилие конической пружины создает силу трения, которая действует на поверхность трения, благодаря чему повышается устойчивость прямолинейного движения и устойчивость рулевого управления при движении.

    3. При небольшой нагрузке и низкой частоте вращения дифференциала, благодаря силе трения на поверхности трения, в диапазоне допустимой нагрузки конической винтовой пружины достигается ограничение разности крутящего момента для левого и правого колес. При средних и высоких нагрузках, находящихся за пределами допустимой нагрузки конической пружины, система функционирует как открытый дифференциал.

      A00263IC01
      *1 Полуосевая шестерня *2 Коническая винтовая пружина
      *3 Шайба полуосевой шестерни *4 Корпус дифференциала
      *a Диапазон низких нагрузок *b Диапазон средних и высоких нагрузок

      Figure 1. Взаимосвязь между крутящим моментом коронной шестерни и ограниченным крутящим моментом дифференциала

      A0025ZVE01
      *1 С механизмом преднатяга дифференциала
      *2 Без механизма преднатяга дифференциала
      *3 Ограниченный крутящий момент дифференциала
      *4 Крутящий момент коронной шестерни