LIGHTING SYSTEM

Figure 1. Daytime Running Light System

A0025WQE02

Figure 2. Light Auto Turn-off System

A0025OYE01

Figure 3. Door Mirror Foot Light System

A0025UYE02

Figure 4. Automatic Headlight Beam Level Control System

A0025ZJE01

Figure 5. Manual Headlight Beam Level Control System

A0025K7E01

Figure 6. Automatic Light Control System

A0025RWE04

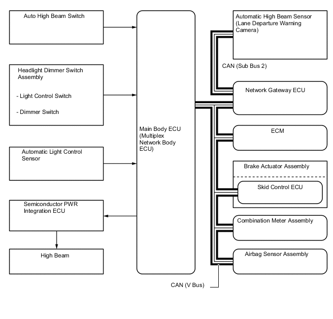
Figure 7. Automatic High Beam System

A0025UQE01

Figure 8. Follow Me Home System

A0025R3E02
*1 Headlight Dimmer Switch Assembly
*2 Main Body ECU (Multiplex Network Body ECU)
*3 Semiconductor PWR Integration ECU
*4 Headlights (Low Beams)