AIR CONDITIONING SYSTEM


  1. CONSTRUCTION


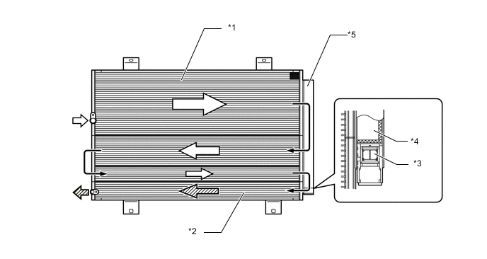
    1. The condenser consists of two cooling portions: a condensing portion and a super-cooling portion, and the gas-liquid separator (modulator) is integrated together. This condenser uses a sub-cool cycle that offers excellent heat-exchange performance.

    2. In the sub-cool cycle, after the refrigerant passes through the condensing portion of the condenser, both the liquid refrigerant and the gaseous refrigerant that could not be liquefied are cooled again in the super-cooling portion. Thus, the refrigerant is sent to the evaporatorin an almost completely liquefied state.

    3. The desiccant and filter at the bottom of the modulator remove moisture and debris from the refrigerant.

      A018GLVC01
      *1 Condensing Portion *2 Super-cooling Portion
      *3 Filter *4 Desiccant
      *5 Modulator - -
      B003YTW Gaseous Refrigerant A018G9B Liquid Refrigerant

      Tech Tips

      The point at which the air bubbles disappear in the refrigerant of the sub-cool cycle is lower than the proper amount of refrigerant with which the system must be filled. Therefore, if the system were recharged with refrigerant based on the point at which the air bubbles disappear, the amount of refrigerant would be insufficient. As a result, the cooling performance of the system will be affected. If the system is overcharged with refrigerant, this will also lead to reduced performance. For the proper method of verifying the amount of the refrigerant and to recharge the system with refrigerant, refer to the Repair Manual.

      A018GR7E02
      *1 Proper Recharged Amount
      *2 High Pressure
      *3 Point at which Bubbles Disappear
      *4 Amount of Refrigerant