AIRBAG SYSTEM


  1. CONSTRUCTION


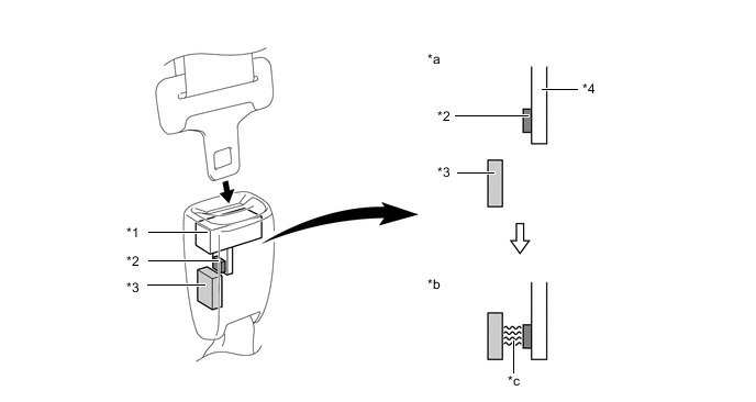
    1. A non-contact type switch is built into the seat belt buckle switch (front seat inner belt assembly) on the driver and front passenger sides.

    2. The non-contact type switch contains an MR IC and magnet.

    3. The ejector inside the seat belt buckle switch (front seat inner belt assembly) and the plate installed to the ejector move when the seat belt is removed or inserted. The movement of the plate changes the magnetic flux density of the magnet.

    4. The MR IC detects changes in the magnetic flux density. These changes indicate that the seat belt is either fastened or unfastened, and the MR IC outputs a signal to the airbag sensor assembly (for driver) or occupant detection ECU (for front passenger).

      A018GL1C02
      *1 Ejector *2 Magnet
      *3 MR IC *4 Plate
      *a Seat belt not fastened *b Seat belt fastened
      *c Magnetic Flux - -