BRAKE CONTROL SYSTEM


  1. SYSTEM CONTROL


    1. An active type speed sensor is used. This sensor contains a Hall IC.

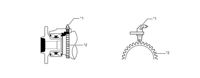
    2. The front speed sensors use a gear type rotor that is mounted on the drive shaft.

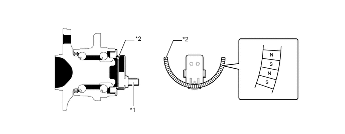
    3. The rear speed sensors use a magnet type sensor rotor, which consists of N and S poles that arearranged in a circle. The rear speed sensor rotor is integrated into the hub bearing inner race.

      A018GK8C01
      *1 Front Speed Sensor *2 Sensor Rotor

      Figure 1. 2WD Models

      A018GCTC01
      *1 Rear Speed Sensor *2 Sensor Rotor

      Figure 2. AWD Models

      A018GBZC01
      *1 Rear Speed Sensor *2 Sensor Rotor
    4. The active type speed sensor uses a sensor IC to detect magnetic field changes caused when the sensor rotor rotates, and the sensor outputs the detected information to the skid control ECU as digital pulses (vehicle speed signal).

    5. To detect the vehicle speed, the frequency of the output pulses is used. Because the active type sensor outputs digital pulses, it can detect the vehicle speed even when the vehicle is nearly stationary.

      A018GH4E06
      *1 Vehicle Speed
      *2 Digital Output
      *3 Sensor Output