ENGINE UNIT


  1. CONSTRUCTION


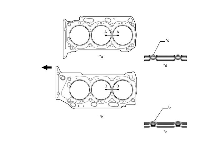
    1. A triple-layer metal type cylinder head gasket is used.

    2. The surface of the cylinder head gasket is coated with fluoro rubber to ensure a high level of reliability.

    3. The size of each water hole is optimized to optimize the engine coolant flow rate to each part and improve the cooling performance of the cylinder block and cylinder head.

      A00263MC01
      *a for Bank 1 *b for Bank 2
      *c Shim *d A-A Cross Section
      *e B-B Cross Section - -
      B003YU9 Engine Front - -