ENGINE UNIT


  1. CONSTRUCTION


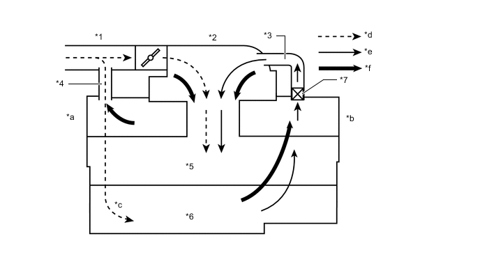
    1. The ventilation hose, No. 2 ventilation hose and ventilation valve sub-assembly are used for blow-by gas ventilation control. Blow-by gas with a large quantity of hydrocarbons is prevented from being discharged into the atmosphere by directing the blow-by gas into the intake system and combusting the gas. A new reflux flow system has been adopted to intake fresh air from the air cleaner hose assembly via the cylinder head cover sub-assembly and to direct blow-by gas to the intake air surge tank assembly via the cylinder head cover sub-assembly.

    2. During light engine loads, blow-by gas is suctioned through the ventilation valve sub-assembly into the intake manifold and will be combusted. Fresh air is pulled into the crank case via the cylinder head cover sub-assembly in order to balance the crank case pressure.

    3. During high engine loads, blow-by gas is forced through the ventilation valve sub-assembly and No. 2 ventilation hose into the intake manifold and will be combusted.

    4. Blow-by gas is channeled through the cylinder block sub-assembly, cylinder head sub-assembly and cylinder head LH and excellent oil separation and a reduction in oil loss via the blow-by gas is achieved.

      A00263RC01
      *1 Ventilation Valve Sub-assembly *2 Ventilation Hose
      *3 No. 2 Ventilation Hose - -

      Figure 1. PCV Passage Diagram

      A0025JRC01
      *1 Air Cleaner Hose Assembly *2 Intake Air Surge Tank Assembly
      *3 Ventilation Hose *4 No. 2 Ventilation Hose
      *5 Cylinder Block Sub-assembly *6 Oil Pan Sub-assembly
      *7 Ventilation Valve Sub-assembly - -
      *a Bank 1 *b Bank 2
      *c Fresh Air (Low Engine Loads) *d Fresh Air
      *e Blow-by Gas *f Blow-by Gas (High Engine Loads)