INTERIOR


  1. OUTLINE


    1. The interior, as an integrated organization of the expansive horizontal orientation of the instrument panel, sense of freedom due to the downsizing to the instrument panel center section, the door trim and console securely sustaining a sense of security from the sides, with the keyword [Snug Roominess (a feeling of being comfortably wrapped up)] produces an appropriate driving space for a premium sports vehicle.

    2. Expressions such as "covered with leather" and "cut and polished metal" conceptualize the [Material Spirit] with the shape of the surface and lines. This where the quality of the materials stands out and overtakes the perspectives. Lexus' unique premium tradition of having captivating space and appearance is expressed by strong harmony where the interior possess a sense of unification with the shape of the individual functions and materials.

    3. Advanced interior space was designed by the adoption of a large scale monitor and remote operation switch (Remote operation device), ambient illumination, etc.

    4. A large LED dome light has been adopted in the overhead console. The overhead console configuration has been optimized and expresses the advancement and high quality feeling by the dome light which shines uniformly on the entire surface with no lighted or shaded parts. Also, the produced lighting is arranged everywhere making use of the LED, and the whole interior is lit up by the LED white color achieving a comfortable interior space possessing both warmth and a sense of advancement.

    5. All kinds of shapes were thoroughly investigated for the instrument panel, seat, roof head lining, door trim, and pillar garnish. It is an interior space that is flexible and can adapt to the extensive differences of the user's heights and physiques.

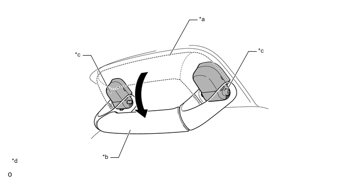
      Figure 1. Interior Design Concept

      A01QDUEC01
      *a The illustrations shown are example only. - -
  2. MAIN FEATURES


    1. Around the sides


      1. Toyota Super Olefin Polymer (TSOP) is used on the base material of the Front Pillar Garnish, Center Pillar Upper Garnish as well as Roof Side Inner Garnish; and Poly Propylene (PP) is used on the Center Pillar Lower Garnish, taking recyclability into consideration.

      2. The shape of the Front Pillar Garnish was devised by aiming for the preservation of visibility and improving interior comfort.

        Figure 2. Pillar Garnish

        A01QDZPC01
        *1 Front Pillar Garnish *2 Center Pillar Upper Garnish
        *3 Center Pillar Lower Garnish *4 Roof Side Inner Garnish
        *a The illustrations shown are example only. - -
      3. All kinds of Pillar Garnishes, door shapes, and roof shapes have been optimized; and improvements to getting in and out of the vehicle were designed for by preserving the overhead and feet areas as well as the space around the lower back.

      4. The natural raw material of Kenaf was used in the Door Trim for the Lower Board taking the environment into consideration.

        Figure 3. Lower Board

        A01QDFLC01
        *1 Front Door Trim *2 Rear Door Trim
        *3 Lower Board - -
        *a Part where Kenaf material is used. *b The illustrations shown are example only.
      5. Scuff plates with aluminum-made Lexus ornament were established and produces an entrance that has an air of high class.

        Figure 4. Scuff Plate

        A01QDMTC01
        *1 Front Door Scuff Plate *2 Rear Door Scuff Plate
        *3 LEXUS Ornament - -
        *a The illustration is expressed by the front side. *b The illustrations shown are example only.
    2. Door Trim


      1. The door trim is configured to be continuous from the armrests to the kneepads and achieves a pleasant shape and feel of material which fit the arms and elbows.

      2. The instrument panel and the coordinated decoration ornament are shaped to have a unified feeling with the door inside handle and designed to be simple while being sophisticated.

        Figure 5. Door Trim

        A01QDQCC01
        *1 Front Door Inside handle *2 Rear Door Inside handle
        *3 Kneepads *4 Armrests
        *a Decorated Ornament *b Satin Plated Decoration
        *c Dark Silver Decoration *d The illustration is expressed by the front side.
        *e The illustrations shown are example only. - -
      3. The armrest is shaped with increased thickness in the padding and realizes a soft feeling with low loading and a solid feeling with high loading. Also, Alcantara lining was adopted for the surfaces and improved the sporty feeling.

        Figure 6. Armrest

        A01QDDOC01
        *1 Front Door Trim *2 Rear Door Trim
        *3 Armrest - -
        *a Alcantara lining *b The illustrations shown are example only.
      4. A high quality feeling accessory case that implemented flocked coating or an ashtray is established to the rear door trim switch base, according to the specifications.

        Figure 7. Rear Door Trim Switch Base

        A01QDJJC02
        *A Models without Ashtray *B Models with Ashtray
        *1 Rear Door Trim *2 Accessory Case
        *3 Ashtray - -
        *a The illustrations shown are example only. - -
      5. A possible storage pocket for 500 ml PET bottles, A4 size documents, or tissue boxes has been established in the lower part of the front door trim.

        Figure 8. Front Door Trim Pocket

        A01QE25C01
        *1 Front Door Trim *2 Door Trim Pocket
        *a Pet Bottle storage status *b The illustrations shown are example only.
      6. A possible storage pocket for 500 ml PET bottles or A5 size documents, has been established in the lower part of the rear door trim.

        Figure 9. Rear Door Trim Pocket

        A01QDMEC02
        *1 Rear Door Trim *2 Door Trim Pocket
        *a Pet Bottle storage status *b The illustrations shown are example only.
      7. Ambient illumination has been established in the door trim. When the door lock is released and so forth, white indirect lighting along the lower end of the dark silver decorations are faintly lit, producing a hospitable feeling along with expressing advancement and high class feeling.

        Figure 10. Door ambient Illumination

        A01QDURC01
        *1 Front Door Trim *2 Rear Door Trim
        *3 Light Guidance Bar *4 Armrest
        *a Dark Silver Decoration *b Exposure range
        *c The illustrations shown are example only. - -
    3. Rear Door Sunshade


      1. Depending on the specifications, a hand operated rear door sunshade has been established in the rear window. The shade was also established at the division bar, designed for comfort improvement.

      2. The door shade, while moving it to the back to some extent, is made to fit in the rear window by raising it. It is designed to improve the comfort of the rear seat by having little space between it and the rear window and maintaining high shading quality.

      3. The division shade has been established to cover a supplemental rear window, which cannot be covered with the door shade, by drawing it to the back horizontally from the division bar.

        Figure 11. Rear Door Sunshade

        A01QDN3C02
        *1 Door Shade *2 Division Bar
        *3 Division Shade - -
        *a The illustrations shown are example only. - -
    4. Around the Roof


      1. The roof headlining adopts a cast ceiling to make use of knitted linings.

      2. Thin overhead console that is particular about performance, operability, and appearance was adopted. Sufficient luminance is ensured by the dome light uniformly illuminating the entire surface, producing a white color that has warmth while producing a sense of advancement and high quality feeling. Also, visibility improvements and front seat comfort space expansion were designed for by making it a thin type.

      3. A dome light and reading light have been established in rear room light. Sufficient luminance is ensured by adopting surface lighting lights in the dome light. Also, the rear room light is arranged in the rear section of the roof headlining, taking usability into consideration.

      4. The sun visor has been configured with resin case type card holder on the driver's side surface and vanity mirror with sliding cover on both the driver side and passenger side reverse side. Also, a vanity light is arranged in the roof head lining, taking usability into consideration.

      5. In the roof side section, a rotating stowing style assist grip with dampers has been adopted. Also, on the rear side assist grips, coat hooks have been established.

        Figure 12. Roof Headlining

        A01QDO4C01
        *1 Overhead Console *2 Sun Visor
        *3 Vanity Mirror (Slide style cover) *4 Vanity Light
        *5 Card Holder *6 Rotating stowing style assist grip
        *7 Coat Hook *8 Rear Room Light
        *a The illustrations shown are example only. - -
      6. The appearance improvement for the assist grips was designed by imposing the construction of the rotation axis from the inner side and keeping the rotation axis base out of sight.

      7. Usability was taken into consideration by establishing the position of the assist grip where it can be naturally grasped, as when an occupant extends a hand, without having to search for it.

        Figure 13. Assist Grip

        A01QDMQC03
        *a Assist grip stowing state (dotted line section) *b Assist grip utilization state (solid line section)
        *c Rotation Axis Base *d The illustrations shown are example only.
    5. Floor and Rear Surroundings


      1. Luggage compartment room space expansion has been realized due to uncompromising dedication and pressing for the ideal component layout.

      2. A U-arm type hinge has been adopted for opening expansion. Also, due to the luggage trim cross section miniaturization, influence on the width being expanded along with lock structure revision and expansion of the front and back due to lengthening of the body has been realized.

      3. The usage situations of the various users were assumed and many kinds of utility items have been established.

      4. Component shape within the luggage compartment was reviewed and a superior storage space usage, which does not have much unevenness, has been established by optimal component positioning.

      5. The inside of the luggage compartment has a stylish appearance due to the luggage compartment ceiling being covered by the rear luggage compartment trim cover together with U arm hinge being covered by the inner luggage compartment trim cover.

      6. Lashing type luggage hooks in 4 sections of the luggage compartment room floor section and folding style luggage utility hooks in the top part have been established, taking usability and appearance into consideration.

        Figure 14. Folding Style Hook

        A01QDIPC02
        *1 U-arm Type Hinge *2 Folding Style Utility Hook
        *3 Folding Style Lashing Type Luggage Hook - -
        *a The illustrations shown are example only. - -
      7. Fixed type luggage hooks in 2 sections of the luggage compartment trim have been established, taking user-friendliness into consideration.

        Figure 15. Luggage Net Hook

        A01QDVAC02
        *1 Luggage Net Hook - -
        *a The illustration is represented by the right hand side. *b The illustrations shown are example only.
      8. A luggage under tray has been established in the lower section of the deck board, making for excellent storability.

        Figure 16. Luggage Under Tray

        A01QDXTC02
        *A Models with Puncture Repair Kit - -
        *1 Side Box *2 Center Box
        *a The illustrations shown are example only. - -
      9. Designed to improve user-friendliness, it is possible to fix the deck board by hanging the hook installed on the deck board on the utility hook in the luggage upper section. With this, both hands can be used for work instead of supporting the deck board with one hand while working.

        Figure 17. Deck Board Hook

        A01QE2KC02
        *1 Deck Board Hook *2 Deck Board
        *3 Folding Style Utility Hook - -
        *a The illustrations shown are example only. - -
      10. A side net, which stores small packages and is useful in preventing scattering within the luggage room, has been established, taking improvements for user-friendliness into consideration.

        Figure 18. Luggage Side Net

        A01QDS7C03
        *1 Luggage side Net - -
        *a The illustrations shown are example only. - -
    6. Noise Insulation and Noise Absorption Materials


      1. The floor carpet, dash silencer, door trim, roof headlining, package tray trim, luggage trim, etc., were optimally arranged for sound proofing over a vast range and designed for improving silence within the interior space.

        Figure 19. Noise Insulation and Noise Absorption Materials (Interior Space)

        A01QE2LC02
        *a Noise Absorbing Urethane Pad *b Noise Absorbing Felt
        *c Noise Absorbing Roof Lining *d Noise Absorbing Sun Visor
        *e Noise Insulation and Noise Absorption Dash Silencer *f Materials for increasing Noise Absorption
        *g Noise Insulation and Absorption Floor Carpet *h Sound Absorption Partition Trim
        *i Noise Insulation and Absorption Tunnel Silencer *j The illustrations shown are example only.

        Figure 20. Noise insulation and Noise absorption materials (Luggage Compartment Room)

        A01QDYOC02
        *a Noise Absorption Felt *b The illustrations shown are example only.
    7. Instrument Panel Surroundings


      1. The instrument panel, with the concept of "An interior centered on the people" [Human Oriented], reformed the image of the traditional "T" shaped instrument panel to the configuration which separated the display area and operation area. Also, the fitting together of mutual parts and operation sensation of the device types, the feel and so forth being refined in detail, produced a high quality interior space.

      2. Decorations have been added to the each section, such as the instrument panel surface and ornament, steering wheel, shift knob, floor console, and door trim. In addition to that, in accordance to a combination of the various materials with the feel of those materials and the high level of refinement, Lexus' unique premium tradition is realized.

      3. When the point of view is slightly separated and the entire instrument panel is viewed (macro viewpoint), the level basis was powerfully configured by simplicity as the basis. Also, it was made with accurate calculations and manufactured with precision, both of which are seen when getting closer and the details are viewed (micro viewpoint). The macro viewpoint (which continually possesses an in-depth feeling of charm and overflowing sense of freedom) and the micro viewpoint (possessing details which are made keen in depth) were designed and configured to smoothly stand out together without uneasiness.

      4. In regards to the drive scene, the comfortable texture of the touched parts; such as the console, the armrest door trim, and knee support; were taken into special consideration.

        Figure 21. Instrument Panel Surroundings

        A01QDE3C01
        *1 Wide Monitor *2 Thin Register
        *3 Decorated Ornament *4 Glove Box
        *5 Center Cluster *6 Remote Touch (Remote Operations Device)
        *7 Console Box *8 Cup Holder
        *9 Coin Box - -
        *a The illustrations shown are example only. - -
      5. A wide monitor and Remote Touch (Remote operations device) have been adopted, the display area and operation area have been separated, the posture and line of sight movement are minimized, and the optimal arrangement was implemented so that comfortable driving operations are possible.

        Figure 22. Display Area and Operation Area

        A01QDOCC01
        *a Display Area *b Operation Area
        *c The illustrations shown are example only. - -
      6. Appropriate with the Premium Sports, an 8 inch color TFT liquid crystal combination meter, which takes visibility into account, was adopted. Also, the aluminum-made center ring and analog speed meter ring were arranged, improving the high class and sporty feeling.

        Figure 23. Combination Meter

        A01QDLDC01
        *1 Center Ring *2 Analog Speed Meter Ring
        *3 F Mark *4 Multi-Information Display
        *a The illustrations shown are example only. - -
      7. Leather and stitching are used on the instrument panel surface, meter cluster, kneepads on both sides of the floor console and armrests, producing fine quality.

        Figure 24. Decorative Parts around Instrument Panel

        A01QDRGC01
        *1 Instrument Panel Surface *2 Kneepads
        *3 Armrest *4 Meter Cluster
        *a Leather and Stitching *b The illustrations shown are example only.
      8. The instrument panel and the surrounding parts are decorated to represent the luxury and novelty. Depending on the models, three kinds of materials, including aluminum, carbon and composite carbon, are used.

    8. Steering Wheel


      1. The shape has been optimized in accordance to the grip section and the fit for the hands has been improved in regard to the every driving scenario. Also, sporty sensation improvement was designed for by establishing finger rests.

      2. An indicator mark "F" is used on the steering wheel, to help the driver to perceive how much the steering wheel is turned, and designed with improved steering when doing sporty driving.

      3. A large indication mark "L" is used on the steering wheel, to enhance the Lexus brand image.

      4. Two kinds of leather combinations and three colors of stitchings are used for the steering wheel, to create a premium feel.

      5. The short stroke type paddle shift switch is entirely plated.

        Figure 25. Steering Wheel

        A01QDCHC01
        *1 Paddle Shift Switch *2 Finger Rest
        *3 L Mark *4 F Mark
        *a Dimple Leather *b Smooth Leather
        *c The illustrations shown are example only. - -
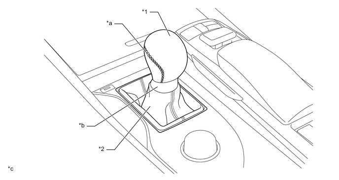
    9. Shift Knob


      1. The shift knob and the shift boot are covered with leather and embroidered stitching, to further improve the sporty feeling and provide a better grip.

        Figure 26. Shift Knob

        A01QDZJC01
        *1 Shift Knob *2 Shift Boot
        *a Stitch Sewing *b Satin Plated Decoration
        *c The illustrations shown are example only. - -
    10. Remote Touch


      1. The remote touch (remote operations device) has been established one level higher than the surface of the floor console. It was designed this way to increase operability.

      2. The remote touch, which provides an operational feel similar to computer mouse, allows the user to toggle the switch knob and highlight an item, and then select that item by pressing the switch knob, making the operation system easily operable for first time users. Also, frequently used switches, such as ENTER and RETURN, are individually setup on the side of the switch knob to improve the operability.

        Figure 27. Remote Touch

        A01QDG6C01
        *1 Remote Operation Switch *2 Switch Knob
        *3 Palm Rest *4 Side Enter Switch
        *a The illustrations shown are example only. - -
    11. Footrest


      1. An aluminum footrest has been adopted. Also, taking foot slippage into consideration, anti-slippage rubber has been configured improving the grip performance.

        Figure 28. Footrest

        A01QDRKC01
        *1 Footrest *2 Anti-slippage Lubber
        *a The illustrations shown are example only. - -
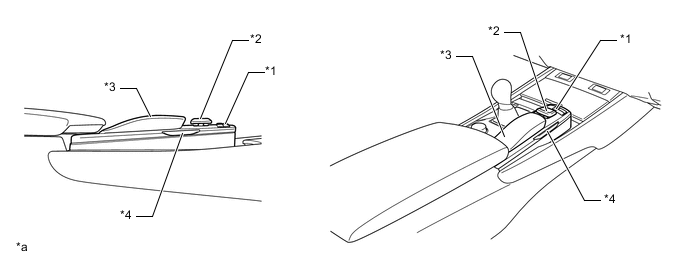
    12. Center Cluster


      1. The center cluster is made compact to enhance the open feel, and yet is designed to be high precision, giving it a strong presence as the center of the compartment and providing higher operability.

      2. The center cluster combines the "innovation" of the widescreen monitor with the "tradition" of the analog watch.

      3. A thin center register is used, making the analog watch stand out yet providing a spacious feel of the compartment.

      4. Leather has been added to the conventional plastic center cluster panel, which is frequently operated by users, to enhance the appearance and touch feel.

        Figure 29. Center Cluster

        A01QE2DC01
        *1 Widescreen Monitor *2 Center Register
        *3 Analog Clock *4 Center Cluster
        *a The illustrations shown are example only. - -
      5. The audio operating area has a texture like a polished metal, creating a high-class feel.

      6. The audio head unit dial is machined from aluminum, providing a dignified and high-class feeling.

      7. The air conditioning system can be independently adjusted for the left and right seats, and the commonly used switches are mounted together at the center of the air conditioning operating area, thus creating a user-friendly layout which allows the user to operate intuitively.

        Figure 30. Audio and Air Conditioning Operating Area

        A01QDR6C01
        *1 Dial - -
        *a Operating Area for Driver Seat *b Common Operating Area
        *c Operating Area for Passenger Seat *d Air Conditioning Operating Area
        *e Audio Operating Area *f The illustrations shown are example only.
      8. A Mark Levinson audio system is used depending on the models. An exclusive audio head unit is used, and an ornament plate is mounted on the surface of the woofer behind the rear seat.

        Figure 31. Audio System (Mark Levinson)

        A01QDCKC01
        *a Mark Levinson Mark *b Ornament Plate
        *c The illustrations shown are example only. - -
    13. Passenger SRS Airbag Door


      1. The location of the passenger knee airbag unit (lower No. 2 instrument panel airbag assembly) has been changed from the underneath of the glove box to the inside of the glove box door, to increase the foot space of the passenger seat.

        Figure 32. Passenger SRS Airbag

        A01QDGOC01
        *1 Instrument Panel Passenger Airbag without Door Assembly - -
        *a Airbag Door *b Instrument Panel Leather
        *c Recessed Leather Surface and Door *d The illustrations shown are example only.
    14. Passenger SRS Knee Airbag


      1. The location of the passenger knee airbag unit (lower No. 2 instrument panel airbag assembly) has been changed from the underneath of the glove box to the inside of the glove box door, to increase the foot space of the passenger seat.

        Figure 33. Passenger SRS Knee Airbag

        A01QDKRC02
        *1 Glove Box Door *2 Glove Box
        *3 Lower No.2 Instrument Panel Airbag Assembly - -
        *a Increase in Foot Space *b The illustrations shown are example only.
    15. Coin Box


      1. A push-open type coin box is mounted on the lower part of the side register to ensure the usability.

        Figure 34. Coin Box

        A01QE2WC01
        *1 Coin Box - -
        *a The illustrations shown are example only. - -
    16. Glove Box


      1. A partition is used for the glove box to increase the usability. Artificial fiber is used in the inner wall of the glove box to improve the touch feel.

      2. The glove box is designed to hold an owner's manual in the partitioned upper shelf, and yet the position, shape and rigidity of the partition are optimally improved to store long objects, thus ensuring high usability and sufficient capacity.

      3. An assist spring is used for the glove box door to help the user to relieve stress when opening and closing it, even if the passenger seat SRS knee airbag is mounted.

      4. An open/close button is used on the center cluster, to improve the appearance and usability.

        Figure 35. Glove Box

        A01QDYIC01
        *1 Open/Close Button *2 Partition
        *a Artificial Fiber *b The illustrations shown are example only.
    17. Cup Holder


      1. A push type open/close door and a cup holder, which can be used for storage of small articles, are located under the center cluster, to enhance the usability and convenience.

        Figure 36. Cup Holder

        A01QDRLC01
        *1 Push-type Open/Close Door *2 Cup Holder
        *a The illustrations shown are example only. - -
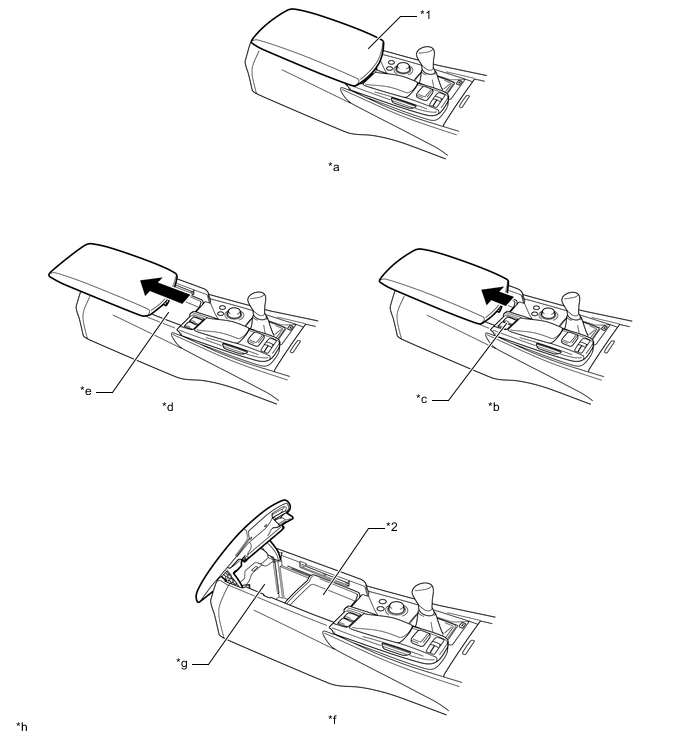
    18. Console Box


      1. A large storage box is used for the console box. Both two-step sliding and turn-type open/close mechanisms are used for the control box door, to create a simple design and ensure the usability.

      2. In normal use, small articles can be stored only by sliding the console box door. For storage of large articles, an assist spring is used to help the user to relieve stress when opening and closing the console box door. Also, the its feel has been fussed over as the console box door functions as an armrest when slid open.

      3. A movable and detachable tray is used in the console box, to improve the usability and convenience.

        Figure 37. Console Box Storage

        A01QDF1C01
        *1 Armrest *2 Movable and Detachable Tray
        *a Console Box Door closed *b Slid midway status (Sliding amount: 70 mm)
        *c Electric rear sunshade switch and clearance sonar switch are operable *d Slid fully status (Sliding amount: 140 mm)
        *e Storage for small articles, such as MP3 player and mobile phone *f Console Box Door open
        *g Storage for CDs, DVDs and Tissue Box *h The illustrations shown are example only.
      4. An USB terminal, an AUX input terminal and a DC power supply are included in the console box. The connection of mobile phones and music devices are possible when left in the tray, increasing the usability.

        Figure 38. Console Box

        A01QDXXC01
        *1 DC Power Supply *2 AUX Input Terminal
        *3 USB Terminal - -
        *a The illustrations shown are example only. - -