TIRE AND WHEEL TYPE SYSTEM


  1. OUTLINE


    1. 19-inch tires and 2 types aluminum wheels are available.

    2. A puncture repair kit or spare tire is available.

  2. SPECIFICATION


    1. Tire and Wheel

      Tire Size Front Rear
      255/35ZR19 275/35ZR19
      Wheel Size 19 X 9J 19 X 10J
      Pitch Circle Diameter mm (in.) 114.3 (4.5) 114.3 (4.5)
      Inset mm (in.) 50 (1.9) 41 (1.6)
      Material Aluminum
      Wheel Cap Center Ornament
      Wheel Design / Wheel Cap Design B002AW3
      Tire Size Front Rear
      255/35ZR19 275/35ZR19
      Wheel Size 19 X 9J 19 X 10J
      Pitch Circle Diameter mm (in.) 114.3 (4.5) 114.3 (4.5)
      Inset mm (in.) 50 (1.9) 41 (1.6)
      Material Aluminum
      Wheel Cap Center Ornament
      Wheel Design / Wheel Cap Design B002ASS
    2. Puncture Repair Kit

      Item Specification
      Usable Temperature Range °C (°F) -40 to 60 (-40 to 140)
      Maximum Current Consumption A 10
      Sealant Repair Seal Liquid Material Natural Rubber, Surfactant, Ammonia, 1.3 Propanediol
      Quantity ml (US qts, Imp. qts) 500 (0.5, 0.4)
      Expiration Date Displayed on Sealant Bottle
  3. MAIN FEATURES


    1. Puncture Repair Kit


      1. A puncture repair kit, which is used to feed repair seal liquid into a flat tire to temporarily repair the puncture, is provided. Therefore, a spare tire is no longer needed, resulting in an increase in the luggage compartment capacity.

      2. The puncture repair kit can be used in an emergency to repair a tire that has been punctured by a nail, screw, etc. piercing the tread part of the tire.

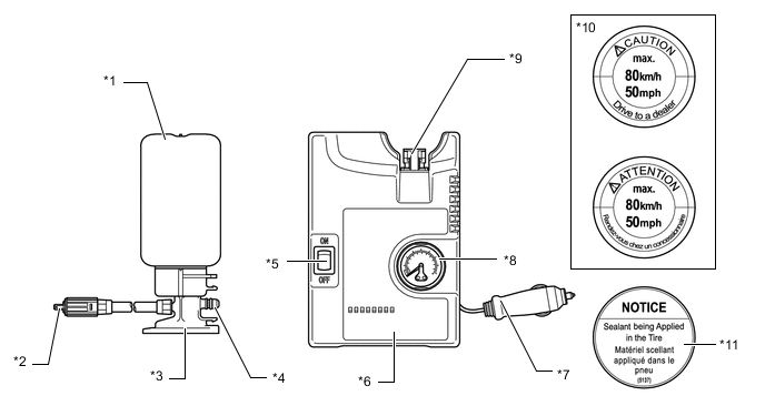
        B002AW2C02
        *1 Repair Sealant Bottle *2 Tire Attachment and Hose
        *3 Tire Repair Cartridge *4 Compressor Attachment
        *5 On/Off Switch *6 Air Compressor Assembly
        *7 Power Cord *8 Pressure Gauge
        *9 Sealant Bottle Attachment *10 Speed Restriction Sticker
        *11 Sealant Applied Sticker - -