ROAD SIGN ASSIST SYSTEM


  1. OPERATION


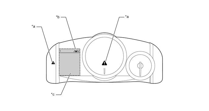
    1. The combination meter assembly displays recognized signs on the multi-information display based on information of road signs recognized by the forward recognition camera (camera sensor).

    2. The RSA system display mode can be selected by switching the display mode of the multi-information display through operation of the steering pad switch assembly.

      A01QDZEC01
      *a Master Warning Light *b Driving Assist System Tab
      *c Multi-information Display - -
    3. When the driving assist system tab is selected for display on the multi-information display, road signs recognized by the forward recognition camera (camera sensor) are displayed on the upper portion of the multi-information display.

    4. A maximum of 3 signs can be displayed simultaneously. When 3 signs are displayed, the signs are displayed in the following order from left to right: speed limit related, speed limit with supplemental sign related, and no entry related* or no overtaking related.

      Tech Tips

      *: Models with navigation system

      A01QDWAC01
      *a Driving Assist System Tab *b Speed Limit Related
      *c Speed Limit with Supplemental Sign Related *d No Entry Related or No Overtaking Related (No entry related is more high priority than no overtaking related.)
      *e The illustration shown is an example only. The illustration may differ from the actual vehicle screen. - -
    5. When an information tab other than the driving assist system tab is selected for display on the multi-information display, road signs recognized by the forward recognition camera (camera sensor) are displayed as pop-ups above the multi-information display. Furthermore, the pop-up display is only for speed limit signs and no entry sign*. It is not displayed for no overtaking signs and speed limit with supplemental signs.

      Tech Tips

      *: Models with navigation system

      A01QDHOC01
      *a Speed Limit Related or No Entry Related (No entry related is more high priority than speed limit related.) *b Multiple Road Signs Recognized
      *c The illustration shown is an example only. The illustration may differ from the actual vehicle screen. - -
    6. When there is a malfunction in the RSA system or the system is temporarily unusable, a warning message is displayed on the multi-information display, the master warning light illuminates and the buzzer sounds.

      Condition Multi-information Display Indication B002AQ9 Buzzer
      System malfunction "Check RSA System" Illuminates Sounds
      Temperature of forward recognition camera (camera sensor) is abnormal. "Forward Camera System Unavailable" - -
      When there is poor visibility for the forward recognition camera (camera sensor). "Forward Camera System Unavailable Clean Windshield" - -
    7. Head-up display equipped vehicles synchronize with multi-information display indicators and display road signs when the head-up display is operating.

      Figure 1. Head-up Display

      A01QE1SC01
      *a The illustration shown is an example only. - -