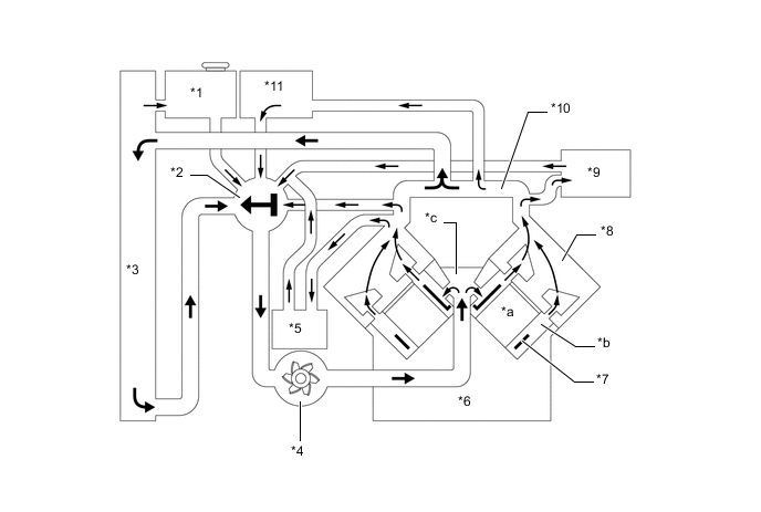
| *1 | Radiator Reserve Tank Assembly | *2 | Water Inlet with Thermostat Sub-assembly |
| *3 | Radiator Assembly | *4 | Engine Water Pump Assembly |
| *5 | Oil Cooler Assembly | *6 | Cylinder Block Sub-assembly |
| *7 | Cylinder Block Water Jacket Spacer | *8 | Cylinder Head Sub-assembly |
| *9 | Heater Radiator Unit Sub-assembly | *10 | Water By-pass Joint |
| *11 | Throttle Body with Motor Assembly | - | - |
| *a | Cylinder Bore | *b | Water Jacket |
| *c | Engine Coolant Distribution Pathway | - | - |