EMISSION CONTROL SYSTEM(w/o Canister Pump Module)


  1. FUNCTION OF MAIN COMPONENTS


    1. The main components of the evaporative emission control system are as follows:

      Component Function
      Canister Contains activated charcoal to absorb the fuel vapor that is created in the fuel tank assembly.
      Purge VSV Opens in accordance with the signals from the ECM when the system is purging in order to send the fuel vapor that was absorbed by the canister into the intake manifold.
      ECM Controls the purge VSV in accordance with the signals from various sensors in order to achieve a purge volume that suits the driving conditions.
  2. SYSTEM CONTROL


    1. Purge Flow Control


      1. When the engine has reached a predetermined state [closed loop, engine coolant temperature above 75°C (167°F), etc.], stored fuel vapor is purged from the canister whenever the purge VSV is opened by the ECM.

      2. The ECM will change the duty ratio cycle of the purge VSV, thus controlling purge flow volume. Purge flow volume is determined by intake manifold pressure and the duty ratio cycle of the purge VSV. Atmospheric pressure is allowed into the canister to ensure that purge flow is constantly maintained whenever purge vacuum is applied to the canister.

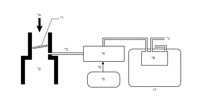
        A01QDWHC01
        *1 Throttle Valve *2 Intake Air Surge Tank Assembly
        *3 Purge Port *4 Purge VSV
        *5 ECM *6 Canister
        *7 Fuel Tank Assembly - -
        *a Intake Air *b Duty Signal
        *c Atmosphere Release/Intake - -