СИСТЕМА КОНДИЦИОНИРОВАНИЯ


  1. КОНСТРУКЦИЯ


    1. Производительность компрессора со шкивом плавно регулируется в соответствии с тепловой нагрузкой системы кондиционирования.


      1. Этот компрессор со шкивом в сборе включает в себя шкив типа DL (с демпфером-ограничителем), электромагнитную муфту*, вал, прижимную пластину, наклонный диск, поршень, колодку, внутреннюю полость картера, цилиндр и электромагнитный клапан.


        • *: Для моделей для Кореи с приводом на одну ось

      2. Управляемый электромагнитный клапан позволяет регулировать расход хладагента для управления производительностью компрессора со шкивом в сборе в соответствии с требованиями.

        A00YYSJC02
        *A Кроме моделей для Кореи с приводом на одну ось *B Для моделей для Кореи с приводом на одну ось
        *1 Колодка *2 Внутренняя полость картера
        *3 Шток *4 Прижимная пластина
        *5 Поршень *6 Цилиндр
        *7 Электромагнитный клапан управления *8 Электромагнитная муфта в сборе
    2. Маслоотделитель на валу


      1. Компрессорное масло, которое попало в хладагент и циркулирует в контуре системы кондиционирования, отделяется маслоотделителем на валу, встроенным в вал, и собирается в компрессоре.

      2. Через маслоотделитель на валу проходит возвратный масляный канал, который находится между наклонной шайбой с меньшим количеством масла и прижимной пластиной и по которому газообразный хладагент, содержащий незначительное количество масла, направляется во впускную камеру. В результате уменьшается объем циркулирующего масла в гидравлическом контуре.

        A00YYKCC01
        *1 Наклонный диск *2 Вал
        *3 Прижимная пластина *4 Маслоотделитель на валу
        *a Газообразный хладагент - -
    3. Шкив типа DL (демпфер-ограничитель)


      1. В этот шкив встроен демпфер, гасящий колебания крутящего момента двигателя, и ограничительный механизм, защищающий приводной ремень при блокировке компрессора. Когда компрессор блокируется, ограничительный механизм ломает спицы шкива, что приводит к отделению шкива от компрессора со шкивом в сборе.

        A00YYNSC01
        *1 Шкив типа DL (демпфер-ограничитель) *2 Демпфер
        *a Сечение A - A - -
  2. ПРИНЦИП РАБОТЫ


    1. Плавное регулирование производительности


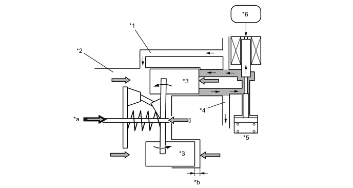
      1. Внутренняя полость картера соединена с всасывающим каналом. Между всасывающим каналом (низкого давления) и нагнетательным каналом (высокого давления) смонтирован регулирующий электромагнитный клапан.

      2. В соответствии с сигналами, которые передает блок управления системой кондиционирования, регулируется продолжительность включения электромагнитного клапана управления.

        A00YYB1C02
        *1 Всасывающий канал *2 Внутренняя полость картера
        *3 Поршень *4 Нагнетательный канал
        *5 Электромагнитный клапан управления *6 Блок управления системой кондиционирования в сборе
      3. Когда электромагнитный клапан управления закрывается (в катушку электромагнита подается ток), создается разность давлений, и давление во внутренней полости картера уменьшается. Затем давление, действующее на правую сторону поршня, становится больше давления, действующего на левую сторону поршня. Это вызывает сжатие пружины и наклон прижимной пластины. В результате ход поршня увеличивается, и производительность растет.

        A00YYI0C02
        *1 Всасывающий канал *2 Внутренняя полость картера
        *3 Поршень *4 Нагнетательный канал
        *5 Электромагнитный клапан управления *6 Блок управления системой кондиционирования в сборе
        *a Давление во внутренней полости картера + усилие пружины *b Ход поршня: Большой
      4. Когда электромагнитный клапан управления открывается (катушка электромагнита обесточивается), разность давлений исчезает. Затем давление, действующее на левую сторону поршня, становится равным давлению, действующему на правую сторону поршня. Как следствие, пружина растягивается, устраняя наклон прижимной пластины. В результате ход поршня и производительность уменьшаются.

        A00YY49C02
        *1 Всасывающий канал *2 Внутренняя полость картера
        *3 Поршень *4 Нагнетательный канал
        *5 Электромагнитный клапан управления *6 Блок управления системой кондиционирования в сборе
        *a Давление во внутренней полости картера + усилие пружины *b Ход поршня: Малый
    2. Регулируемый всасывающий клапан во внутренней полости картера (CS)


      1. Хладагент во внутренней полости картера, из-за которого меняется производительность компрессора, возвращается во впускную камеру через клапан и сжимается компрессором. Регулируемый клапан CS находится между внутренней полостью картера и впускной камерой. При изменении объема хладагента степень открываниия клапана CS понижается, чтобы обеспечить определенное количество хладагента во внутренней полости картера, минимально необходимое для регулирования, снижая таким образом мощность, требуемую для работы компрессора.

        A00YY69C01
        *1 Регулируемый клапан CS - -
        *a Из внутренней полости картера *b К впускной камере
        A00YYR0 Поток хладагента - -
    3. Принцип работы дроссельной заслонки со стороны регулирования всасывания


      1. Давление хладагента на входе действует на верхнюю часть дроссельной заслонки со стороны регулирования всасывания, а давление во внутренней полости картера – на нижнюю часть этой заслонки.

      2. Разность давлений перемещает дроссельную заслонку со стороны регулирования всасывания вверх-вниз, расширяя и сжимая впускной канал хладагента.

      3. Когда поток хладагента максимален, давление хладагента на входе превышает давление во внутренней полости картера. Это заставляет дроссельную заслонку со стороны регулирования всасывания смещаться вниз, полностью открывая впускной канал хладагента и уменьшая сопротивление хладагента на входе.

      4. При регулировании потока хладагента давление во внутренней полости картера становится выше давления хладагента на входе, вследствие чего входная дроссельная заслонка сжимает канал.

      5. Описанное управление подавляет шум, уменьшая пульсации на входе хладагента.

        A00YYJPE01