СИСТЕМА КОНДИЦИОНИРОВАНИЯ


  1. КОНСТРУКЦИЯ


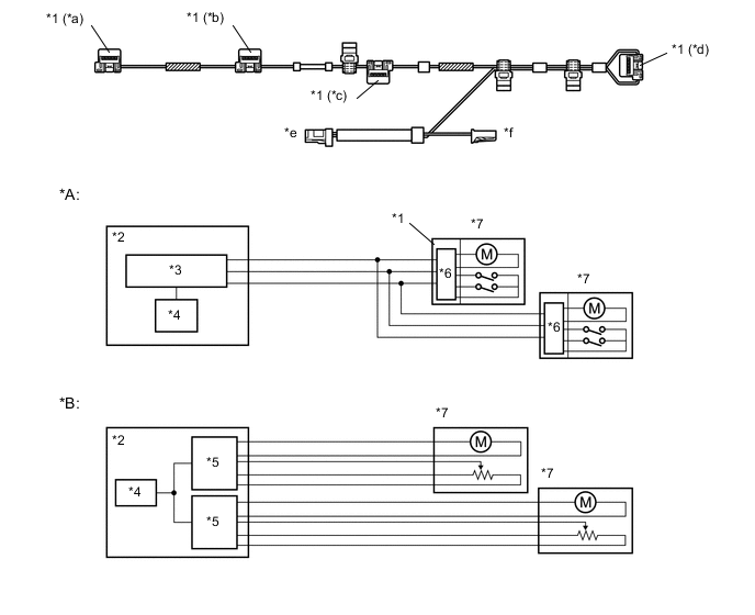
    1. В моделях с автоматическим кондиционером в разъем шины встроена микросхема передачи данных/управления, которая обменивается данными с разъемами всех серводвигателей, приводит в действие серводвигатели и имеет функцию определения положения. Это позволяет объединять в шину жгуты проводов отдельных серводвигателей и обеспечивает более легкую конструкцию с меньшим количеством проводов.

      A00YYHLC01
      *A При наличии разъема шины *B Без разъема шины
      *1 Разъем шины *2 Блок управления системой кондиционирования в сборе
      *3 ИС передачи данных *4 Главный процессор
      *5 ИС управления *6 Микросхема связи/управления
      *7 Серводвигатель - -
      *a К серводвигателю входной заслонки *b К серводвигателю заслонки режима воздухораспределения
      *c К серводвигателю смесительной заслонки (со стороны пассажира) *d К серводвигателю смесительной заслонки (со стороны водителя)
      *e К блоку управления системой кондиционирования *f К термистору кондиционера № 1