СИСТЕМА КОНДИЦИОНИРОВАНИЯ


  1. ОПИСАНИЕ


    1. Система кондиционирования воздуха


      1. В зависимости от модели устанавливается либо автоматический кондиционер, либо кондиционер с ручным управлением.

      2. Автоматическая система кондиционирования обеспечивает независимую регулировку температуры слева и справа для повышения комфорта.

    2. Система дополнительного подогрева пламенного типа


      1. В некоторых режимах работы температура охлаждающей жидкости двигателя остается низкой, что затрудняет обеспечение требуемого теплового действия. По этой причине, чтобы обеспечить необходимое тепловое действие, в зависимости от модели автомобиль оборудуется системой дополнительного подогрева пламенного типа (отопителем с обвязкой в сборе).

      2. Переключатель подогревателя находится на нижней отделочной накладке панели приборов № 2.

  2. ТЕХНИЧЕСКИЕ ХАРАКТЕРИСТИКИ


    1. Система вентиляции и сердцевина отопителя

      Модель Характеристики
      Блок радиатора отопителя в сборе Тип Прямоточный алюминиевый II (SFA-II)
      Размеры (Ш x В x Д)

      201,5 мм x 150 мм x 27 мм

      (7,93 дюйма x 5,90 дюйма x 1,06 дюйма)

      Расстояние между пластинами 1,8 мм (0,07 дюйма)
      Вентилятор с электродвигателем в сборе Тип электродвигателя

      K70-10.5T*1

      K70-10T*2

      Тип вентилятора Semi Sirocco
      Размеры вентилятора (диам. x В) 155 мм x 65 мм (6,10 дюйма x 2,56 дюйма)

      • *1: для моделей с системой кондиционирования с ручным управлением

      • *2: для моделей с автоматическим кондиционером

    2. Система кондиционирования

      Модель Характеристики
      Конденсатор системы кондиционирования в сборе Тип Многопоточный 4-го поколения (MF-IV) со вспомогательным охладителем
      Размеры (Ш x В x Д)

      680 мм x 415 мм x 16 мм

      (26,8 дюйма x 16,3 дюйма x 0,63 дюйма)

      Расстояние между пластинами 2,75 мм (0,11 дюйма)
      Компрессор системы кондиционирования в сборе

      7SES17 (шкив DL)*1

      6SES14 (шкив DL)*2

      7SAS17*3

      Испаритель системы кондиционирования № 1 в сборе Тип электродвигателя RS (поворотная сверхтонкая конструкция)
      Размеры (Ш x В x Д)

      226,1 мм x 241 мм x 38 мм

      (8,90 дюйма x 9,49 дюйма x 1,50 дюйма)

      Расстояние между пластинами 3,0 мм (0,11 дюйма)
      Хладагент Тип HFC -134a
      Заправочный объем 470-530 г (16,6- 18,7 унции)

      • *1: для моделей с 2AR-FE или 3ZR-FE

      • *2: для моделей с двигателем 3ZR-FAE, 2AD-FHV, 2AD-DPF, 2AD-CCO или 2WW

      • *3: для моделей для Кореи с приводом на одну ось

  3. ОСНОВНЫЕ ОСОБЕННОСТИ


    1. Система кондиционирования обладает следующими особенностями:

      Высокая эффективность
      • Нейронно-сетевое управление гарантирует высококачественное управление кондиционером, обеспечивающее максимальный комфорт пассажиров.*1

      • Для очистки воздуха используется воздушный фильтр, удаляющий пыльцу.

      • Вентилятор с ручным управлением имеет 7 шагов регулировки, а вентилятор с автоматическим управлением — 31 шаг, чтобы обеспечить точное регулирование.*1

      • Управление вентилятором имеет 4 шага регулировки.*2

      • В моделях с системой отопления с положительным температурным коэффициентом (РТС) система содержит подогреватель PTC (устройство быстрого подогрева в сборе), который нагревает воздух, проходящий через блок радиатора отопителя в сборе, обеспечивая эффективную работу отопителя.

      • Для повышения холодопроизводительности в некоторых моделях используется трубка дополнительного охлаждения.

      Легкая конструкция*1
      • Жгуты проводов имеют облегченную конструкцию и снабжены разъемом шины со встроенной микросхемой для уменьшения количества проводов.

      • Применение этого разъема позволяет использовать сервоприводы с импульсным управлением.

      Компактность За счет применения электродвигателя вентилятора со встроенным контроллером повышается компактность конструкции.*1
      Прочие

      Для достижения высокой холодопроизводительности одновременно с компактной и легкой конструкцией применяются следующие узлы:


      • Расположенный по центру кондиционер

      • Испаритель с поворотной сверхтонкой конструкцией (RS)

      • Прямоточный алюминиевый радиатор отопителя 2-го поколения (SFA-II)

      • Многопоточный конденсатор со вспомогательным охладителем 4-го поколения (MF-IV)


      • *1: для моделей с автоматическим кондиционером

      • *2: для моделей с системой кондиционирования с ручным управлением

    2. Система дополнительного подогрева пламенного типа


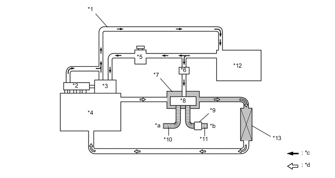
      1. В этой системе между двигателем и блоком радиатора отопителя в сборе помещается дополнительный подогреватель пламенного типа (отопитель с обвязкой в сборе). Воздух и топливо вводятся в камеру сгорания подогревателя, в которой полученная смесь воспламеняется с помощью свечи накаливания. Нагревая охлаждающую жидкость двигателя, обтекающую камеру сгорания, эта система обеспечивает необходимое тепловое действие. Систему можно включить или выключить с помощью выключателя отопителя в сборе, расположенного на нижней отделочной накладке панели приборов № 2.

        A01QF1AC01
        *1 Обратный топливопровод *2 Топливная система Common Rail
        *3 Нагнетающий насос *4 Двигатель
        *5 Отстойник топлива *6 Топливный насос
        *7 Система дополнительного подогрева пламенного типа (отопитель с обвязкой в сборе *8 Камера сгорания
        *9 Глушитель *10 Впускной трубопровод
        *11 Выпускная труба *12 Топливный бак
        *13 Сердцевина отопителя (блок радиатора отопителя в сборе) - -
        *a Воздух на впуске *b Отработавшие газы
        *c Поток топлива *d Поток охлаждающей жидкости двигателя
  4. МЕРЫ ПРЕДОСТОРОЖНОСТИ


    1. Сообщения индикации замка зажигания


      1. Тип замка зажигания, используемый в данной модели, определяется техническими характеристиками автомобиля. Используемые в данном разделе сообщения индикации приведены в таблице.

        Сообщение

        Замок зажигания

        (положение)

        Выключатель зажигания

        (состояние)

        Зажигание выключено LOCK (ЗАБЛОКИР) Off (Выкл) (Lock (Заблокир))
        Замок зажигания в положении ACC ACC Вкл (ACC)
        Зажигание включено Вкл Вкл (IG)
        Пуск двигателя START (ЗАПУСК) Вкл (запуск)