СИСТЕМА ПОДОГРЕВА СИДЕНИЙ

Figure 1. Система подогрева передних сидений

A01QF5KE01

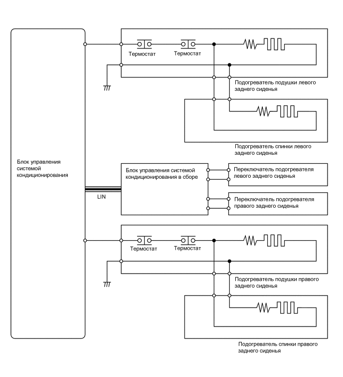
Figure 2. Система подогрева задних сидений

A01QFJNE01