СИСТЕМА SFI


  1. FUNCTION


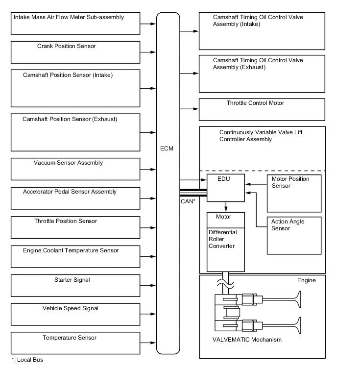
    1. The VALVEMATIC effects coordinate control with the Dual VVT-i. It effects continuously variable control of the amount of intake valve lift, intake valve action angle and intake valve timing, as well as control of the exhaust valve timing, in accordance with the engine conditions. This results in improved engine performance and better fuel economy.

    2. The intake valve action angle varies between 106° CA and 280° CA, and the amount of intake valve lift varies between 1.1 mm (0.043 in.) and 11.5 mm (0.453 in.).

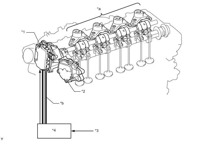
    3. The VALVEMATIC consists of a continuously variable valve lift controller assembly at the actuator and VALVEMATIC mechanism.

    4. Along with the use of this system, a vacuum pump assembly is provided in order to provide the proper brake control vacuum.

      A01JL7AC01
      *1

      Continuously Variable Valve Lift Controller Assembly


      • EDU

      • Motor Position Sensor

      • Action Angle Sensor

      *2 Vacuum Pump Assembly
      *3 Various Sensors *4 ECM
      *a VALVEMATIC Mechanism *b CAN (Local Bus)
    5. The continuously variable valve lift controller assembly operates the VALVEMATIC mechanism in accordance with signals from the ECM in order to control the amount of intake valve lift and the intake valve action angle.

    6. The VALVEMATIC effects coordinate control with the Dual VVT-i and ETCS-i.

      A01JL6YE01
    7. The VALVEMATIC controls the amount of intake valve lift, intake valve action angle, intake valve timing and exhaust valve timing in order to achieve the following effects:

      A01JL8OE01
      Operation State Amount of Valve Lift/Valve Action Angle Objective Effect
      Upon Starting/Stopping Engine Intake valve action angle is fixed at 200°CA.* Reducing overlap to improve compression ratio Improved startability
      At First Idling Intake valve action angle is fixed at 150 or 240°CA. Increasing overlap to increase internal EGR Improved emission control
      Before Engine Warm-up (Except First Idling) Intake valve action angle is fixed at 240°CA. Improving intake air charging efficiency
      • Improved output

      • Better fuel economy

      At Light and Medium Load (After Warmup)
      • Effects coordinated control with Dual VVT-i and ETCS-i.

      • Amount of intake valve lift is variable.

      • Intake valve action angle is variable within a range of 106 to 280° CA.

      Closing the intake valve early to reduce pumping loss Better fuel economy
      At Heavy Load (After Warm-up)
      • Effects coordinated control with Dual VVT-i.

      • Amount of intake valve lift is variable.

      • Intake valve action angle is variable within a range between 230 and 280° CA.

      Closing the intake valve late, thus retarding the injection timing, to improve volumetric efficiency
      • Improved output

      • Better fueleconomy

      • Reduction of exhaust gas temperature

      *: During cranking, if the ECM determines that the engine has started, the intake valve action angle moves to 240°CA.