СИСТЕМА SFI


  1. SYSTEM CONTROL


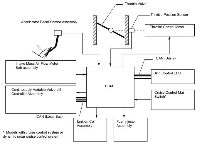
    1. The ETCS-i is used, providing excellent throttle control in all operating ranges.

    2. The ETCS-i uses the ECM to calculate the optimal throttle valve opening that is appropriate for the respective driving condition and uses a throttle control motor to control the opening.

    3. The ETCS-i controls the idle speed, Traction Control (TRC), Vehicle Stability Control (VSC) system, cruise control system*1 and dynamic radar cruise control system*2.


      • *1: Models with cruise control system

      • *2: Models with dynamic radar cruise control system

    4. In case of an abnormal condition, this system switches to the limp mode.

    5. The ETCS-i effects coordinate control with the VALVEMATIC.

      A01V2BPE08