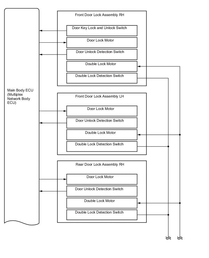
POWER DOOR LOCK CONTROL SYSTEM

Figure 1. RHD Models

A00Z0DWE03
A00Z00XE02
A00Z0AZE01

Figure 2. LHD Models

A00YZZUE03
A00Z07SE01