HYBRID CONTROL SYSTEM


  1. CONSTRUCTION


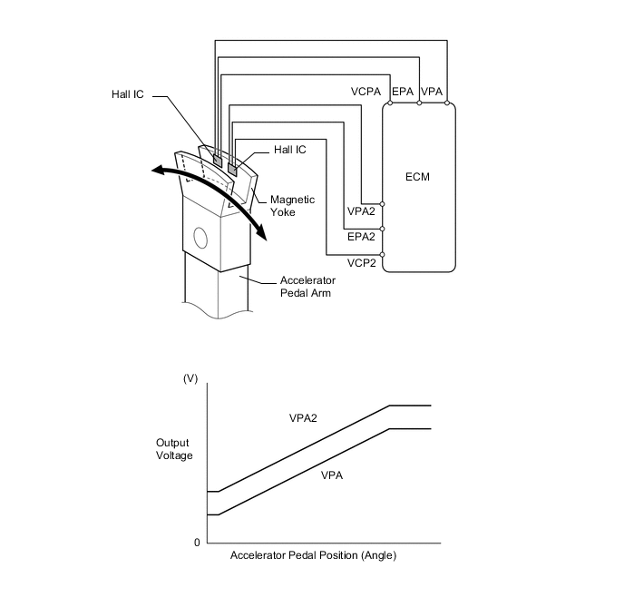
    1. The non-contact type accelerator pedal sensor assembly uses a Hall IC.

    2. The magnetic yoke mounted at the base of the accelerator pedal arm moves around the Hall IC in accrdance with the amount of effort applied to the accelerator pedal. The Hall IC converts the changes in the magnetic flux that occur into electrical signals, and outputs them in the form of accelerator pedal effort to the ECM.

    3. This accelerator pedal sensor assembly includes 2 Hall ICs and circuits for the main and sub signals. It converts the accelerator pedal depressed angles into electric signals with two differing characteristics and outputs them to the ECM.

      A00Z00YC01
      *1 Hall IC *2 Magnetic Yoke
      *3 Accelerator Pedal Arm *4 Sensor Housing
      A00Z0AWE01