HYBRID CONTROL SYSTEM


  1. CONSTRUCTION


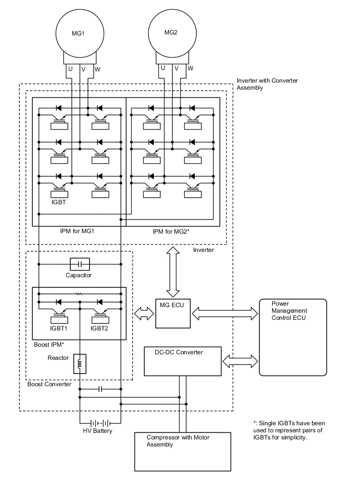
    1. A compact, lightweight inverter with converter assembly, in which the MG ECU, inverter, boost converter, and DC-DC converter are integrated, is used. The inverter and boost converter primarily consist of Intelligent Power Modules (IPMs), a reactor, and capacitor. The IPM is an integrated power module consisting of a signal processor, protective function processor, and Insulated Gate Bipolar Transistors (IGBTs).

    2. The inverter with converter assembly ensures heat dissipation through use of a water-cooled cooling system that is isolated from the engine cooling system.

    3. As a safety measure due to the use of high-voltage electricity, interlock switches are provided, which shut off the system main relays via the power management control ECU when the inverter terminal cover is removed, or the HV battery power cable connector is disconnected.

      A00Z03DC01
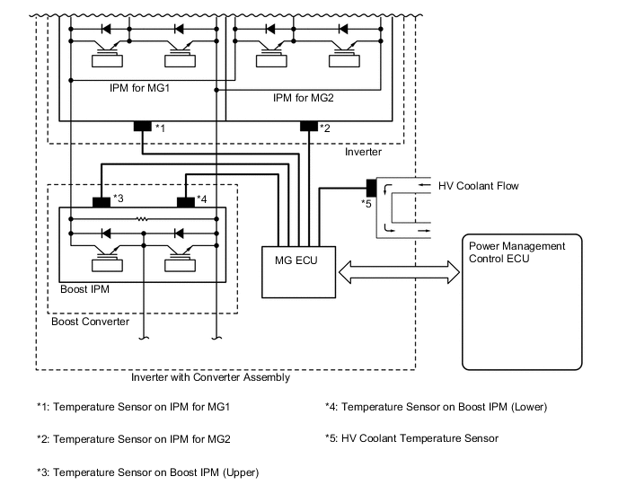
      *1 Case with built-in Capacitor *2 MG ECU
      *3 Intelligent Power Modules (IPMs) *4 Reactor
      *5 DC-DC Converter *6 Interlock Switch (For Power Cable Connector)
      *7 Interlock Switch (For Inverter Terminal Cover) - -
      A00Z06S HV Coolant Inlet A00Z09V HV Coolant Outlet
    4. The inverter uses the IPM to perform switching control. The IPMs for MG1 and MG2 each have a bridge circuit consisting of IGBTs. The IPM for MG1 uses 6 IGBTs, one for each arm, and MG2 uses 6 pairs of IGBTs, two in parallel for each arm.

    5. The boost converter uses a boost IPM to perform switching control, a reactor to act as an inductor, and a capacitor to accumulate and store electricity. The boost IPM uses IGBT2 for boosting voltage, and IGBT1 for reducing voltage.

      A00Z02LC01

      1. MG ECU


        1. The MG ECU is provided in the inverter with converter assembly. In accordance with the signals received from the power management control ECU, the MG ECU controls the inverter and boost converter in order to drive MG1 or MG2 or cause them to generate electricity.

        2. The MG ECU transmits information that is required for vehicle control, such as the atmospheric pressure, inverter temperature and any failure information, to the power management control ECU. The MG ECU receives information that is required for controlling MG1 and MG2, such as the required motive force and the temperature of MG1 and MG2, from the power management control ECU.

      2. Atmospheric Pressure Sensor


        1. An atmospheric pressure sensor is provided on the MG ECU board.

        2. This sensor detects the atmospheric pressure and transmits a signal to the MG ECU to allow corrections that correspond to the usage environment.

      3. Temperature Sensor for Inverter with Converter Assembly


        1. For the inverter with converter assembly, there are 5 different temperature sensors; 2 of them are located at the IPMs for MG1 and MG2, 2 of them are located at the boost converter, and the remaining sensor is located at the HV coolant passage.

        2. These sensors detect the temperatures at areas inside the inverter with converter assembly, and transmit that temperature information to the power management control ECU via the MG ECU. The power management control ECU optimizes the cooling system according to the temperature information, maintaining the output performance of the inverter with converter assembly.

          A00Z07VC01
      4. Inverter Current Sensor


        1. The inverter current sensors detect the amperage of the three-phase alternating current that actuates MG1 and MG2. This actual amperage is used as feedback by the MG ECU.

        2. Current sensors are used for the current sent to the three-phase windings of MG1 and MG2. The current sensors are located in the inverter with converter assembly for the V and W phases of each motor generator. Current that flows through the U phase winding flows through the V phase or W phase winding, thus the U phase amperage can be measured even if a current sensor is not set in the U phase winding.

          A00Z0DQC01