КОНСТРУКЦИЯ КУЗОВА


  1. ФУНКЦИИ


    1. Обеспечение безопасности


      1. Конструкция, амортизирующая удар при лобовых столкновениях


        1. За счет использования конструкции кузова, которая распределяет энергию столкновения между несколькими элементами рамы, энергия столкновения эффективно поглощается, что ослабляет деформацию кабины.

        2. Передние боковые защитные брусья поглощают и распределяют энергию удара с усилителя переднего бампера.

        3. Энергия удара при лобовом столкновении, действующая на верхние боковые защитные брусья передается на поясное усиление передней двери и усиление стойки ветрового стекла благодаря конструкции MICS.

        4. Применяемый в боковом защитном брусе боковой элемент, противодействующий скручивающим усилиям, распределяет энергию удара на передний щиток, внутреннее усиление порога и элементы пола.

          A01KVRHC01
          *1 Усилитель переднего бампера *2 Передний боковой защитный брус
          *3 Боковой элемент, противодействующий скручивающим усилиям *4 Внутреннее усиление порога
          *5 Верхний боковой защитный брус *6 Массивный элемент MICS
          *7 Переднее поясное усиление двери *8 Усилитель передней стойки
          *9 Усиление направляющей - -
          A01KVT7 Удар A01KV4F Путь распространения энергии столкновения
        5. В нижней части переднего щитка располагаются изолирующие панели, которые помогают ослабить травмы ног водителя и переднего пассажира.

          A01KVMBC03
          *1 Изолятор переднего щитка № 3 *2 Изолятор переднего щитка № 2
          *3 Изолятор переднего щитка № 1 - -
      2. Конструкция, амортизирующая удар при боковом столкновении


        1. Для повышения прочности наружное усиление средней стойки, наружное усиление порога, защитный брус передней двери и защитный брус задней двери изготавливается из листовой стали сверхвысокой прочности.

        2. Оптимальное размещение брусьев защиты дверей от удара дает конструкции возможность эффективно передавать нагрузку.

        3. Чтобы обеспечить эффективную передачу ударных нагрузок от защитного бруса на поперечины пола, в поперечинах пола со стороны наружного усиления порога используются перегородки.

        4. Благодаря усилению крыши конструкция обеспечивает передачу нагрузки на противоположную сторону автомобиля при столкновении.

          A01KVCSC01
          *1 Усиление панели крыши *2 Усиление бруса крыши
          *3 Наружное усиление средней стойки *4 Защитный брус двери
          *5 Наружное усиление порога *6 Перегородка
          *7 Поперечина центрального пола - -
          *a Сечение A - A *b Сечение B - B
          A01KVT7 Удар A01KV4F Путь распространения энергии столкновения
    2. Снижение ущерба, наносимого пешеходу


      1. Чтобы ослабить ударную нагрузку на ноги пешехода при столкновении с ним, предусмотрены передний поглотитель энергии удара и передний нижний поглотитель энергии удара.

        Figure 1. Для моделей с кузовом типа "седан" или "хэтчбэк"

        A01KV4SC02
        *1 Передний поглотитель энергии удара *2 Усилитель переднего бампера
        *3 Передний нижний поглотитель энергии удара - -
        *a Сечение A - A - -

        Figure 2. Для моделей с кузовом типа "седан"

        A01KV5WC01
        *1 Передний поглотитель энергии удара *2 Усилитель переднего бампера
        *3 Передний нижний поглотитель энергии удара - -
        *a Сечение A - A - -
      2. Для амортизации удара под капотом размещается каркасная конструкция с продольными ребрами.

      3. Пространство между панелью капота и двигателем имеет сминаемую структуру, благодаря чему во время столкновения капот и усиление, защищающее от вмятин, легко сминается.

        A01KVCUC02
        *1 Внутренняя панель капота *2 Усиление капота
        *a Сечение A - A - -
      4. Для крепления панели переднего крыла применяется ударопоглощающий кронштейн, который поглощает энергию удара, действующего на голову пешехода при столкновении, тем самым ослабляя ударное воздействие на голову.

        Figure 3. Для моделей с кузовом типа "седан" или "хэтчбэк"

        A01KVURC02
        *1 Ударопоглощающий кронштейн - -

        Figure 4. Для моделей с кузовом типа "седан"

        A01KVHUC01
        *1 Ударопоглощающий кронштейн - -
    3. Аэродинамика


      1. Ступенчатая крыша, имеющая изогнутую поверхность, используется для уменьшения лобовой площади, снижения аэродинамического сопротивления и повышения топливной экономичности. (для моделей с кузов типа "универсал" и "хэтчбэк" без системы люка)

        Figure 5. Для моделей с кузовом типа "хэтчбэк"

        A01KV7HC01
        *a Ступенчатая крыша - -

        Figure 6. Для моделей с кузовом типа "универсал"

        A01KV30C01
        *a Ступенчатая крыша - -
      2. В задней части крыши установлен задний спойлер крыши, который исключает попадание потока воздуха, стекающего с крыши, в зону позади автомобиля, что способствует снижению аэродинамического сопротивления и повышению топливной экономичности. (для моделей с кузовом типа "универсал" или "хэтчбэк")

        Figure 7. Для моделей с кузовом типа "хэтчбэк"

        A01KVQRC03
        *1 Задний спойлер крыши - -
        A01KV4F Поток воздуха - -

        Figure 8. Для моделей с кузовом типа "универсал"

        A01KV88C01
        *1 Задний спойлер крыши - -
        A01KV4F Поток воздуха - -
      3. Под днищем кузова размещены различные детали, регулирующие направление воздушного потока. Кроме того, предусмотрены нижние крышки, выравнивающие днище кузова и обеспечивающие превосходные аэродинамические характеристики.

      4. Подкузовная панель пола и задняя подкузовная панель имеют гребневидную форму, что повышает КПД диффузора и тем самым обеспечивает устойчивость.

        Figure 9. Для моделей с кузовом типа "хэтчбэк"

        A01KVMOC02
        *1 Передний нижний поглотитель энергии удара *2 Передние обтекатели (накладка удлинителя отверстия левого переднего колеса)
        *3 Передние обтекатели (накладка удлинителя отверстия правого переднего колеса) *4 Защита картера двигателя № 1
        *5 Передняя защита картера двигателя № 3 *6 Левая панель переднего пола
        *7 Левая центральная панель переднего пола *8 Правая панель переднего пола
        *9 Правая центральная панель переднего пола *10 Накладка левого бокового защитного бруса заднего пола
        *11 Задние обтекатели (накладка арки левого заднего колеса) *12 Накладка правого бокового защитного бруса заднего пола
        *13 Задние обтекатели (накладка арки правого заднего колеса) *14 Подкузовная панель пола № 2
        *a Гребневидная форма - -

        Figure 10. Для моделей с кузовом типа "универсал"

        A01KVN9C01
        *1 Передний нижний поглотитель энергии удара *2 Передние обтекатели (накладка удлинителя отверстия левого переднего колеса)
        *3 Передние обтекатели (накладка удлинителя отверстия правого переднего колеса) *4 Защита картера двигателя № 1
        *5 Передняя защита картера двигателя № 3 *6 Левая панель переднего пола
        *7 Левая центральная панель переднего пола *8 Правая панель переднего пола
        *9 Правая центральная панель переднего пола *10 Накладка левого бокового защитного бруса заднего пола
        *11 Задние обтекатели (накладка арки левого заднего колеса) *12 Накладка правого бокового защитного бруса заднего пола
        *13 Задние обтекатели (накладка арки правого заднего колеса) *14 Подкузовная панель пола № 2
        *a Гребневидная форма - -

        Figure 11. Для моделей с кузовом типа "седан"

        A01KVHMC01
        *1 Передний нижний поглотитель энергии удара *2 Передние обтекатели (накладка удлинителя отверстия левого переднего колеса)
        *3 Передние обтекатели (накладка удлинителя отверстия правого переднего колеса) *4 Защита картера двигателя № 1
        *5 Передняя защита картера двигателя № 3 *6 Левая панель переднего пола
        *7 Левая центральная панель переднего пола *8 Правая панель переднего пола
        *9 Правая центральная панель переднего пола *10 Накладка левого бокового защитного бруса заднего пола
        *11 Задние обтекатели (накладка арки левого заднего колеса) *12 Накладка правого бокового защитного бруса заднего пола
        *13 Задние обтекатели (накладка арки правого заднего колеса) *14 Подкузовная панель пола № 1
        *15 Подкузовная панель пола № 2 - -
        *a Гребневидная форма - -
  2. КОНСТРУКЦИЯ


    1. Легкий кузов повышенной жесткости


      1. За счет широкого применения высокопрочной и сверхвысокопрочной листовой стали в каркасе кузова автомобиля удалось создать легкий, но вместе с тем прочный кузов, обеспечивающий высокий уровень безопасности при ударах, курсовую устойчивость и низкий уровень шума.

        Figure 12. Для моделей с кузовом типа "хэтчбэк"

        A01KV38C02
        A01KV9B Сталь высокой прочности A01KVF0 Сталь сверхвысокой прочности

        Figure 13. Для моделей с кузовом типа "хэтчбэк"

        A01KVOVC01
        A01KV9B Сталь высокой прочности A01KVF0 Сталь сверхвысокой прочности

        Figure 14. Для моделей с кузовом типа "универсал"

        A01KV9IC01
        A01KV9B Сталь высокой прочности A01KVF0 Сталь сверхвысокой прочности

        Figure 15. Для моделей с кузовом типа "универсал"

        A01KVENC01
        A01KV9B Сталь высокой прочности A01KVF0 Сталь сверхвысокой прочности

        Figure 16. Для моделей с кузовом типа "седан"

        A01KV48C01
        A01KV9B Сталь высокой прочности A01KVF0 Сталь сверхвысокой прочности

        Figure 17. Для моделей с кузовом типа "седан"

        A01KVFKC01
        A01KV9B Сталь высокой прочности A01KVF0 Сталь сверхвысокой прочности
    2. Конструкция кузова


      1. Для соединения опор левой и правой передних пружин используется наружная верхняя панель кожуха в сборе с плавной диаметральной линией, что повышает поперечную жесткость, и обеспечивает надлежащие показатели жесткости кузова и входной точки передней подвески.

      2. Жесткость входной части передней подвески обеспечивается наличием косынок на верхней панели кожуха.

        A01KVMZC02
        *1 Наружная верхняя панель кожуха в сборе *2 Косынка
      3. Удлинительные панели арок задних колес и нижние косынки рамы двери багажного отделения используются для соединения панели заднего пола и проема двери, улучшая крутильную жесткость. (только для моделей с кузовом типа "универсал")

        A01KV9YC01
        *1 Проем двери багажного отделения *2 Удлинительная панель арки заднего колеса
        *3 Нижняя косынка рамы двери багажного отделения - -
    3. Cтальной лист с антикоррозионным покрытием


      1. В местах, показанных на рисунке, устанавливаются стальные листы с антикоррозионным покрытием.

        Figure 18. Для моделей с кузовом типа "хэтчбэк"

        A01KV2GC01
        A01KV9B Сталь с антикоррозионным покрытием - -

        Figure 19. Для моделей с кузовом типа "хэтчбэк"

        A01KV3EC01
        A01KV9B Сталь с антикоррозионным покрытием - -

        Figure 20. Для моделей с кузовом типа "универсал"

        A01KVN4C01
        A01KV9B Сталь с антикоррозионным покрытием - -

        Figure 21. Для моделей с кузовом типа "универсал"

        A01KVM9C01
        A01KV9B Сталь с антикоррозионным покрытием - -

        Figure 22. Для моделей с кузовом типа "седан"

        A01KVH4C01
        A01KV9B Сталь с антикоррозионным покрытием - -

        Figure 23. Для моделей с кузовом типа "седан"

        A01KVO6C01
        A01KV9B Сталь с антикоррозионным покрытием - -
    4. Воск и герметик


      1. Для повышения стойкости к коррозии передний край капота, а также края нижних частей дверей и петля крышки наливной горловины топливного бака покрываются воском. На окантовку переднего края капота, панелей передних дверей и двери багажного отделения, а также крышки наливной горловины топливного бака наносится герметик.

    5. Грунтовочное покрытие


      1. На днище кузова, внутренние поверхности колесных арок и прочие поверхности, подверженные ударам гравия, наносится покрытие из поливинилхлорида, что повышает коррозионную стойкость этих участков.

    6. Нанесение антигравийного покрытия


      1. Для защиты лакокрасочного покрытия от сколов на панель капота наносится антигравийное покрытие.

      2. На наружную заднюю боковую панель непосредственно позади задней двери наклеивается антигравийная лента, которая защищает лакокрасочное покрытие от снега со льдом и гравия, а также обеспечивает высокую коррозионную стойкость.

    7. Кузов с пониженным уровнем вибрации и шума


      1. На переднем щитке со стороны моторного отсека и со стороны салона предусмотрены шумоизоляторы, до минимума снижающие проникновение шума двигателя и дорожного шума в салон.

        A01KVOPC01
        *A Моторный отсек *B Салон
        *1 Наружная звукоизоляция переднего щитка *2 Внутренний изолятор переднего щитка
      2. На панель крыши и стойки нанесен герметизирующий материал, ослабляющий шумы ветра и дорожный шум. (для моделей с кузовом типа "хэтчбэк")

        Figure 24. Для моделей с кузовом типа "хэтчбэк"

        A01KV6VC01
        *a Сечение A - A *b Сечение B - B
        *c Сечение C - C *d Сечение D - D
        *e Сечение E - E *f Сечение F - F
        *g Сечение G - G *h Сечение H - H
        A01KVAS Уплотнительный материал - -
      3. На панель крыши и стойки нанесен герметизирующий материал, ослабляющий шумы ветра и дорожный шум. (для моделей с кузовом типа "универсал")

        Figure 25. Для моделей с кузовом типа "универсал"

        A01KVOZC01
        A01KV9B Уплотнительный материал - -
      4. Для уменьшения шума ветра и движения по дороге стойки кузова и облицовка двери покрываются звукоизоляционным материалом. (для моделей с кузовом типа "универсал")

        Figure 26. Для моделей с кузовом типа "универсал"

        A01KVPMC01
        *a Вид в точке A *b Сечение B - B
        A01KV9B Звукопоглощающий материал - -
      5. На панель крыши и стойки нанесен герметизирующий материал, ослабляющий шумы ветра и дорожный шум. (для моделей с кузовом типа "седан")

        Figure 27. Для моделей с кузовом типа "седан"

        A01KVAKC01
        A01KV9B Уплотнительный материал - -
      6. Для уменьшения шума ветра и движения по дороге стойки кузова и облицовка двери покрываются звукоизоляционным материалом. (для моделей с кузовом типа "универсал")

        Figure 28. Для моделей с кузовом типа "седан"

        A01KVM3C01
        *a Вид в точке A - -
        A01KV9B Звукопоглощающий материал - -
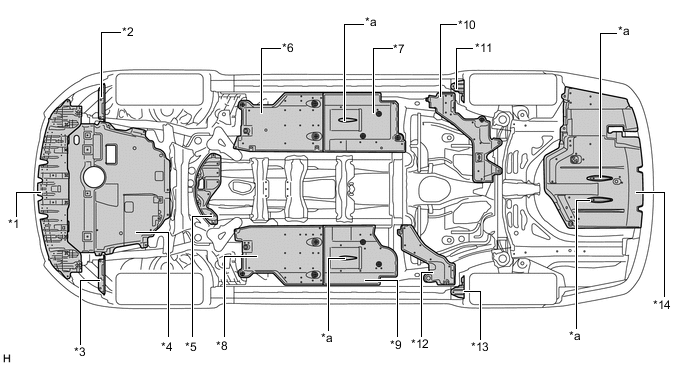
      7. Для уменьшения вибрации и шума в салоне пол покрывается демпфирующим материалом.

        Figure 29. Для моделей с кузовом типа "хэтчбэк"

        A01KVIHC01
        A01KVAS Демпфирующее покрытие - -

        Figure 30. Для моделей с кузовом типа "универсал"

        A01KVQTC01
        A01KVAS Демпфирующее покрытие - -

        Figure 31. Для моделей с кузовом типа "седан"

        A01KVPSC01
        A01KVAS Демпфирующее покрытие - -
    8. Запасные части для экономичного ремонта


      1. Для упрощения ремонта и замены деталей усиление заднего бампера соединяется с задним боковым защитным брусом с помощью болтов.

        Figure 32. Для моделей с кузовом типа "седан" или "хэтчбэк"

        A01KVR9C01
        *1 Усилитель заднего бампера - -

        Figure 33. Для моделей с кузовом типа "седан"

        A01KVMAC01
        *1 Усилитель заднего бампера - -