СИСТЕМА ОСВЕЩЕНИЯ


  1. ПРИНЦИП РАБОТЫ


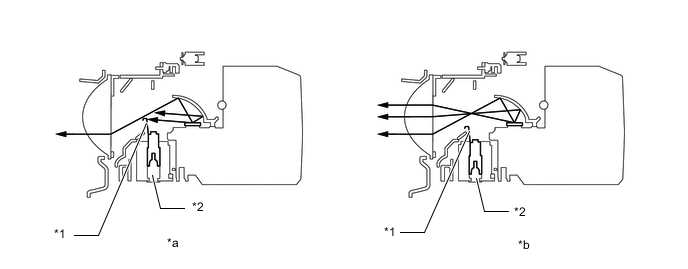
    1. Функция двойного действия


      1. Когда выбран ближний свет фар, нижняя зона освещения лампы блокируется шторкой, и используется только верхняя зона освещения.

      2. Когда выбран дальний свет фар, привод фары сдвигает шторку вниз, чтобы можно было использовать нижнюю зону освещения. Таким образом, при включении дальнего света фар увеличивается зона освещения, и улучшается видимость.

      3. Функцией двойного действия управляет главный ЭБУ кузова (бортовой ЭБУ сети мультиплексной связи). Главный ЭБУ кузова получает сигнал включения дальнего света фар от переключателя ближнего/дальнего света фар и включает встроенный в фару привод, чтобы опустить шторку.

        A01KDW8C01
        *1 Шторка *2 Привод фары
        *a Фары ближнего света *b Фары дальнего света

        Figure 1. Светодиодные фары

        A01KE1CC01
        *1 Шторка *2 Привод фары
        *a Фары ближнего света *b Фары дальнего света