СИСТЕМА ЗАПУСКА


  1. ОПИСАНИЕ


    1. На моделях с системой остановки и запуска используется стартер типа PE70.

    2. На моделях без системы остановки и запуска используется стартер типа PA64S.

    3. На моделях, предназначенных для эксплуатации в холодном климате, используется стартер типа PA64L.

    4. Стартеры типа PE70, PA64S и PA64L представляют собой стартеры с планетарным редуктором.

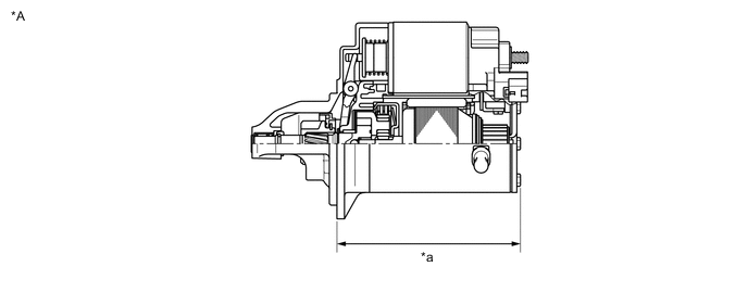
      A00XR70C01
      *A Стартер типа PE70 - -
      *a Длина - -
      A00XRBNC01
      *A Стартер типа PA64S - -
      *a Длина - -
      A00XRDIC01
      *A Стартер типа PA64L - -
      *a Длина - -
  2. ТЕХНИЧЕСКИЕ ХАРАКТЕРИСТИКИ

    Тип стартера PE70 (с планетарным редуктором)*1 PA64S (с планетарным редуктором)*2 PA64L (с планетарным редуктором)*3
    Длина мм (дюймы) 166,9 (6,57) 121,15 (4,77) 121,15 (4,77)
    Масса г (фунт.) 3550 (7,83) 2200 (4,85) 2300 (5,07)
    Номинальное напряжение В 12 12 12
    Номинальная мощность кВт 1,6 1,0 1,2
    Направление вращения (при наблюдении со стороны шестерни) По часовой стрелке По часовой стрелке По часовой стрелке

    • *1: для моделей с системой запуска и останова

    • *2: для моделей без системы запуска и останова

    • *3: для моделей, предназначенных для эксплуатации в холодном климате