СИСТЕМА СМАЗКИ


  1. CONSTRUCTION


    1. The trochoidal type oil pump is driven by the crankshaft, and fits compactly inside the timing chain cover.

      A00XRA5C01
      *1 Oil Pressure Switching Valve *2 Oil Pump
      *3 Relief Valve - -
  2. OPERATION


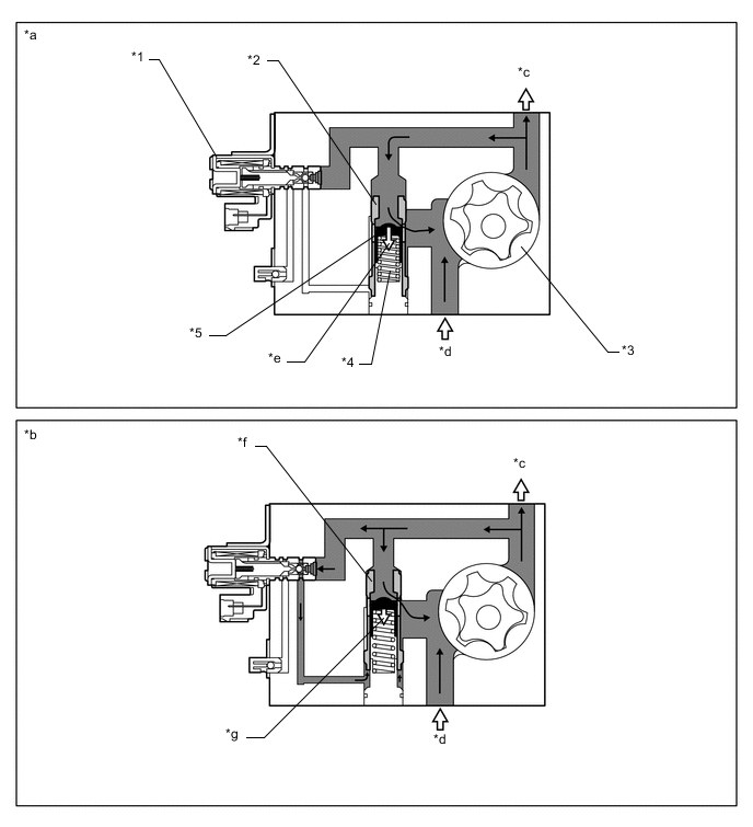
    1. 2-stage Hydraulic System


      1. A 2-stage hydraulic system that allows the engine oil pressure to be controlled according to the vehicle driving conditions has been adopted. Therefore, energy loss due to the driving of the oil pump has been reduced and fuel economy has been improved.

        High pressure operation As oil is not supplied to the back of the sleeve valve, the oil discharge pressure pushes the sleeve valve downward and lowers the relief hole position. Therefore, the valve opening pressure becomes high.
        Low pressure operation As oil is supplied to the back of the sleeve valve, the sleeve valve is pushed upward and the relief hole position is raised. Therefore, the valve opening pressure becomes low.
        A00XRG4E02
        A00XRJMC03
        *1 Oil Pressure Switching Valve (OSV) *2 Sleeve Valve
        *3 Oil Pump *4 Relief Valve Spring
        *5 Relief Valve - -
        *a High Pressure (OSV : Off) *b Low Pressure (OSV : On)
        *c to Oil Filter *d from Oil Pan
        *e Oil pressure to depress the relief valve: HIGH *f Relief valve pushed up by back pressure
        *g Oil pressure to depress the relief valve: LOW - -